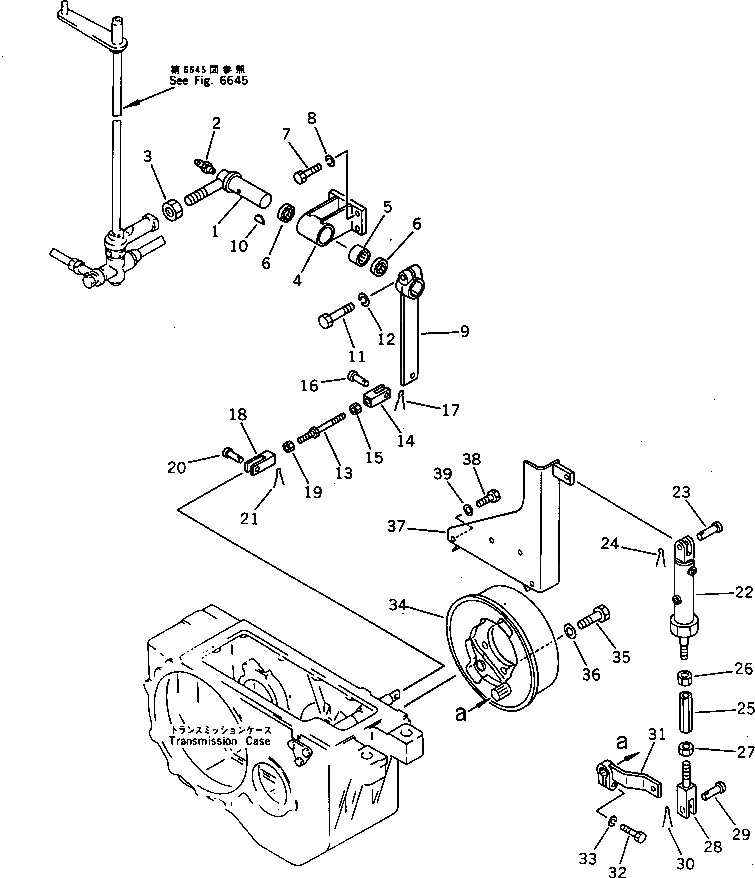
Запчасти Komatsu PW60S-3 ВЫС./НИЗ. РЫЧАГ УПРАВЛ-Я И МЕХАНИЗМ (/) СИСТЕМА УПРАВЛЕНИЯ

Схема запчастей Komatsu PW60S-3 - ВЫС./НИЗ. РЫЧАГ УПРАВЛ-Я И МЕХАНИЗМ (/) СИСТЕМА УПРАВЛЕНИЯ
FIT
1:1
100%

Артикул

Название

Примечание

Количество

1

20B-43-32231

LEVER

2

07020-00000

FITTING,GREASE

3

01583-12012

NUT

4

20B-43-32220

BRACKET

5

06120-03038

BEARING

6

06122-03004

SEAL

7

01010-51025

BOLT

8

01602-21030

WASHER,SPRING

9

20B-43-32240

LEVER

10

04010-00732

KEY

11

01010-51245

BOLT

12

01602-21236

WASHER,SPRING

13

04248-31013

ROD

14

04220-21040

YOKE,L.H. THREAD

15

01508-41006

NUT,L.H. THREAD

16

04205-11028

PIN

17

04050-03015

PIN,COTTER

18

175-43-C1130

YOKE

19

01580-11008

NUT

20

04205-10828

PIN

21

04050-02012

PIN,COTTER

22

20B-34-31200

CYLINDER ASS'Y

23

04205-11235

PIN

24

04050-13022

PIN,COTTER

25

20G-34-11150

BUCKLE

26

01582-11411

NUT

27

01508-41408

NUT,L.H. THREAD

28

20B-34-31120

ROD

29

04205-11235

PIN

30

04050-13022

PIN,COTTER

31

20B-34-31110

LEVER

32

01010-50835

BOLT

33

01602-20825

WASHER,SPRING

34

20B-32-11000

PARKING BRAKE A.

35

01010-51435

BOLT

36

01643-31445

WASHER

37

20B-34-31150

BRACKET

38

01010-51025

BOLT

39

01643-31032

WASHER

Выбрано товаров: 39