Запчасти Komatsu PW75R-2 КАБИНА (/) ЧАСТИ КОРПУСА И КАБИНА

Схема запчастей Komatsu PW75R-2 - КАБИНА (/) ЧАСТИ КОРПУСА И КАБИНА
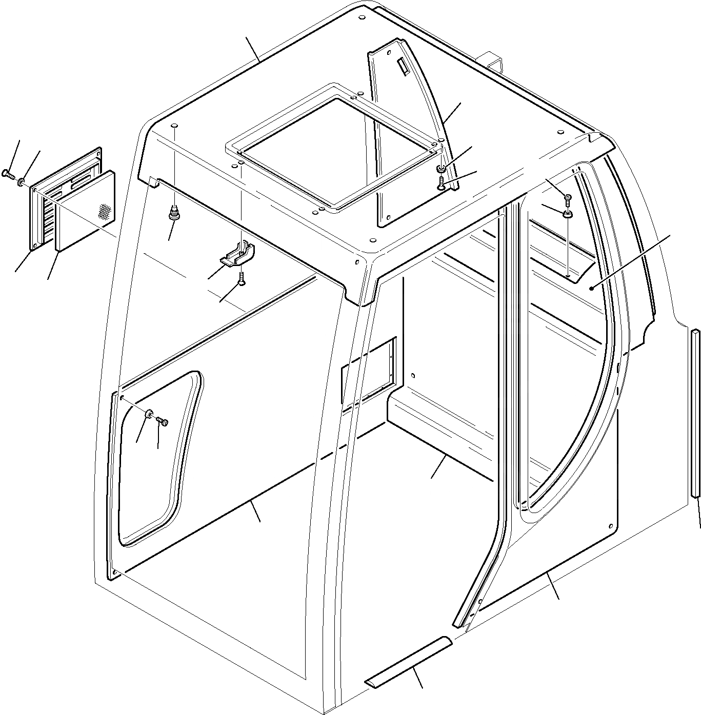
5
17
3
4
8
7
12
8
16
6
1
10
2
9
8
12
15
11
18
13
14
FIT
1:1
100%

Артикул

Название

Примечание

Количество

\0

21D-54-12303

OPERATOR'S CAB, ASSY.

1

21D-54-14930

GRATING

2

21D-54-14940

FILTER

3

21D-09-15820

SCREW

4

21D-09-73490

SPRING WASHER

5

21D-54-14980

PANEL, UNDER-ROOF

6

21D-54-14180

PUSH-BUTTON

7

21D-09-16440

SCREW

8

21D-54-13290

WASHER

9

21D-09-15210

SCREW

10

21D-54-14960

CUP

11

21D-54-14970

COVER, LATERAL, R.H.

12

21D-09-16440

SCREW

13

21D-54-14950

COVER, L.H.

14

21D-54-13840

PROFILE

15

21D-54-14990

PANEL, REAR, LOWER

16

21D-54-15110

PANEL, REAR, UPPER

17

21D-54-15120

COVER, R.H.

18

22E-54-11730

GASKET

Выбрано товаров: 19