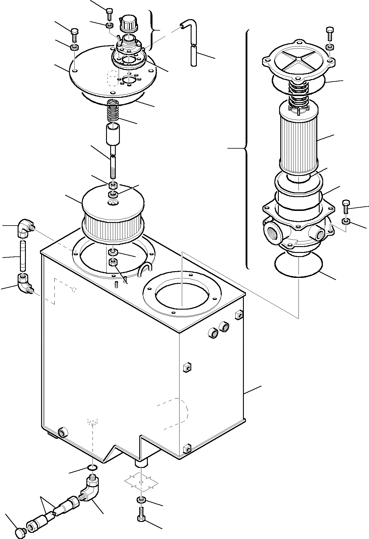
Запчасти Komatsu PW95R-2 ГИДР. БАК. УПРАВЛ-Е РАБОЧИМ ОБОРУДОВАНИЕМ

Схема запчастей Komatsu PW95R-2 - ГИДР. БАК. УПРАВЛ-Е РАБОЧИМ ОБОРУДОВАНИЕМ
18
13
19
17
14
16
11
15
22
12
10
21
9
20
24
6
3
23
8
25
4
26
5
7
22
4
6
1
28
29
3
30
27
2
FIT
1:1
100%

Артикул

Название

Примечание

Количество

1

21D-60-11112

HYDRAULIC TANK

2

01010-51230

BOLT

3

01643-31232

WASHER

4

22E-60-11120

ELBOW

5

22E-60-11130

PIPE

6

21D-09-21460

NUT

7

21D-09-86220

GASKET

8

226-60-11120

INTAKE OIL FILTER

9

22E-60-11150

FILTER ROD

10

21D-09-86650

SPRING

11

21D-60-11260

FLANGE

12

21D-60-11270

O-RING

13

01010-51025

BOLT

14

01643-31032

SPRING WASHER

15

22E-60-11170

TANK

16

21D-03-11280

HOSE

17

22E-60-11180

OIL PLUG, ASSY.

18

BOLT

19

WASHER

20

22E-60-11202

FILTER

21

22E-60-11211

CARTRIDGE

\21

22E-60-11250

KIT, GASKET

22

O-RING

23

O-RING

24

O-RING

25

01010-51025

BOLT

26

01643-31032

SPRING WASHER

27

21D-09-51700

ELBOW

28

21D-09-69970

O-RING

29

21D-09-98740

HOSE

30

20M-973-R121

PLUG

Выбрано товаров: 31