Запчасти Komatsu GD200A-1 АККУМУЛЯТОР КОМПОНЕНТЫ ДВИГАТЕЛЯ И ЭЛЕКТРИКА

Схема запчастей Komatsu GD200A-1 - АККУМУЛЯТОР КОМПОНЕНТЫ ДВИГАТЕЛЯ И ЭЛЕКТРИКА
FIT
1:1
100%

Артикул

Название

Примечание

Количество

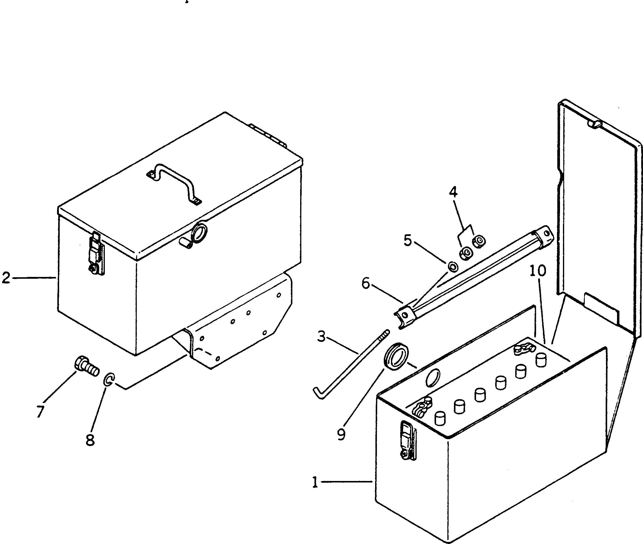
1

237-06-12112

BOX,L.H.

SN: 2001-UP

1шт.

2

237-06-12212

BOX,R.H.

SN: 2001-UP

1шт.

3

236-06-22150

ROD

SN: 2001-UP

4шт.

4

01580-01008

NUT

SN: 2001-UP

8шт.

5

01640-21016

WASHER

SN: 2001-UP

4шт.

6

237-06-12120

SUPPORT

SN: 2001-UP

2шт.

7

01010-31020

BOLT

SN: 2001-UP

12шт.

8

01602-01030

WASHER,SPRING

SN: 2001-UP

12шт.

9

08037-03614

GROMMET

SN: 2001-UP

2шт.

10

08000-31212

BATTERY (115E41R)

SN: 2001-UP

2шт.

Выбрано товаров: 10