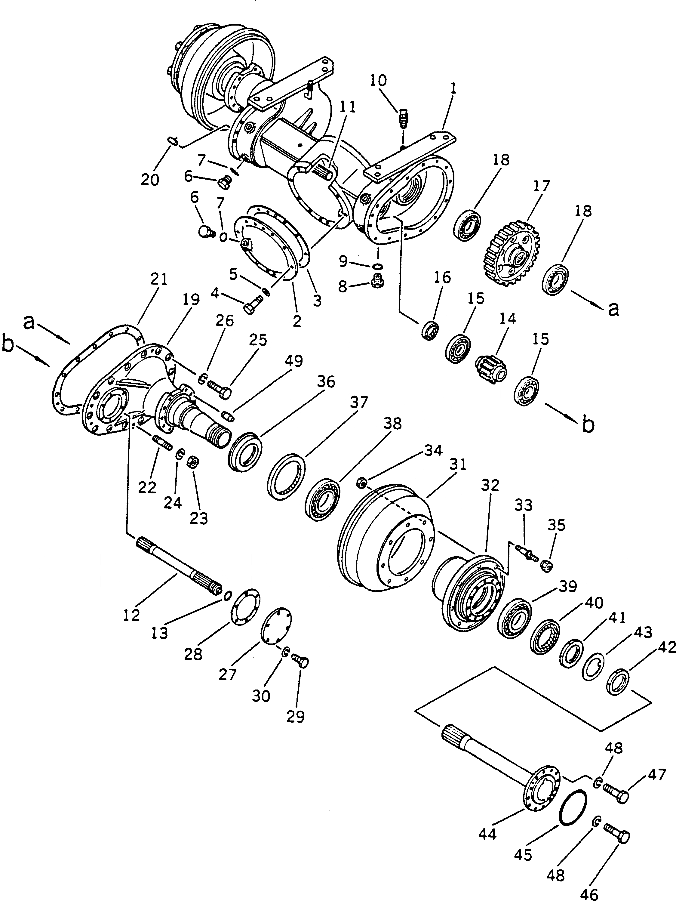
Запчасти Komatsu GD200A-1 КОНЕЧНАЯ ПЕРЕДАЧА (/) СДВОЕНН. ПРИВОД И КОЛЕСА

Схема запчастей Komatsu GD200A-1 - КОНЕЧНАЯ ПЕРЕДАЧА (/) СДВОЕНН. ПРИВОД И КОЛЕСА
FIT
1:1
100%

Артикул

Название

Примечание

Количество

1

236-24-21111

CASE

SN: 2001-UP

1шт.

2

236-24-21120

COVER

SN: 2001-UP

1шт.

3

236-24-21140

GASKET (KIT)

SN: 2001-UP

1шт.

4

01010-31020

BOLT

SN: 2001-UP

12шт.

5

01602-01030

WASHER,SPRING

SN: 2001-UP

12шт.

6

07040-12414

PLUG

SN: 2001-UP

3шт.

7

07002-12434

O-RING (KIT)

SN: 2001-UP

3шт.

8

07044-02412

PLUG

SN: 2001-UP

3шт.

9

07002-12434

O-RING (KIT)

SN: 2001-UP

3шт.

10

07030-01030

BREATHER

SN: 2001-UP

3шт.

11

236-24-22130

SHAFT,L.H.

SN: 2001-UP

1шт.

12

236-24-22140

SHAFT,R.H.

SN: 2001-UP

1шт.

13

07000-03045

O-RING (KIT)

SN: 2001-UP

2шт.

14

236-24-22110

GEAR

SN: 2001-UP

2шт.

15

06034-00213

BEARING

SN: 2001-UP

4шт.

16

07011-00060

SEAL,OIL (KIT)

SN: 2001-UP

2шт.

17

236-24-22120

GEAR

SN: 2001-UP

2шт.

18

06000-06017

BEARING

SN: 2001-UP

4шт.

18

236-24-00010

HOUSING ASS'Y

SN: 2001-UP

2шт.

19

236-24-21130

HOUSING

SN: 2001-UP

1шт.

20

04020-01638

PIN,DOWEL

SN: 2001-UP

2шт.

21

236-24-21150

GASKET (KIT)

SN: 2001-UP

2шт.

22

01124-51640

STUD

SN: 2001-UP

8шт.

23

01580-01613

NUT

SN: 2001-UP

8шт.

24

01602-01648

WASHER,SPRING

SN: 2001-UP

8шт.

25

01010-31640

BOLT

SN: 2001-UP

20шт.

26

01602-01648

WASHER,SPRING

SN: 2001-UP

24шт.

27

236-24-21160

COVER

SN: 2001-UP

2шт.

28

236-24-21170

GASKET (KIT)

SN: 2001-UP

2шт.

29

01010-31025

BOLT

SN: 2001-UP

12шт.

30

01602-01030

WASHER,SPRING

SN: 2001-UP

12шт.

31

236-24-13121

DRUM

SN: 2001-UP

2шт.

|32

236-24-00020

HUB ASS'Y

SN: 2001-UP

2шт.

32

236-24-13112

HUB

SN: 2001-UP

1шт.

33

236-24-11240

BOLT

SN: 2001-UP

8шт.

34

01582-12016

NUT

SN: 2001-UP

8шт.

35

236-24-23120

NUT

SN: 2001-UP

16шт.

36

236-24-21260

RING

SN: 2001-UP

2шт.

37

236-24-21250

SEAL,OIL (KIT)

SN: 2001-UP

2шт.

38

06002-30220

BEARING

SN: 2001-UP

2шт.

39

06002-30218

BEARING

SN: 2001-UP

2шт.

40

236-24-21240

SEAL,OIL (KIT)

SN: 2001-UP

2шт.

41

236-24-21180

NUT

SN: 2001-UP

2шт.

42

236-24-21220

NUT

SN: 2001-UP

2шт.

43

236-24-21230

WASHER

SN: 2001-UP

2шт.

44

236-24-11133

SHAFT

SN: 2001-UP

2шт.

45

236-24-13140

O-RING (KIT)

SN: 2001-UP

2шт.

46

01090-31450

BOLT

SN: 2001-UP

4шт.

47

01050-31435

BOLT

SN: 2001-UP

20шт.

48

01602-01442

WASHER,SPRING

SN: 2001-UP

24шт.

49

233-23-22320

PIN

SN: 2001-UP

4шт.

Выбрано товаров: 51