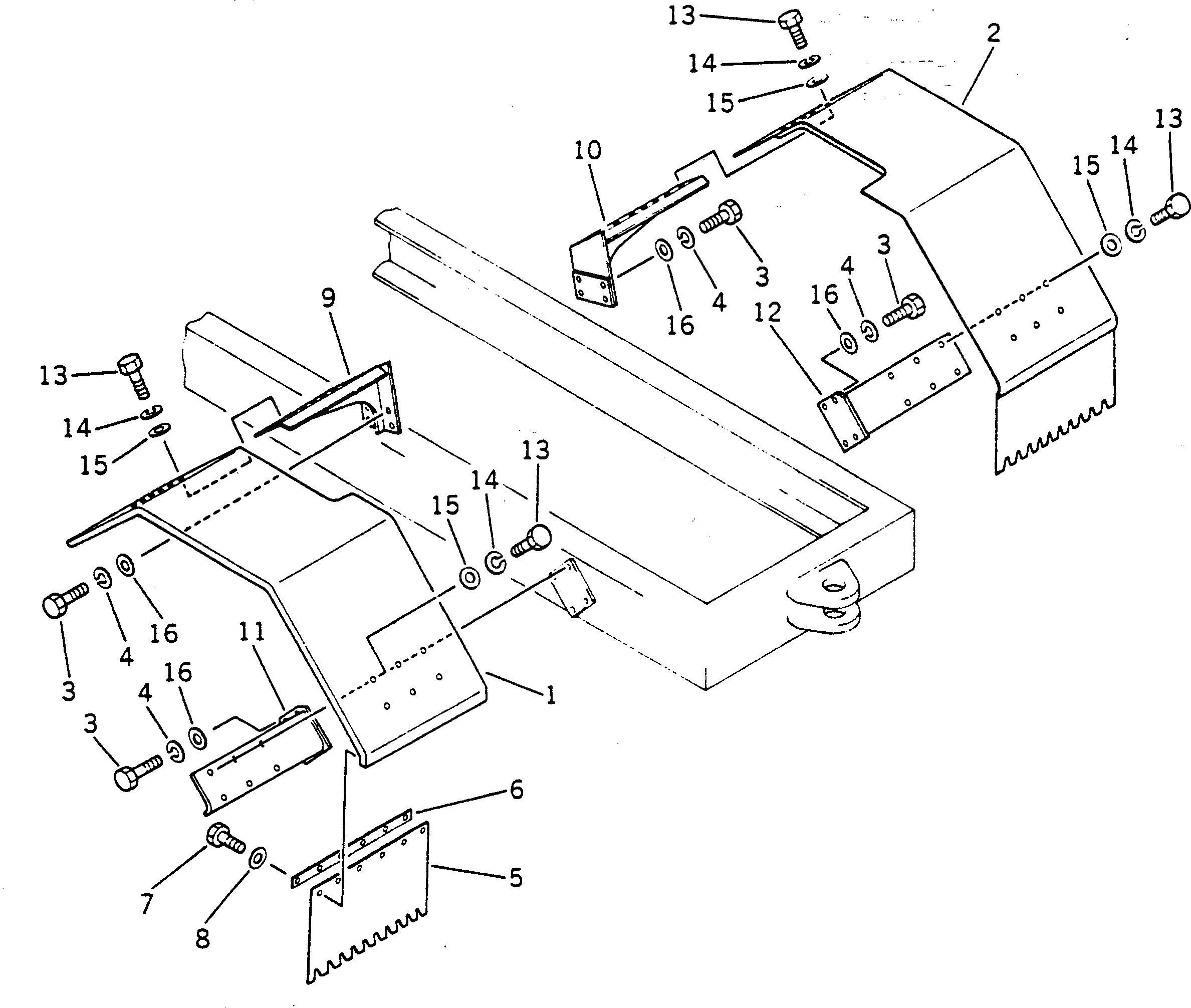
Запчасти Komatsu GD200A-1 КРЫЛО РАМА И ЧАСТИ КОРПУСА

Схема запчастей Komatsu GD200A-1 - КРЫЛО РАМА И ЧАСТИ КОРПУСА
FIT
1:1
100%

Артикул

Название

Примечание

Количество

1

236-54-27112

FENDER,L.H.

SN: 2001-UP

1шт.

2

236-54-27122

FENDER,R.H.

SN: 2001-UP

1шт.

3

01010-31225

BOLT

SN: 2001-UP

16шт.

4

01602-01236

WASHER,SPRING

SN: 2001-UP

16шт.

5

236-54-27131

GUARD

SN: 2001-UP

2шт.

6

236-54-27141

PLATE

SN: 2001-UP

2шт.

7

01010-30612

BOLT

SN: 2001-UP

12шт.

8

01602-00619

WASHER,SPRING

SN: 2001-UP

12шт.

9

236-54-27150

BRACKET

SN: 2001-UP

1шт.

10

236-54-27160

BRACKET

SN: 2001-UP

1шт.

11

236-54-27170

BRACKET

SN: 2001-UP

1шт.

12

236-54-27180

BRACKET

SN: 2001-UP

1шт.

13

01010-31016

BOLT

SN: 2001-UP

24шт.

14

01602-01030

WASHER

SN: 2001-UP

24шт.

15

01640-21016

WASHER

SN: 2001-UP

24шт.

16

01640-21223

WASHER

SN: 2001-UP

16шт.

Выбрано товаров: 16