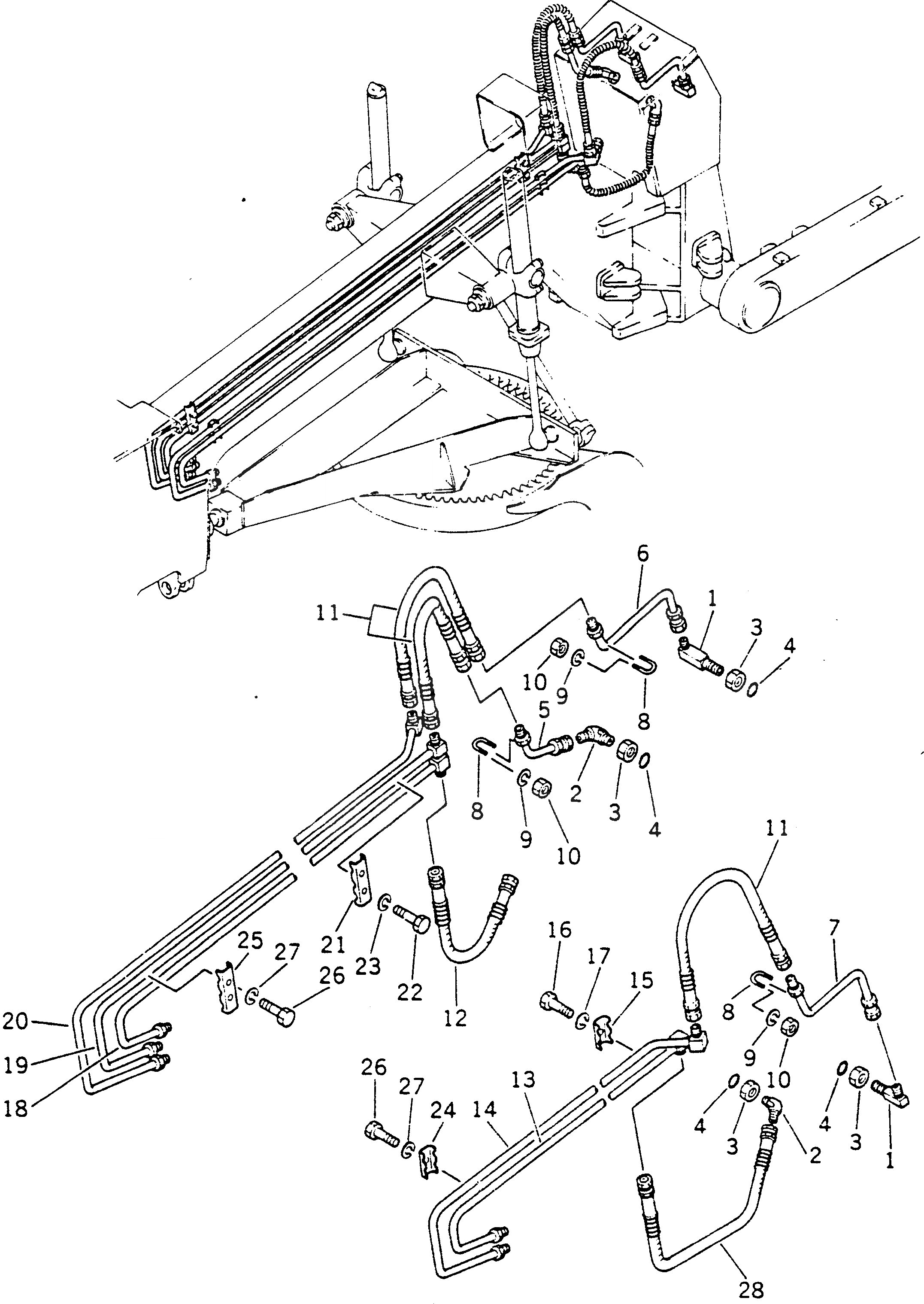
Запчасти Komatsu GD200A-1 ГИДРОЛИНИЯ (УПРАВЛ-Е VALUE - ОТВАЛ СЦЕПНОЕ УСТРОЙСТВО) ГИДРАВЛИКА

Схема запчастей Komatsu GD200A-1 - ГИДРОЛИНИЯ (УПРАВЛ-Е VALUE - ОТВАЛ СЦЕПНОЕ УСТРОЙСТВО) ГИДРАВЛИКА
FIT
1:1
100%

Артикул

Название

Примечание

Количество

1

236-60-24220

ELBOW

SN: 2001-UP

2шт.

2

07232-10315

ELBOW

SN: 2001-UP

2шт.

3

07239-12009

NUT

SN: 2001-UP

4шт.

4

07002-12034

O-RING (KIT)

SN: 2001-UP

4шт.

5

236-60-24110

TUBE

SN: 2001-UP

1шт.

6

236-60-24121

TUBE

SN: 2001-UP

1шт.

7

236-60-24130

TUBE

SN: 2001-UP

1шт.

8

07283-01529

CLIP

SN: 2001-UP

3шт.

9

01643-00823

WASHER

SN: 2001-UP

6шт.

10

01598-00809

NUT

SN: 2001-UP

6шт.

11

07108-20307

HOSE

SN: 2001-UP

3шт.

12

07109-20306

HOSE

SN: 2001-UP

1шт.

13

236-60-24150

TUBE

SN: 2001-UP

1шт.

14

236-60-24160

TUBE

SN: 2001-UP

1шт.

15

232-60-14932

CLIP

SN: 2001-UP

1шт.

16

01010-31035

BOLT

SN: 2001-UP

1шт.

17

01602-01030

WASHER

SN: 2001-UP

1шт.

18

236-60-24140

TUBE

SN: 2001-UP

1шт.

19

236-60-24171

TUBE

SN: 2001-UP

1шт.

20

236-60-24181

TUBE

SN: 2001-UP

1шт.

21

236-60-24940

CLIP

SN: 2001-UP

1шт.

22

01010-31035

BOLT

SN: 2001-UP

2шт.

23

01602-01030

WASHER,SPRING

SN: 2001-UP

2шт.

24

232-60-14932

CLIP

SN: 2001-UP

1шт.

25

236-60-24940

CLIP

SN: 2001-UP

1шт.

26

01010-31035

BOLT

SN: 2001-UP

3шт.

27

01602-01030

WASHER,SPRING

SN: 2001-UP

3шт.

28

07109-20307

HOSE

SN: 2001-UP

1шт.

Выбрано товаров: 0