Запчасти Komatsu GD200A-1 СТАЛЬНАЯ КАБИНА (/) ОПЦИОННЫЕ КОМПОНЕНТЫ

Схема запчастей Komatsu GD200A-1 - СТАЛЬНАЯ КАБИНА (/) ОПЦИОННЫЕ КОМПОНЕНТЫ
FIT
1:1
100%

Артикул

Название

Примечание

Количество

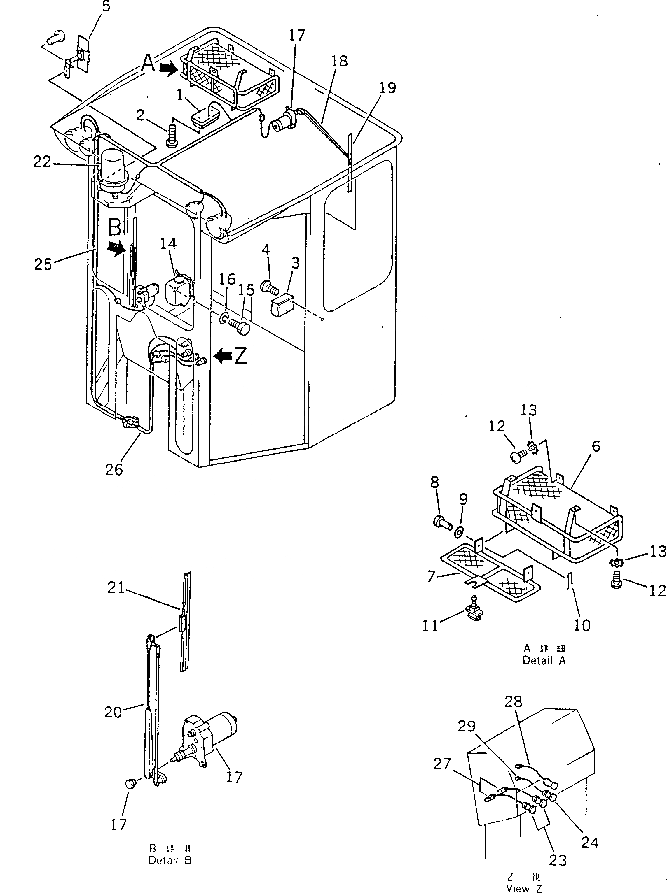
|1

236-856-0020

STEEL CAB ASS'Y

SN: 2001-UP

1шт.

1

08142-02400

LAMP,ROOM

SN: 2001-UP

1шт.

2

01370-00416

SCREW

SN: 2001-UP

2шт.

3

232-855-1542

ASHTRAY

SN: 2001-UP

1шт.

4

01224-40406

SCREW

SN: 2001-UP

3шт.

5

232-855-1530

MIRROR

SN: 2001-UP

1шт.

6

232-855-1341

SHELF

SN: 2001-UP

1шт.

7

232-950-5910

COVER

SN: 2001-UP

1шт.

8

04205-00618

PIN

SN: 2001-UP

2шт.

9

01641-00608

WASHER

SN: 2001-UP

2шт.

10

04050-01610

PIN,COTTER

SN: 2001-UP

2шт.

11

09459-00000

LOCK

SN: 2001-UP

1шт.

12

01370-00416

SCREW

SN: 2001-UP

4шт.

13

01611-04045

WASHER

SN: 2001-UP

4шт.

14

232-856-5101

WINDOW WASHER A.

SN: 2001-UP

1шт.

15

01010-50612

BOLT

SN: 2001-UP

2шт.

16

01602-20619

WASHER,SPRING

SN: 2001-UP

2шт.

17

08181-02490

WIPER MOTOR ASS'Y,WIPER¤ REAR

SN: 2001-UP

1шт.

|17

08181-12490

WIPER MOTOR ASS'Y,WIPER¤ FRONT

SN: 2001-UP

1шт.

18

08184-10400

ARM

SN: 2001-UP

1шт.

19

08185-00350

BLADE

SN: 2001-UP

1шт.

20

08184-10500

ARM

SN: 2001-UP

1шт.

21

08185-00400

BLADE

SN: 2001-UP

1шт.

22

232-06-14610

LAMP ASS'Y,BEACON

SN: 2001-UP

1шт.

23

08182-00000

SWITCH,WIPER

SN: 2001-UP

2шт.

24

236-06-23360

SWITCH,ROOM LAMP

SN: 2001-UP

1шт.

25

232-855-2140

HARNESS

SN: 2001-UP

1шт.

26

232-855-8561

HARNESS

SN: 2001-UP

1шт.

27

236-855-1330

CABLE

SN: 2001-UP

2шт.

28

236-855-1340

CABLE

SN: 2001-UP

1шт.

29

236-855-1350

CABLE

SN: 2001-UP

1шт.

30

09031-00150

DRIVER,SCREW (NOT SHOWN)

SN: 2001-UP

1шт.

|$$33

FOR SNOW REMOVING

-1шт.

18

236-855-1680

ARM

SN: 2059-UP

1шт.

19

232-950-5950

BLADE

SN: 2059-UP

1шт.

20

232-950-5960

ARM¤ 500MM

SN: 2059-UP

1шт.

21

232-950-5950

BLADE

SN: 2059-UP

1шт.

|21

232-950-5980

ACCESSORY SET,(NOT SHOWN)

SN: 2059-UP

2шт.

Выбрано товаров: 38