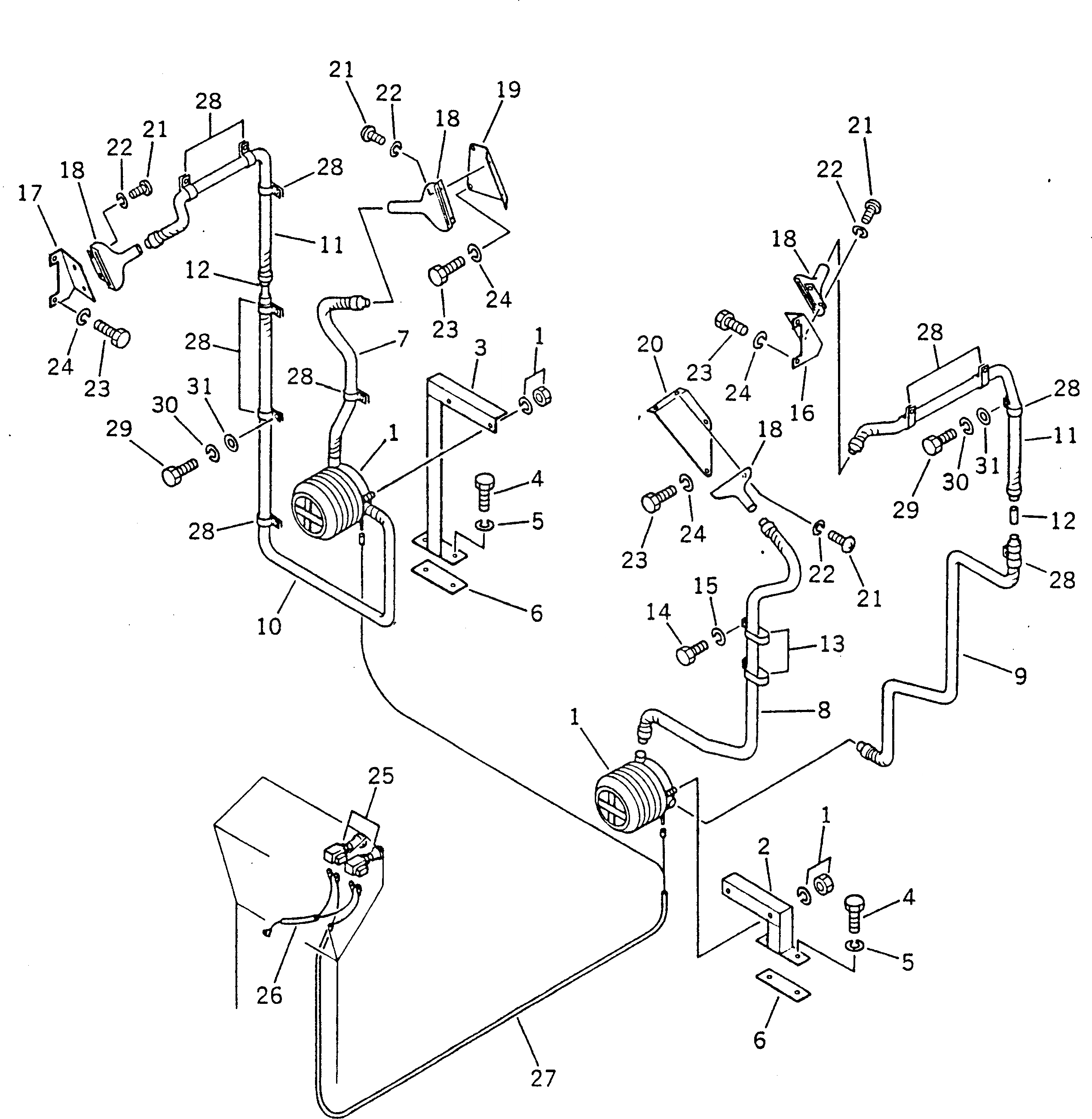
Запчасти Komatsu GD200A-1 ОБОГРЕВАТЕЛЬ. (/)(№.-8) ОПЦИОННЫЕ КОМПОНЕНТЫ

Схема запчастей Komatsu GD200A-1 - ОБОГРЕВАТЕЛЬ. (/)(№.-8) ОПЦИОННЫЕ КОМПОНЕНТЫ
FIT
1:1
100%

Артикул

Название

Примечание

Количество

1

09480-02400

HEATER

SN: 2001-2058

2шт.

2

236-807-1340

BRACKET,L.H.

SN: 2001-2058

1шт.

3

236-807-1350

BRACKET,R.H.

SN: 2001-2058

1шт.

4

01010-51016

BOLT

SN: 2001-2058

4шт.

5

01602-21030

WASHER,SPRING

SN: 2001-2058

4шт.

6

237-807-1120

PLATE,(WELDED)

SN: .-2058

2шт.

7

09485-03709

HOSE

SN: .-2058

1шт.

8

09485-03716

HOSE

SN: .-2058

1шт.

9

09485-03723

HOSE

SN: .-2058

1шт.

10

09485-03724

HOSE

SN: .-2058

1шт.

11

09485-03713

HOSE

SN: .-2058

2шт.

12

232-807-1361

JOINT

SN: .-@

2шт.

13

230-807-1680

CLIP

SN: .-@

2шт.

14

01010-50816

BOLT

SN: .-@

2шт.

15

01602-20825

WASHER,SPRING

SN: .-@

2шт.

16

236-807-1230

BRACKET,L.H.

SN: 2001-@

1шт.

17

236-807-1240

BRACKET,R.H.

SN: 2001-@

1шт.

18

09486-10000

NOZZLE

SN: 2001-@

4шт.

19

236-807-1210

BRACKET

SN: 2001-@

1шт.

20

236-807-1220

BRACKET

SN: 2001-@

1шт.

21

01220-40512

SCREW

SN: 2001-@

8шт.

22

01601-20513

WASHER,SPRING

SN: 2001-@

8шт.

23

01010-50816

BOLT

SN: 2001-@

8шт.

24

01602-20825

WASHER,SPRING

SN: 2001-@

8шт.

25

09481-02400

SWITCH

SN: 2001-2058

2шт.

26

236-807-1150

WIRE HARNESS

SN: 2001-2058

1шт.

27

236-807-1320

HARNESS

SN: 2001-2058

1шт.

28

232-807-1551

CLIP

SN: 2001-@

11шт.

29

01010-50816

BOLT

SN: 2001-@

11шт.

30

01602-20825

WASHER,SPRING

SN: 2001-@

11шт.

31

01642-20810

WASHER

SN: 2001-2058

11шт.

Выбрано товаров: 31