Запчасти Komatsu GD200A-1 СНЕГООЧИСТИТ. V-ТИПА (/) ОПЦИОННЫЕ КОМПОНЕНТЫ

Схема запчастей Komatsu GD200A-1 - СНЕГООЧИСТИТ. V-ТИПА (/) ОПЦИОННЫЕ КОМПОНЕНТЫ
FIT
1:1
100%

Артикул

Название

Примечание

Количество

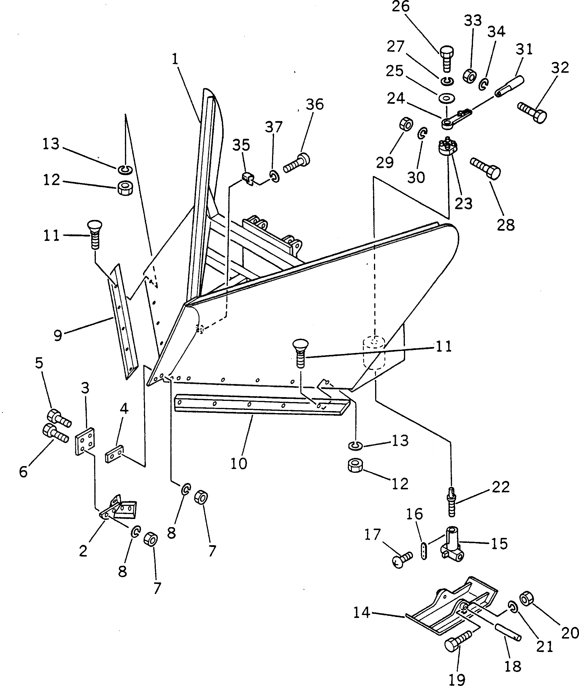
|1

236-970-0100

SNOW PLOW ASS'Y

SN: 2001-UP

1шт.

1

236-970-2112

PLOW

SN: 2001-UP

1шт.

2

230-970-1230

EDGE,CENTER

SN: 2001-UP

1шт.

3

236-970-2540

PLATE

SN: 2001-UP

1шт.

4

236-970-2550

PLATE

SN: 2001-UP

1шт.

5

01010-51245

BOLT

SN: 2001-UP

2шт.

6

01010-51235

BOLT

SN: 2001-UP

2шт.

7

01580-11210

NUT

SN: 2001-UP

4шт.

8

01602-21236

WASHER,SPRING

SN: 2001-UP

4шт.

9

236-970-2410

EDGE,R.H.

SN: 2001-UP

1шт.

10

236-970-2420

EDGE,L.H.

SN: 2001-UP

1шт.

11

02090-11050

BOLT

SN: 2001-UP

14шт.

12

02290-11016

NUT

SN: 2001-UP

14шт.

13

01602-21648

WASHER,SPRING

SN: 2001-UP

14шт.

14

232-970-2840

SLED

SN: 2001-UP

3шт.

15

232-970-2820

JOINT

SN: 2001-UP

3шт.

16

232-970-2810

KEY

SN: 2001-UP

6шт.

17

01220-40310

SCREW

SN: 2001-UP

12шт.

18

232-970-2860

PIN

SN: 2001-UP

3шт.

19

01010-51065

BOLT

SN: 2001-UP

3шт.

20

01580-01008

NUT

SN: 2001-UP

3шт.

21

01602-01030

WASHER,SPRING

SN: 2001-UP

3шт.

22

232-970-2740

BOLT

SN: 2001-UP

3шт.

23

232-970-2770

PLATE

SN: 2001-UP

3шт.

24

232-970-2740

BOLT

SN: 2001-UP

3шт.

25

232-970-2730

PLATE

SN: 2001-UP

3шт.

26

01010-50816

BOLT

SN: 2001-UP

3шт.

27

01602-00825

WASHER,SPRING

SN: 2001-UP

3шт.

28

01011-51215

BOLT

SN: 2001-UP

3шт.

29

01580-01210

NUT

SN: 2001-UP

3шт.

30

01602-01236

WASHER,SPRING

SN: 2001-UP

3шт.

31

232-970-2760

HANDLE

SN: 2001-UP

3шт.

32

01010-50835

BOLT

SN: 2001-UP

3шт.

33

01580-00806

NUT

SN: 2001-UP

3шт.

34

01602-00825

WASHER,SPRING

SN: 2001-UP

3шт.

35

232-970-2880

PLATE,SPRING

SN: 2001-UP

1шт.

36

01220-40306

SCREW

SN: 2001-UP

2шт.

37

01601-20307

WASHER,SPRING

SN: 2001-UP

1шт.

Выбрано товаров: 38