Запчасти Komatsu 4D105-5M БЛОК ЦИЛИНДРОВ БЛОК ЦИЛИНДРОВ

Схема запчастей Komatsu 4D105-5M - БЛОК ЦИЛИНДРОВ БЛОК ЦИЛИНДРОВ
FIT
1:1
100%

Артикул

Название

Примечание

Количество

|1

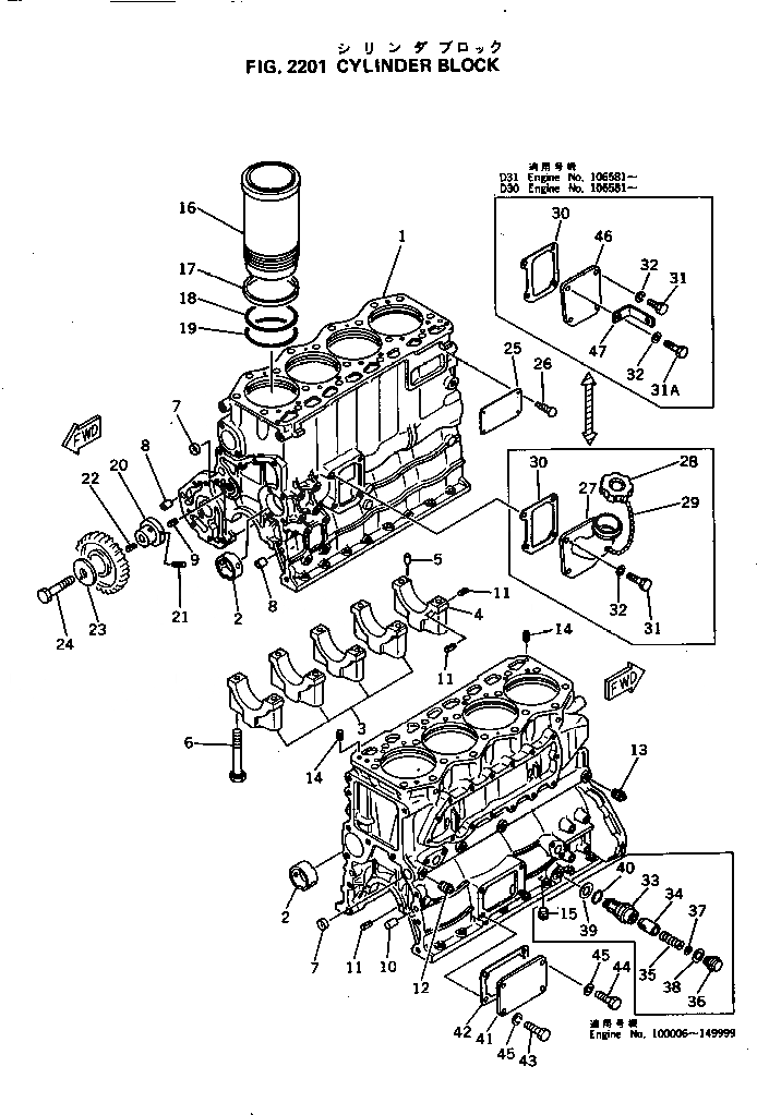
6134-22-1200

CYLINDER BLOCK ASS'Y

SN: 150001-UP

1шт.

|1

0

CYLINDER BLOCK ASS'Y

SN: 102876-149999

1шт.

|$$3

(6134-22-1200{6134-52-1100)}

-1шт.

1

0

BLOCK,CYLINDER

SN: 150001-UP

1шт.

|1

0

BLOCK,CYLINDER

SN: 102876-149999

1шт.

2

6136-21-1410

BUSHING,CAM

SN: 102876-UP

3шт.

3

6136-29-1210

CAP,MAIN METAL

SN: 102876-UP

4шт.

4

6136-29-1220

CAP,MAIN METAL

SN: 102876-UP

1шт.

5

04020-00514

PIN,DOWEL

SN: 102876-UP

2шт.

6

6136-22-1710

BOLT

SN: 150001-UP

10шт.

|6

0

BOLT

SN: 102876-149999

10шт.

7

6130-11-1420

PLUG,EXPANSION

SN: 102876-UP

2шт.

8

6136-21-1911

PIN,DOWEL

SN: 102876-UP

2шт.

9

04025-00512

PIN,SPRING

SN: 102876-UP

1шт.

10

04020-01228

PIN,DOWEL

SN: 102876-UP

2шт.

11

04025-00408

PIN,SPRING

SN: 102876-UP

6шт.

12

07042-00211

PLUG

SN: 102876-UP

2шт.

13

07042-00108

PLUG

SN: 102876-UP

3шт.

14

04025-00820

PIN,SPRING

SN: 102876-UP

2шт.

15

07043-00312

PLUG

SN: 102876-149999

1шт.

16

6136-21-2210

LINER,CYLINDER

SN: 102876-UP

4шт.

17

6136-21-2220

SEAL,CREVICE (K2)

SN: 102876-UP

4шт.

18

6136-21-2230

O-RING,UPPER (K2)

SN: 102876-UP

4шт.

19

6136-21-2240

O-RING,LOWER (K2)

SN: 102876-UP

4шт.

20

6136-21-2410

SHAFT,IDLER

SN: 102876-UP

1шт.

21

04025-00316

PIN,SPRING

SN: 102876-UP

1шт.

22

04025-00512

PIN,SPRING

SN: 102876-UP

1шт.

23

6136-21-2420

PLATE,THRUST

SN: 102876-UP

1шт.

24

01010-31275

BOLT

SN: 102876-UP

1шт.

25

09605-01312

PLATE¤ NAME,(LIMITED SUPPLY)

SN: 150001-UP

1шт.

|25

09605-01311

PLATE¤ NAME,(LIMITED SUPPLY)

SN: 102876-149999

1шт.

26

04418-02550

SCREW

SN: 102876-UP

4шт.

|27

6136-21-7100

OIL FILLER ASS'Y

SN: 102876-UP

1шт.

27

6136-21-7111

FILLER,OIL

SN: 102876-UP

1шт.

28

6136-21-7120

CAP ASS'Y

SN: 102876-UP

1шт.

29

6136-21-7190

CHAIN

SN: 102876-UP

1шт.

30

6136-21-7811

GASKET (K2)

SN: 102876-UP

1шт.

31

01010-31030

BOLT

SN: 102876-UP

4шт.

32

01602-01030

WASHER,SPRING

SN: 102876-UP

4шт.

|33

6136-51-4101

REGULATOR ASS'Y

SN: 102876-149999

1шт.

33

0

BODY

SN: 102876-149999

1шт.

34

0

VALVE

SN: 102876-149999

1шт.

35

0

SPRING

SN: 102876-149999

1шт.

36

0

PLUG

SN: 102876-149999

1шт.

37

0

SHIM

SN: 102876-149999

2шт.

38

0

GASKET

SN: 102876-149999

1шт.

39

07003-02733

GASKET (K2)

SN: 102876-149999

1шт.

40

07000-62018

O-RING (K2)

SN: 102876-149999

1шт.

41

6134-22-1510

COVER

SN: 150001-UP

1шт.

|41

0

COVER

SN: 102876-149999

1шт.

42

6134-21-1811

GASKET (K2)

SN: 102876-UP

1шт.

43

01010-31025

BOLT

SN: 102876-UP

2шт.

44

01010-31025

BOLT

SN: 150001-UP

2шт.

|44

01010-31030

BOLT

SN: 102876-149999

2шт.

45

01602-01030

WASHER,SPRING

SN: 102876-UP

4шт.

|1

6134-22-1200

CYLINDER BLOCK ASS'Y

SN: 150001-UP

1шт.

|1

0

CYLINDER BLOCK ASS'Y

SN: 102876-149999

1шт.

|$$3

(6134-22-1200{6134-52-1100)}

-1шт.

1

0

BLOCK,CYLINDER

SN: 150001-UP

1шт.

|1

0

BLOCK,CYLINDER

SN: 102876-149999

1шт.

2

6136-21-1410

BUSHING,CAM

SN: 102876-UP

3шт.

3

6136-29-1210

CAP,MAIN METAL

SN: 102876-UP

4шт.

4

6136-29-1220

CAP,MAIN METAL

SN: 102876-UP

1шт.

5

04020-00514

PIN,DOWEL

SN: 102876-UP

2шт.

6

6136-22-1710

BOLT

SN: 150001-UP

10шт.

|6

0

BOLT

SN: 102876-149999

10шт.

7

6130-11-1420

PLUG,EXPANSION

SN: 102876-UP

2шт.

8

6136-21-1911

PIN,DOWEL

SN: 102876-UP

2шт.

9

04025-00512

PIN,SPRING

SN: 102876-UP

1шт.

10

04020-01228

PIN,DOWEL

SN: 102876-UP

2шт.

11

04025-00408

PIN,SPRING

SN: 102876-UP

6шт.

12

07042-00211

PLUG

SN: 102876-UP

2шт.

13

07042-00108

PLUG

SN: 102876-UP

3шт.

14

04025-00820

PIN,SPRING

SN: 102876-UP

2шт.

15

07043-00312

PLUG

SN: 102876-149999

1шт.

16

6136-21-2210

LINER,CYLINDER

SN: 102876-UP

4шт.

17

6136-21-2220

SEAL,CREVICE (K2)

SN: 102876-UP

4шт.

18

6136-21-2230

O-RING,UPPER (K2)

SN: 102876-UP

4шт.

19

6136-21-2240

O-RING,LOWER (K2)

SN: 102876-UP

4шт.

20

6136-21-2410

SHAFT,IDLER

SN: 102876-UP

1шт.

21

04025-00316

PIN,SPRING

SN: 102876-UP

1шт.

22

04025-00512

PIN,SPRING

SN: 102876-UP

1шт.

23

6136-21-2420

PLATE,THRUST

SN: 102876-UP

1шт.

24

01010-31275

BOLT

SN: 102876-UP

1шт.

25

09605-01312

PLATE¤ NAME,(LIMITED SUPPLY)

SN: 150001-UP

1шт.

|25

09605-01311

PLATE¤ NAME,(LIMITED SUPPLY)

SN: 102876-149999

1шт.

26

04418-02550

SCREW

SN: 102876-UP

4шт.

|27

6136-21-7100

OIL FILLER ASS'Y

SN: 102876-UP

1шт.

27

6136-21-7111

FILLER,OIL

SN: 102876-UP

1шт.

28

6136-21-7120

CAP ASS'Y

SN: 102876-UP

1шт.

29

6136-21-7190

CHAIN

SN: 102876-UP

1шт.

30

6136-21-7811

GASKET (K2)

SN: 102876-UP

1шт.

31

01010-31030

BOLT

SN: 102876-UP

4шт.

32

01602-01030

WASHER,SPRING

SN: 102876-UP

4шт.

|33

6136-51-4101

REGULATOR ASS'Y

SN: 102876-149999

1шт.

33

0

BODY

SN: 102876-149999

1шт.

34

0

VALVE

SN: 102876-149999

1шт.

35

0

SPRING

SN: 102876-149999

1шт.

36

0

PLUG

SN: 102876-149999

1шт.

37

0

SHIM

SN: 102876-149999

2шт.

38

0

GASKET

SN: 102876-149999

1шт.

39

07003-02733

GASKET (K2)

SN: 102876-149999

1шт.

40

07000-62018

O-RING (K2)

SN: 102876-149999

1шт.

41

6134-22-1510

COVER

SN: 150001-UP

1шт.

|41

0

COVER

SN: 102876-149999

1шт.

42

6134-21-1811

GASKET (K2)

SN: 102876-UP

1шт.

43

01010-31025

BOLT

SN: 102876-UP

2шт.

44

01010-31025

BOLT

SN: 150001-UP

2шт.

|44

01010-31030

BOLT

SN: 102876-149999

2шт.

45

01602-01030

WASHER,SPRING

SN: 102876-UP

4шт.

Выбрано товаров: 0