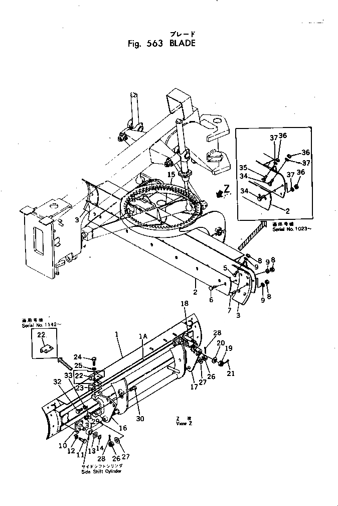
Запчасти Komatsu GD22AC-1A ОТВАЛ РАБОЧЕЕ ОБОРУДОВАНИЕ И ITS СИСТЕМА УПРАВЛЕНИЯ

Схема запчастей Komatsu GD22AC-1A - ОТВАЛ РАБОЧЕЕ ОБОРУДОВАНИЕ И ITS СИСТЕМА УПРАВЛЕНИЯ
FIT
1:1
100%

Артикул

Название

Примечание

Количество

|1

236-70-00021

BLADE ASS'Y

SN: 1562-UP

1шт.

|1

0

BLADE ASS'Y

SN: 1501-1561

1шт.

1

236-70-22111

BLADE

SN: 1501-UP

1шт.

|1

236-70-22110

BLADE

SN: 1500-1500

1шт.

1A

236-70-22310

RAIL

SN: 1501-UP

2шт.

2

236-70-22120

EDGE,CUTTING

SN: 1501-UP

1шт.

|2

0

EDGE,CUTTING

SN: 1500-1500

1шт.

3

236-70-22360

BIT,END

SN: 1500-1500

2шт.

5

02090-11095

BOLT

SN: 1500-1500

2шт.

6

02090-11045

BOLT

SN: 1501-UP

8шт.

7

232-70-12450

BOLT

SN: 1501-UP

12шт.

|7

0

BOLT

SN: 1500-1500

12шт.

|7

0

BOLT

SN: 1500-1500

8шт.

8

232-70-12480

NUT

SN: 1501-UP

12шт.

|8

232-70-12480

NUT

SN: 1500-1500

18шт.

|8

0

NUT

SN: 1501-UP

12шт.

|8

0

NUT

SN: 1500-1500

18шт.

9

01643-31645

WASHER

SN: 1501-UP

12шт.

|9

01643-31645

WASHER

SN: 1500-1500

18шт.

|9

0

WASHER

SN: 1501-UP

12шт.

|9

0

WASHER

SN: 1500-1500

18шт.

10

236-70-22141

BRACKET

SN: 1501-UP

1шт.

11

01010-31230

BOLT

SN: 1501-UP

4шт.

12

01602-01236

WASHER

SN: 1501-UP

4шт.

13

01640-03045

WASHER

SN: 1501-UP

1шт.

14

04064-03015

RING

SN: 1501-UP

1шт.

15

236-70-22150

SUPPORT

SN: 1501-UP

1шт.

16

236-70-22171

BRACKET,L.H.

SN: 1514-UP

1шт.

|16

0

BRACKET,L.H.

SN: 1501-1513

1шт.

17

236-70-22181

BRACKET,R.H.

SN: 1514-UP

1шт.

|17

0

BRACKET,R.H.

SN: 1501-1513

1шт.

18

236-70-22230

PIN

SN: 1501-UP

1шт.

19

01590-02427

NUT

SN: 1501-UP

1шт.

20

01640-02440

WASHER

SN: 1501-UP

1шт.

21

04050-05045

PIN

SN: 1501-UP

1шт.

22

236-70-22211

GUIDE

SN: 1501-UP

4шт.

|22

0

GUIDE

SN: 1500-1500

4шт.

23

236-70-05020

SHIM ASS'Y

SN: 1501-UP

1шт.

|23

236-70-22250

SHIM¤ 1.0MM

SN: 1501-UP

4шт.

|23

236-70-22260

SHIM¤ 0.5MM

SN: 1501-UP

8шт.

24

01010-32050

BOLT

SN: 1501-UP

8шт.

25

01602-02060

WASHER

SN: 1501-UP

8шт.

26

01590-02427

NUT

SN: 1501-UP

2шт.

27

01640-02440

WASHER

SN: 1501-UP

2шт.

28

04050-05045

PIN

SN: 1501-UP

2шт.

29

232-70-12381

LOCK

SN: 1501-UP

2шт.

30

01010-32465

BOLT

SN: 1501-UP

2шт.

31

01580-02419

NUT

SN: 1501-UP

2шт.

32

01010-31230

BOLT

SN: 1501-UP

2шт.

33

01602-01236

WASHER

SN: 1501-UP

2шт.

34

01010-31635

BOLT

SN: 1501-1513

4шт.

35

01010-31675

BOLT

SN: 1501-1513

2шт.

36

01580-01613

NUT

SN: 1501-1513

6шт.

37

01602-01648

WASHER

SN: 1501-1513

6шт.

Выбрано товаров: 54