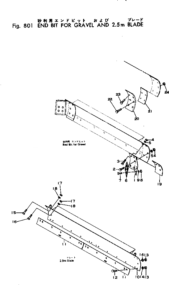
Запчасти Komatsu GD22AC-1A END BIT ДЛЯ GRAVEL И .M ОТВАЛ ОПЦИОННЫЕ КОМПОНЕНТЫ

Схема запчастей Komatsu GD22AC-1A - END BIT ДЛЯ GRAVEL И .M ОТВАЛ ОПЦИОННЫЕ КОМПОНЕНТЫ
FIT
1:1
100%

Артикул

Название

Примечание

Количество

1

236-870-1111

BRACKET,L.H.

SN: 1501-UP

1шт.

|1

236-870-1131

BRACKET,R.H.

SN: 1501-UP

1шт.

2

02090-11065

BOLT

SN: 1501-UP

8шт.

3

02091-11005

BOLT

SN: 1501-UP

2шт.

4

02290-11016

NUT

SN: 1501-UP

10шт.

5

01602-01648

WASHER

SN: 1501-UP

10шт.

6

236-870-1120

EDGE

SN: 1501-UP

2шт.

7

02090-11045

BOLT

SN: 1501-UP

8шт.

8

02290-11016

NUT

SN: 1501-UP

8шт.

9

01602-01648

WASHER

SN: 1501-UP

8шт.

10

236-978-1110

BLADE

SN: 1501-UP

1шт.

11

236-978-1151

EDGE,CUTTING

SN: 1501-UP

2шт.

|11

0

EDGE,CUTTING

SN: 1500-1500

2шт.

12

02090-11055

BOLT

SN: 1501-UP

14шт.

13

02290-11016

NUT

SN: 1501-UP

14шт.

14

01602-01648

WASHER

SN: 1501-UP

14шт.

15

01010-31635

BOLT

SN: 1501-UP

4шт.

16

01010-31675

BOLT

SN: 1501-UP

2шт.

17

01580-01613

NUT

SN: 1501-UP

6шт.

18

01602-01648

WASHER

SN: 1501-UP

6шт.

19

236-870-1140

PLATE

SN: 1501-UP

2шт.

20

236-70-22360

BIT,END

SN: 1501-UP

2шт.

21

236-870-1140

PLATE

SN: 1501-UP

2шт.

22

02091-11005

BOLT

SN: 1501-UP

2шт.

23

02090-11065

BOLT

SN: 1501-UP

6шт.

24

02290-11016

NUT

SN: 1501-UP

8шт.

Выбрано товаров: 26