Запчасти Komatsu GD22AC-1A КАПОТ РАМА И КУЗОВ

Схема запчастей Komatsu GD22AC-1A - КАПОТ РАМА И КУЗОВ
FIT
1:1
100%

Артикул

Название

Примечание

Количество

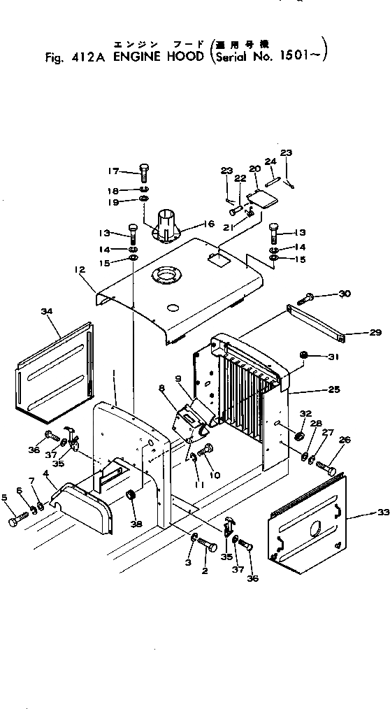
1

236-54-23230

PANEL

SN: 1501-UP

1шт.

2

01010-51020

BOLT

SN: 1501-UP

4шт.

3

01602-21030

WASHER

SN: 1501-UP

4шт.

4

236-54-23240

COVER

SN: 1501-UP

1шт.

5

01010-51020

BOLT

SN: 1501-UP

7шт.

6

01602-21030

WASHER

SN: 1501-UP

7шт.

7

01640-21016

WASHER

SN: 1501-UP

7шт.

8

237-54-12210

BRACKET

SN: 1501-UP

1шт.

9

237-54-12220

CUSHION

SN: 1501-UP

2шт.

10

01010-51016

BOLT

SN: 1501-UP

4шт.

11

01602-21030

WASHER

SN: 1501-UP

4шт.

12

236-54-23131

HOOD

SN: 1501-UP

1шт.

13

01010-51020

BOLT

SN: 1501-UP

11шт.

14

01602-21030

WASHER

SN: 1501-UP

11шт.

15

01643-31032

WASHER

SN: 1501-UP

11шт.

16

237-54-12181

SUPPORT

SN: 1501-UP

1шт.

17

01010-51020

BOLT

SN: 1550-UP

4шт.

17

01010-51025

BOLT

SN: 1501-1549

4шт.

18

01602-21030

WASHER

SN: 1501-UP

4шт.

19

232-814-1350

WASHER

SN: 1550-UP

4шт.

19

01642-21016

WASHER

SN: 1501-1549

4шт.

20

237-54-12170

COVER

SN: 1501-UP

1шт.

21

237-54-12160

SPRING

SN: 1501-UP

1шт.

22

04205-00616

PIN

SN: 1501-UP

2шт.

23

04050-01610

PIN

SN: 1501-UP

4шт.

24

131-54-11270

PIN

SN: 1501-UP

1шт.

25

237-54-12120

GRILLE

SN: 1501-UP

1шт.

26

01010-51020

BOLT

SN: 1501-UP

4шт.

27

01602-21030

WASHER

SN: 1501-UP

4шт.

28

01643-31032

WASHER

SN: 1501-UP

4шт.

29

135-54-21131

MARK

SN: 1501-UP

1шт.

30

01225-40820

SCREW

SN: 1501-UP

2шт.

31

08037-03614

GROMMET

SN: 1501-UP

1шт.

32

08037-02512

GROMMET

SN: 1501-UP

2шт.

33

236-54-23142

COVER

SN: 1501-UP

1шт.

34

236-54-23152

COVER

SN: 1501-UP

1шт.

35

232-54-12230

CATCHER

SN: 1501-UP

4шт.

36

01220-40408

SCREW

SN: 1501-UP

8шт.

37

01601-20410

WASHER

SN: 1501-UP

8шт.

38

08037-01610

GROMMET

SN: 1501-UP

1шт.

Выбрано товаров: 40