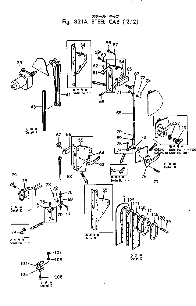
Запчасти Komatsu GD22AC-1A СТАЛЬНАЯ КАБИНА (/) ОПЦИОННЫЕ КОМПОНЕНТЫ

Схема запчастей Komatsu GD22AC-1A - СТАЛЬНАЯ КАБИНА (/) ОПЦИОННЫЕ КОМПОНЕНТЫ
FIT
1:1
100%

Артикул

Название

Примечание

Количество

|$0

236-855-0010

STEEL CAB ASS'Y

SN: 1501-UP

1шт.

1

236-855-1112

CAB

SN: 1501-UP

1шт.

1

236-855-1111

CAB

SN: 1500-1500

1шт.

1

236-901-7110

CAB

SN: 1501-UP

1шт.

2

232-855-1220

BRACKET

SN: 1501-UP

1шт.

3

01010-50816

BOLT

SN: 1500-1500

8шт.

4

01602-20825

WASHER

SN: 1500-1500

8шт.

5

01581-10806

NUT

SN: 1500-1500

8шт.

6

232-855-1210

SEAT

SN: 1500-1500

1шт.

7

01010-30816

BOLT

SN: 1500-1500

3шт.

8

01602-00825

WASHER

SN: 1500-1500

3шт.

9

01580-00807

NUT

SN: 1500-1500

3шт.

10

236-855-1161

COVER

SN: 1501-UP

1шт.

10

236-855-1160

COVER

SN: 1500-1500

1шт.

11

236-855-1221

PLATE

SN: 1501-UP

1шт.

11

236-855-1220

PLATE

SN: 1500-1500

1шт.

12

236-855-1211

PACKING

SN: 1501-UP

1шт.

12

236-855-1210

PACKING

SN: 1500-1500

1шт.

13

01220-40508

SCREW

SN: 1501-UP

7шт.

14

01601-20513

WASHER

SN: 1501-UP

7шт.

15

236-855-1170

PLATE

SN: 1501-UP

1шт.

16

236-855-1180

PLATE

SN: 1501-UP

1шт.

17

01370-00416

SCREW

SN: 1501-UP

27шт.

18

01611-04045

WASHER

SN: 1501-UP

27шт.

19

232-855-1320

SPRING

SN: 1501-UP

1шт.

20

01641-20608

WASHER

SN: 1501-UP

1шт.

21

04205-00616

PIN

SN: 1501-UP

1шт.

22

04050-01610

PIN

SN: 1501-UP

1шт.

23

232-855-1330

HOOK

SN: 1501-UP

4шт.

24

01010-50620

BOLT

SN: 1501-UP

8шт.

25

01602-00619

WASHER

SN: 1501-UP

8шт.

26

232-855-1340

RACK

SN: 1501-UP

1шт.

27

01370-00416

SCREW

SN: 1501-UP

4шт.

28

01611-04045

WASHER

SN: 1501-UP

4шт.

29

232-855-1370

LOCK

SN: 1501-UP

2шт.

30

01220-40616

SCREW

SN: 1501-UP

6шт.

30

01220-40616

SCREW

SN: 1500-1500

12шт.

31

01602-20619

WASHER

SN: 1501-UP

6шт.

31

01602-20619

WASHER

SN: 1500-1500

12шт.

32

01580-10605

NUT

SN: 1501-UP

6шт.

32

01580-10605

NUT

SN: 1500-1500

12шт.

33

236-855-1390

PLATE

SN: 1501-UP

2шт.

34

236-855-1151

PACKING

SN: 1501-UP

1шт.

35

236-855-1430

PACKING

SN: 1501-UP

1шт.

36

236-855-1420

PACKING

SN: 1501-UP

2шт.

37

236-855-1450

PACKING

SN: 1501-UP

2шт.

38

236-855-1460

PACKING

SN: 1501-UP

2шт.

39

08181-02490

WIPER MOTOR ASS'Y,WIPER

SN: 1501-UP

1шт.

39

08181-12490

WIPER MOTOR ASS'Y,WIPER

SN: 1501-UP

1шт.

39

08181-02490

WIPER MOTOR ASS'Y,WIPER

SN: 1500-1500

2шт.

40

08184-10500

ARM

SN: 1501-UP

1шт.

41

08184-10400

ARM

SN: 1501-UP

1шт.

42

08185-00400

BLADE

SN: 1501-UP

1шт.

43

08185-00350

BLADE

SN: 1501-UP

1шт.

44

08140-12400

LAMP

SN: 1501-UP

1шт.

45

08110-12410

BULB, 12W

SN: 1501-UP

1шт.

46

01370-00416

SCREW

SN: 1501-UP

3шт.

46A

01611-04045

WASHER

SN: 1501-UP

3шт.

47

232-855-1520

LAMP,FOG

SN: 1501-UP

2шт.

48

232-855-1530

MIRROR

SN: 1501-UP

1шт.

49

232-855-1541

ASHTRAY

SN: 1501-UP

1шт.

49

232-855-1540

ASHTRAY

SN: 1500-1500

1шт.

50

232-855-1613

DOOR,L.H.

SN: 1501-UP

1шт.

50

232-855-1612

DOOR,L.H.

SN: 1500-1500

1шт.

50

232-855-1611

DOOR,L.H.

SN: 1500-1500

1шт.

51

232-855-1623

DOOR,R.H.

SN: 1501-UP

1шт.

51

232-855-1622

DOOR,R.H.

SN: 1500-1500

1шт.

51

232-855-1621

DOOR,R.H.

SN: 1500-1500

1шт.

52

01010-30820

BOLT

SN: 1501-UP

8шт.

53

01602-00825

WASHER

SN: 1501-UP

8шт.

54

232-855-1631

STAY

SN: 1501-UP

1шт.

54

232-855-1630

STAY

SN: 1500-1500

1шт.

55

232-855-1641

STAY

SN: 1501-UP

1шт.

55

232-855-1640

STAY

SN: 1500-1500

1шт.

56

01010-30816

BOLT

SN: 1501-UP

12шт.

57

01602-00825

WASHER

SN: 1501-UP

12шт.

58

01214-60612

SCREW

SN: 1501-UP

8шт.

59

01210-40614

SCREW

SN: 1501-UP

4шт.

60

01602-00619

WASHER

SN: 1501-UP

4шт.

61

09454-00010

HANDLE

SN: 1501-UP

1шт.

62

01210-40412

SCREW

SN: 1501-UP

1шт.

63

09454-00010

HANDLE

SN: 1501-UP

1шт.

64

01210-40412

SCREW

SN: 1501-UP

1шт.

65

232-855-1680

LOCK

SN: 1501-UP

1шт.

66

232-855-1670

LOCK

SN: 1501-UP

1шт.

67

232-855-1810

LINK

SN: 1501-UP

2шт.

68

232-855-1821

ROD,L.H.

SN: 1501-UP

2шт.

68

232-855-1820

ROD,L.H.

SN: 1500-1500

2шт.

69

234-855-1890

YOKE

SN: 1501-UP

2шт.

70

01580-00605

NUT

SN: 1501-UP

4шт.

71

04205-00614

PIN

SN: 1501-UP

4шт.

72

01641-20608

WASHER

SN: 1501-UP

4шт.

73

04050-01610

PIN

SN: 1501-UP

4шт.

74

232-855-1841

LEVER

SN: 1501-UP

2шт.

74

232-855-1840

LINK

SN: 1500-1500

2шт.

75

01210-50412

SCREW

SN: 1501-UP

2шт.

76

232-855-1860

HANDLE

SN: 1500-1500

1шт.

77

01214-40412

SCREW

SN: 1500-1500

2шт.

78

232-855-1851

HANDLE

SN: .-UP

2шт.

78

232-855-1850

HANDLE

SN: 1501-.

2шт.

78

232-855-1850

HANDLE

SN: 1500-1500

1шт.

79

01214-40412

SCREW

SN: 1501-UP

2шт.

80

232-855-1560

PIN

SN: 1501-UP

2шт.

81

01210-40416

SCREW

SN: 1501-UP

2шт.

82

01641-20405

WASHER

SN: 1501-UP

2шт.

83

236-855-1191

WINDOW

SN: 1501-UP

1шт.

83

236-855-1190

WINDOW

SN: 1500-1500

1шт.

84

01214-40412

SCREW

SN: 1501-UP

4шт.

85

01580-00403

NUT

SN: 1501-UP

4шт.

86

01601-00410

WASHER

SN: 1501-UP

4шт.

87

236-855-1121

GLASS

SN: 1501-UP

1шт.

88

09410-00301

STRIP,WEATHER

SN: 1501-UP

1шт.

89

236-855-1131

GLASS

SN: 1501-UP

2шт.

90

09410-00173

STRIP,WEATHER

SN: 1501-UP

2шт.

91

232-855-1260

GLASS

SN: 1501-UP

4шт.

92

09410-00229

STRIP,WEATHER

SN: 1501-UP

4шт.

93

236-855-1141

GLASS

SN: 1501-UP

2шт.

94

09410-00246

STRIP,WEATHER

SN: 1501-UP

2шт.

95

232-855-1290

GLASS

SN: 1501-UP

1шт.

96

09410-00274

STRIP,WEATHER

SN: 1501-UP

1шт.

97

234-855-1460

SEAL

SN: 1501-UP

1шт.

98

232-855-8170

COVER

SN: 1501-UP

1шт.

99

232-855-8480

SEAL

SN: 1500-1500

1шт.

100

232-855-8490

PLATE

SN: 1500-1500

2шт.

101

01370-00416

SCREW

SN: 1500-1500

6шт.

102

01642-20405

WASHER

SN: 1500-1500

6шт.

103

01601-20410

WASHER

SN: 1500-1500

6шт.

104

232-855-8530

SEAT

SN: 1501-UP

2шт.

105

232-855-8540

SEAT

SN: 1501-UP

2шт.

106

01210-50412

SCREW

SN: 1501-UP

4шт.

107

01580-10403

NUT

SN: 1501-UP

4шт.

108

01640-20405

WASHER

SN: 1501-UP

4шт.

109

232-855-8511

SEAL

SN: 1501-UP

2шт.

109

232-855-8510

SEAL

SN: 1500-1500

2шт.

110

232-855-8520

SEAL

SN: 1501-UP

1шт.

111

236-855-1410

SEAL

SN: 1501-UP

1шт.

112

236-855-1480

PLATE

SN: 1501-UP

2шт.

113

236-855-1490

PLATE

SN: 1501-UP

2шт.

114

01220-40812

SCREW

SN: 1501-UP

34шт.

115

01602-20825

WASHER

SN: 1501-UP

34шт.

116

236-855-1511

SEAT

SN: 1501-UP

1шт.

116

236-855-1510

SEAT

SN: 1501-UP

1шт.

117

236-855-1521

COVER

SN: 1501-UP

1шт.

117

236-855-1520

COVER

SN: 1501-UP

1шт.

118

236-855-1531

PLATE

SN: 1501-UP

1шт.

118

236-855-1530

PLATE

SN: 1501-UP

1шт.

119

01220-40508

SCREW

SN: 1501-UP

16шт.

119

01210-40516

SCREW

SN: 1500-1500

6шт.

120

01601-20513

WASHER

SN: 1501-UP

16шт.

121

236-855-1540

PLATE

SN: 1501-UP

1шт.

122

236-855-1550

PACKING

SN: 1501-UP

1шт.

123

01010-51230

BOLT

SN: 1501-UP

20шт.

124

01602-21236

WASHER

SN: 1501-UP

20шт.

124A

09691-02227

PLATE, MARK

SN: 1501-UP

1шт.

125

232-971-6460

BAND

SN: 1501-UP

1шт.

126

232-855-1870

LOCK

SN: 1501-UP

1шт.

127

232-855-1880

SPACER

SN: 1501-UP

1шт.

Выбрано товаров: 0