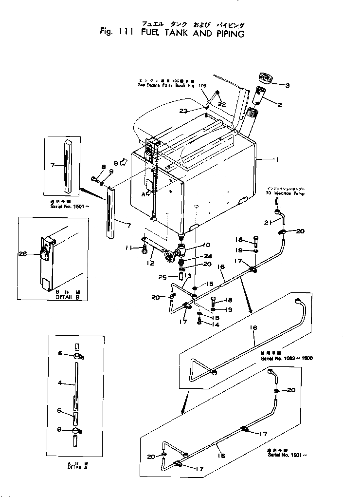
Запчасти Komatsu GD22H-1 ТОПЛ. БАК И ТОПЛИВОПРОВОД КОМПОНЕНТЫ ДВИГАТЕЛЯ И ЭЛЕКТРИКА

Схема запчастей Komatsu GD22H-1 - ТОПЛ. БАК И ТОПЛИВОПРОВОД КОМПОНЕНТЫ ДВИГАТЕЛЯ И ЭЛЕКТРИКА
FIT
1:1
100%

Артикул

Название

Примечание

Количество

1

236-04-21111

TANK

SN: 1023-1500

1шт.

1

0

TANK

SN: 1003-1022

1шт.

|$$3

(236-04-21111,236-04-21280)

-1шт.

2

236-04-21130

STRAINER

SN: 1003-1500

1шт.

2

0

STRAINER

SN: 1003-1500

1шт.

3

236-04-21120

CAP

SN: 1003-1500

1шт.

3

0

CAP

SN: 1003-1500

1шт.

4

236004-21210

GAUGE

SN: 1003-1500

1шт.

5

236-04-22150

TUBE

SN: 1155-1500

1шт.

5

0

TUBE

SN: 1003-1154

1шт.

6

364-43-13390

CLIP

SN: 1155-1500

2шт.

6

364-04-12130

CLAMP

SN: 1003-1154

2шт.

6

232-43-13450

CLAMP

SN: 1000-1000

1шт.

7

236-04-21181

COVER

SN: 1155-1500

1шт.

7

0

COVER

SN: 1003-1154

1шт.

8

01010-50610

BOLT

SN: 1003-1500

2шт.

9

01602-20619

WASHER

SN: 1003-1500

2шт.

10

154-04-12491

VALVE

SN: 1003-1500

1шт.

10

0

VALVE

SN: 1003-1500

1шт.

11

01010-51218

BOLT

SN: 1003-1500

4шт.

12

01602-21236

WASHER

SN: 1003-1500

4шт.

12

236-04-21270

PLATE

SN: 1003-1082

2шт.

13

230-04-22110

TUBE

SN: 1003-1082

1шт.

14

07206-11014

BOLT

SN: 1003-1500

1шт.

15

07005-01412

GASKET

SN: 1003-1500

2шт.

16

07261-20913

HOSE

SN: 1000-1000

1шт.

16

0

HOSE

SN: 1000-1000

1шт.

16

236-04-22140

TUBE

SN: 1083-1500

1шт.

16

07270-01098

TUBE

SN: 1003-1082

1шт.

17

232-06-13250

CLIP

SN: 1083-1500

1шт.

17

08036-01414

CLIP

SN: 1003-1082

2шт.

17

08035-01510

CLIP

SN: 1000-1000

3шт.

18

01010-51016

BOLT

SN: 1000-1000

3шт.

18

01010-51016

BOLT

SN: 1083-1500

1шт.

18

01010-51016

BOLT

SN: 1003-1082

2шт.

19

01602-21030

WASHER

SN: 1000-1000

3шт.

19

01602-21030

WASHER

SN: 1083-1500

1шт.

19

01602-21030

WASHER

SN: 1002-1082

2шт.

20

07281-00197

CLAMP

SN: 1000-1000

2шт.

20

232-43-13450

CLAMP

SN: 1083-1500

1шт.

20

232-43-13450

CLAMP

SN: 1003-1082

3шт.

21

236-04-22120

TUBE

SN: 1003-1082

1шт.

22

08037-01008

GROMMET

SN: 1003-1500

1шт.

23

04059-01010

WIRE

SN: 1003-1500

1шт.

24

141-04-31170

NIPPLE

SN: 1003-1500

1шт.

25

07270-01220

TUBE

SN: 1003-1500

1шт.

26

232-46-13310

PADLOCK

SN: 1003-1500

1шт.

Выбрано товаров: 0