Запчасти Komatsu GD22H-1 КАПОТ РАМА И КУЗОВ

Схема запчастей Komatsu GD22H-1 - КАПОТ РАМА И КУЗОВ
FIT
1:1
100%

Артикул

Название

Примечание

Количество

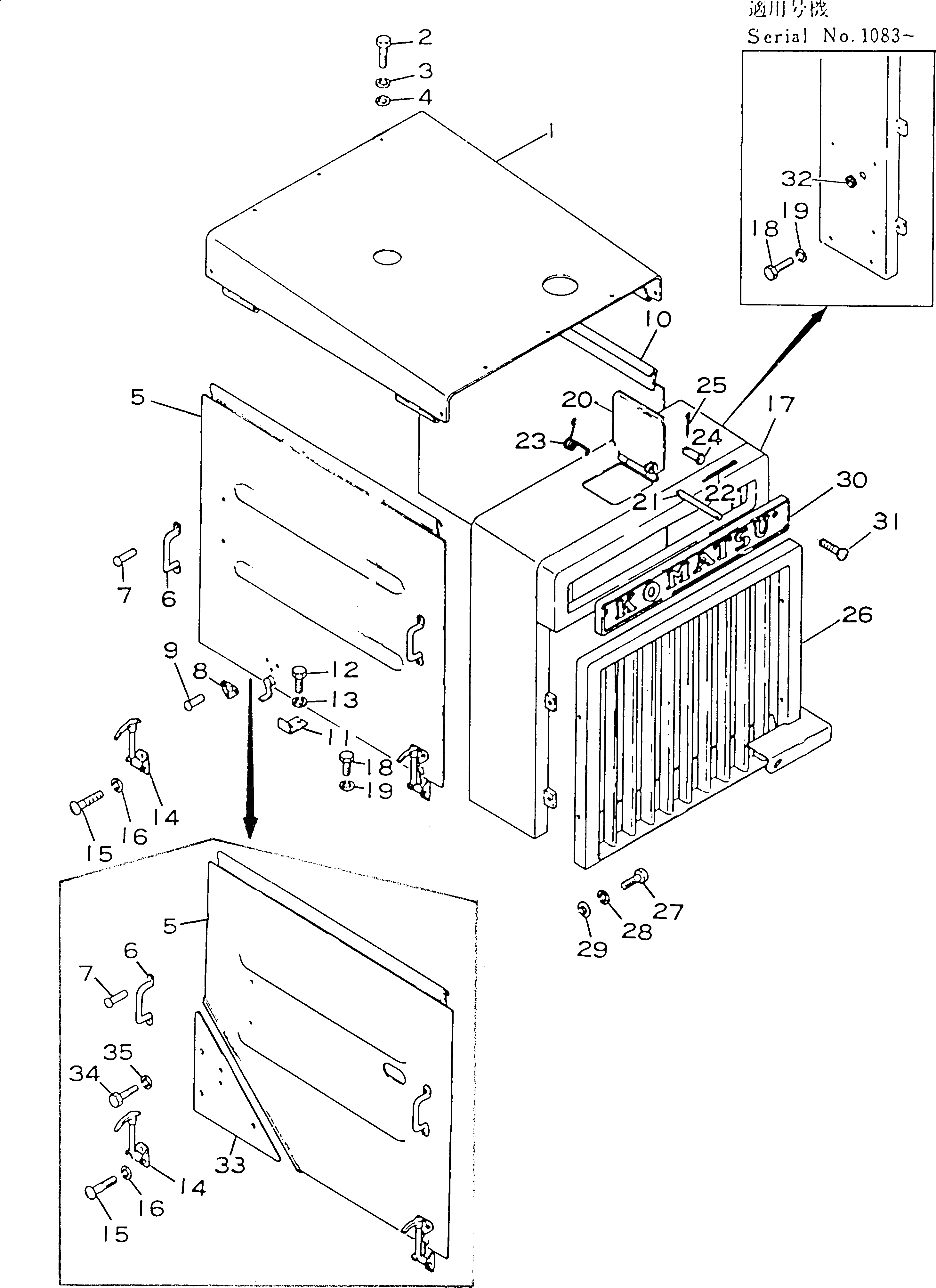
1

236-54-23130

BONNET

SN: 1003-1500

1шт.

2

01010-51020

BOLT

SN: 1003-1500

10шт.

3

01602-21030

WASHER

SN: 1003-1500

10шт.

4

01641-21016

WASHER

SN: 1003-1500

10шт.

5

236-54-23141

COVER

SN: 1142-1500

1шт.

|5

236-54-23140

COVER

SN: 1003-1141

1шт.

6

232-54-12250

HANGER

SN: 1003-@

2шт.

7

04400-00818

RIVET

SN: 1003-@

4шт.

8

232-54-12260

PLATE

SN: 1003-@

2шт.

9

04400-00510

RIVET

SN: 1003-@

6шт.

10

236-54-23151

COVER

SN: 1142-1500

1шт.

|10

236-54-23150

COVER

SN: 1003-1141

1шт.

|10

232-54-12250

HANGER

SN: 1003-@

2шт.

|10

04400-00818

RIVET

SN: 1003-@

4шт.

|10

232-54-12260

PLATE

SN: 1003-@

2шт.

|10

04400-00510

RIVET

SN: 1003-@

6шт.

11

236-54-23171

BRACKET

SN: 1142-1150

2шт.

|11

236-54-23170

BRACKET

SN: 1003-1141

2шт.

12

01010-51020

BOLT

SN: 1003-1500

4шт.

13

01602-21030

WASHER

SN: 1003-1500

4шт.

14

232-54-12230

CATCHER

SN: 1003-@

4шт.

15

01220-40408

SCREW

SN: 1142-@

4шт.

|15

01220-30412

SCREW

SN: 1003-1141

8шт.

16

01601-20410

WASHER

SN: 1142-@

4шт.

|16

01601-00410

WASHER

SN: 1003-1141

8шт.

17

236-54-23113

GUARD

SN: 1083-1500

1шт.

|17

236-54-23112

GUARD

SN: 1003-1082

1шт.

18

01010-51025

BOLT

SN: 1083-@

4шт.

19

01602-21030

WASHER

SN: 1083-@

4шт.

20

141-54-11170

COVER

SN: 1003-1500

1шт.

21

131-54-11270

PIN

SN: 1003-@

1шт.

22

04050-01610

PIN

SN: 1003-@

2шт.

23

131-54-11150

SPRING

SN: 1003-1500

1шт.

24

04205-00616

PIN

SN: 1003-@

2шт.

25

04050-01610

PIN

SN: 1003-@

2шт.

26

236-54-23120

MASK

SN: 1003-1500

1шт.

27

01010-51020

BOLT

SN: 1003-1500

4шт.

28

01602-21030

WASHER

SN: 1003-1500

4шт.

29

01640-21016

WASHER

SN: 1003-1500

4шт.

30

236-54-23160

MARK

SN: 1003-1500

1шт.

31

01225-40820

SCREW

SN: 1003-1500

2шт.

32

08037-01610

GROMMET

SN: 1083-1500

2шт.

33

236-54-23180

PLATE

SN: 1142-1500

2шт.

34

01010-51020

BOLT

SN: 1142-1500

6шт.

35

01602-21030

WASHER

SN: 1142-1500

6шт.

Выбрано товаров: 45