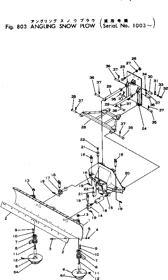
Запчасти Komatsu GD22H-1 ПОВОРОТН. ОТВАЛ Д/СНЕГА ОПЦИОННЫЕ КОМПОНЕНТЫ

Схема запчастей Komatsu GD22H-1 - ПОВОРОТН. ОТВАЛ Д/СНЕГА ОПЦИОННЫЕ КОМПОНЕНТЫ
FIT
1:1
100%

Артикул

Название

Примечание

Количество

|1

236-979-0010

PLOW ASS'Y

SN: 1003-1500

1шт.

1

236-979-1110

PLOW

SN: 1003-1500

1шт.

2

236-978-1151

EDGE

SN: 1003-1500

2шт.

3

02090-11050

BOLT

SN: 1003-1500

14шт.

4

02290-11016

NUT

SN: 1003-1500

14шт.

5

01602-21648

WASHER

SN: 1003-1500

14шт.

|6

236-970-0021

SLED ASS'Y

SN: 1003-1500

2шт.

6

236-970-2431

SLED

SN: 1003-1500

1шт.

6A

236-970-2560

PLATE (WELDED)

SN: 1003-1500

1шт.

7

236-970-2451

COVER

SN: 1003-1500

1шт.

8

236-970-2460

SHIM

SN: 1003-1500

5шт.

9

01010-51025

BOLT

SN: 1003-1500

4шт.

10

01602-21030

WASHER

SN: 1003-1500

4шт.

11

236-970-2471

SHAFT

SN: 1003-1500

1шт.

12

07020-00675

FITTING

SN: 1003-1500

1шт.

13

01580-13024

NUT

SN: 1003-1500

2шт.

14

236-979-1140

YOKE

SN: 1003-1500

1шт.

15

236-979-1150

ROD

SN: 1003-1500

1шт.

16

236-979-1160

PIN

SN: 1003-1500

4шт.

17

236-979-1120

ARM

SN: 1003-1500

1шт.

18

236-979-1130

ROD

SN: 1003-1500

1шт.

19

232-979-3161

PIN

SN: 1003-1500

4шт.

|20

236-979-0020

SUPPORT ASS'Y

SN: 1003-1500

1шт.

20

236-979-1310

BRACKET

SN: 1003-1500

1шт.

21

236-979-1170

PIN

SN: 1003-1500

2шт.

22

07020-00675

FITTING

SN: 1003-1500

2шт.

23

232-979-3161

PIN

SN: 1003-1500

2шт.

24

236-979-1320

BRACKET

SN: 1003-1500

1шт.

25

01010-52080

BOLT

SN: 1003-1500

8шт.

26

01580-12018

NUT

SN: 1003-1500

8шт.

27

01602-22060

WASHER

SN: 1003-1500

8шт.

28

236-979-1330

SUPPORT

SN: 1003-1500

1шт.

29

236-70-23141

ARM

SN: 1003-1500

2шт.

30

236-70-23150

PIN

SN: 1003-1500

2шт.

31

04082-00206

LOCK

SN: 1003-1500

2шт.

32

01010-51225

BOLT

SN: 1003-1500

4шт.

33

01602-21236

WASHER

SN: 1003-1500

4шт.

34

07020-00000

FITTING

SN: 1003-1500

2шт.

35

236-70-23160

PIN

SN: 1003-1500

4шт.

36

236-70-23170

PIN

SN: 1003-1500

4шт.

37

236-70-23180

PIN

SN: 1003-1500

8шт.

Выбрано товаров: 41