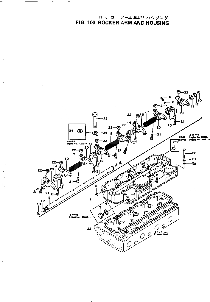
Запчасти Komatsu 4D105-1D КОРОМЫСЛО И КОЖУХ ГОЛОВКА ЦИЛИНДРОВ

Схема запчастей Komatsu 4D105-1D - КОРОМЫСЛО И КОЖУХ ГОЛОВКА ЦИЛИНДРОВ
FIT
1:1
100%

Артикул

Название

Примечание

Количество

|$0

6130-11-7101

HOUSING ASS'Y,ROCKER ARM

SN: .-UP

1шт.

|$1

0

HOUSING ASS'Y,ROCKER ARM

SN: 11106-.

1шт.

1

0

HOUSING

SN: 11106-UP

1шт.

2

6130-11-7120

PLUG

SN: 11106-UP

1шт.

3

6130-11-7150

PLUG

SN: 11106-.

1шт.

4

07005-02216

GASKET

SN: 11106-.

1шт.

5

6130-11-8410

PLATE

SN: 11106-UP

1шт.

6

6130-11-8420

GASKET (K1)

SN: 11106-UP

1шт.

7

01010-30820

BOLT

SN: 11106-UP

4шт.

8

01602-00825

WASHER,SPRING

SN: 11106-UP

4шт.

|$10

6130-41-5200

ROCKER ARM SHAFT A.

SN: 11106-UP

1шт.

|$11

6130-41-5020

SHAFT ASS'Y,ROCKER ARM

SN: 11106-UP

1шт.

9

6130-41-5211

SHAFT

SN: 11106-UP

1шт.

10

6130-41-5550

PLUG

SN: 11106-UP

2шт.

11

6130-41-5540

PLATE

SN: 11106-UP

2шт.

12

04066-00020

RING,SNAP

SN: 11106-UP

2шт.

13

6130-41-5110

BRACKET

SN: 11106-UP

1шт.

14

6130-41-5120

BRACKET

SN: 11106-UP

3шт.

15

01010-30612

BOLT

SN: 11106-UP

1шт.

16

01602-00619

WASHER,SPRING

SN: 11106-UP

1шт.

17

6130-41-5320

SPRING

SN: 11106-UP

2шт.

18

6130-41-5330

SPRING

SN: 11106-UP

1шт.

19

6130-41-5510

ARM,ROCKER, INTAKE

SN: 11106-UP

4шт.

20

6130-41-5410

ARM,ROCKER, EXHAUST

SN: 11106-UP

4шт.

21

6130-41-5442

SCREW,ADJUST

SN: 11106-UP

8шт.

22

6130-41-5430

NUT

SN: 11106-UP

8шт.

23

01010-31230

BOLT

SN: 11106-UP

4шт.

24

01602-01236

WASHER,SPRING

SN: 12151-UP

4шт.

24

01650-11212

WASHER,LOCK

SN: 11106-12150

4шт.

25

6130-11-7810

GASKET (K1)

SN: 11106-UP

1шт.

26

01010-30885

BOLT

SN: 11106-UP

15шт.

27

01602-00825

WASHER,SPRING

SN: 11106-UP

15шт.

28

01643-00823

WASHER

SN: 11106-UP

15шт.

|$0

6130-11-7101

HOUSING ASS'Y,ROCKER ARM

SN: .-UP

1шт.

|$1

0

HOUSING ASS'Y,ROCKER ARM

SN: 11106-.

1шт.

1

0

HOUSING

SN: 11106-UP

1шт.

2

6130-11-7120

PLUG

SN: 11106-UP

1шт.

3

6130-11-7150

PLUG

SN: 11106-.

1шт.

4

07005-02216

GASKET

SN: 11106-.

1шт.

5

6130-11-8410

PLATE

SN: 11106-UP

1шт.

6

6130-11-8420

GASKET (K1)

SN: 11106-UP

1шт.

7

01010-30820

BOLT

SN: 11106-UP

4шт.

8

01602-00825

WASHER,SPRING

SN: 11106-UP

4шт.

|$10

6130-41-5200

ROCKER ARM SHAFT A.

SN: 11106-UP

1шт.

|$11

6130-41-5020

SHAFT ASS'Y,ROCKER ARM

SN: 11106-UP

1шт.

9

6130-41-5211

SHAFT

SN: 11106-UP

1шт.

10

6130-41-5550

PLUG

SN: 11106-UP

2шт.

11

6130-41-5540

PLATE

SN: 11106-UP

2шт.

12

04066-00020

RING,SNAP

SN: 11106-UP

2шт.

13

6130-41-5110

BRACKET

SN: 11106-UP

1шт.

14

6130-41-5120

BRACKET

SN: 11106-UP

3шт.

15

01010-30612

BOLT

SN: 11106-UP

1шт.

16

01602-00619

WASHER,SPRING

SN: 11106-UP

1шт.

17

6130-41-5320

SPRING

SN: 11106-UP

2шт.

18

6130-41-5330

SPRING

SN: 11106-UP

1шт.

19

6130-41-5510

ARM,ROCKER, INTAKE

SN: 11106-UP

4шт.

20

6130-41-5410

ARM,ROCKER, EXHAUST

SN: 11106-UP

4шт.

21

6130-41-5442

SCREW,ADJUST

SN: 11106-UP

8шт.

22

6130-41-5430

NUT

SN: 11106-UP

8шт.

23

01010-31230

BOLT

SN: 11106-UP

4шт.

24

01602-01236

WASHER,SPRING

SN: 12151-UP

4шт.

24

01650-11212

WASHER,LOCK

SN: 11106-12150

4шт.

25

6130-11-7810

GASKET (K1)

SN: 11106-UP

1шт.

26

01010-30885

BOLT

SN: 11106-UP

15шт.

27

01602-00825

WASHER,SPRING

SN: 11106-UP

15шт.

28

01643-00823

WASHER

SN: 11106-UP

15шт.

Выбрано товаров: 66