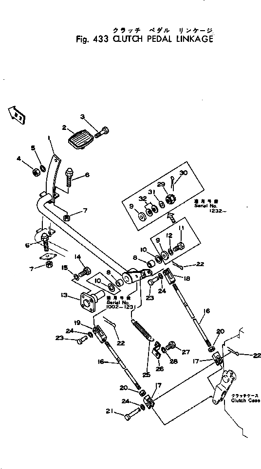
Запчасти Komatsu GD28AC-1 МУФТА ПЕДАЛЬ И МЕХАНИЗМ РУЛЕВ. УПРАВЛЕНИЕ И СИСТЕМА УПРАВЛЕНИЯS

Схема запчастей Komatsu GD28AC-1 - МУФТА ПЕДАЛЬ И МЕХАНИЗМ РУЛЕВ. УПРАВЛЕНИЕ И СИСТЕМА УПРАВЛЕНИЯS
FIT
1:1
100%

Артикул

Название

Примечание

Количество

1

237-43-18110

ARM

SN: 1002-UP

1шт.

2

232-43-13130

PEDAL

SN: 1002-UP

1шт.

3

01010-31035

BOLT

SN: 1002-UP

1шт.

4

01580-01008

NUT

SN: 1002-1015

1шт.

5

01602-01030

WASHER,SPRING

SN: 1002-UP

1шт.

6

09311-31237

BUMPER

SN: 1002-UP

2шт.

7

01580-01207

NUT

SN: 1002-UP

2шт.

8

237-43-18150

BUSHING

SN: 1002-UP

2шт.

9

237-43-18210

WASHER

SN: 1232-UP

1шт.

9

237-43-18170

WASHER

SN: 1002-1231

1шт.

10

237-43-18180

WASHER

SN: 1232-UP

1шт.

10

237-43-18180

WASHER

SN: 1002-1231

2шт.

11

01010-31225

BOLT

SN: 1002-1231

1шт.

12

01602-01236

WASHER,SPRING

SN: 1002-1231

1шт.

13

237-43-18161

SHAFT

SN: 1232-UP

1шт.

13

237-43-18160

SHAFT

SN: 1002-1231

1шт.

14

01010-30825

BOLT

SN: 1002-UP

4шт.

15

01602-00825

WASHER,SPRING

SN: 1002-UP

4шт.

16

237-43-18120

ROD

SN: 1002-UP

2шт.

17

04221-21266

YOKE

SN: 1002-UP

2шт.

18

236-43-29150

YOKE

SN: 1002-UP

1шт.

19

236-43-29160

YOKE

SN: 1002-UP

1шт.

20

01580-01210

NUT

SN: 1002-UP

2шт.

21

236-43-29170

PIN

SN: 1002-UP

1шт.

22

04050-13020

PIN,COTTER

SN: 1002-UP

3шт.

23

04205-11238

PIN

SN: 1002-UP

2шт.

24

01641-21223

WASHER

SN: 1002-UP

3шт.

25

232-43-13162

SPRING

SN: 1016-UP

1шт.

25

0

SPRING

SN: 1002-1015

1шт.

26

236-43-29130

PLATE

SN: 1002-UP

1шт.

27

01010-31020

BOLT

SN: 1002-UP

1шт.

28

01602-01030

WASHER,SPRING

SN: 1002-UP

1шт.

29

01592-12020

NUT

SN: 1232-UP

1шт.

30

04050-14040

PIN,COTTER

SN: 1232-UP

1шт.

31

01643-32060

WASHER

SN: 1232-UP

1шт.

32

237-43-18220

SPRING

SN: 1232-UP

2шт.

Выбрано товаров: 36