Запчасти Komatsu GD28AC-1 ОТВАЛ ¤M РАБОЧЕЕ ОБОРУДОВАНИЕ И ГИДРАВЛ СИСТЕМА УПРАВЛЕНИЯ

Схема запчастей Komatsu GD28AC-1 - ОТВАЛ ¤M РАБОЧЕЕ ОБОРУДОВАНИЕ И ГИДРАВЛ СИСТЕМА УПРАВЛЕНИЯ
FIT
1:1
100%

Артикул

Название

Примечание

Количество

|$0

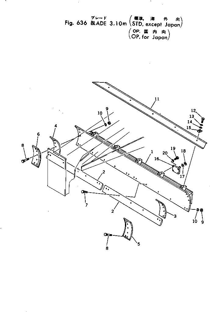
237-870-0041

BLADE ASS'Y

SN: 1004-UP

1шт.

|$1

0

BLADE ASS'Y

SN: 1002-1003

1шт.

|$2

237-870-0020

BLADE ASS'Y,3.1M

SN: 1002-UP

1шт.

1

237-870-1110

BLADE

SN: 1002-UP

1шт.

1

237-70-12350

RAIL (WELDED)

SN: 1002-UP

2шт.

2

233-70-12141

EDGE

SN: 1002-UP

2шт.

3

237-870-1120

BIT,END

SN: 1002-UP

1шт.

4

237-870-1130

BIT,END

SN: 1002-UP

1шт.

5

232-70-12150

BIT,END

SN: 1002-UP

1шт.

6

232-70-12160

BIT,END

SN: 1002-UP

1шт.

7

232-70-12460

BOLT

SN: 1002-UP

10шт.

8

232-70-12450

BOLT

SN: 1002-UP

12шт.

9

02290-11016

NUT

SN: 1002-UP

22шт.

10

01602-21648

WASHER,SPRING

SN: 1002-UP

22шт.

11

237-70-12130

COVER

SN: 1002-UP

1шт.

12

01010-31025

BOLT

SN: 1002-UP

5шт.

13

01602-01030

WASHER,SPRING

SN: 1002-UP

5шт.

14

01643-31032

WASHER

SN: 1004-UP

5шт.

14

0

WASHER

SN: 1002-1003

5шт.

15

234-70-12331

PLATE

SN: 1004-UP

5шт.

16

237-70-15110

BRACKET

SN: 1002-UP

1шт.

17

01640-23045

WASHER

SN: 1002-UP

1шт.

18

04064-03015

RING,SNAP

SN: 1002-UP

1шт.

19

01010-31230

BOLT

SN: 1002-UP

4шт.

20

01602-01236

WASHER,SPRING

SN: 1002-UP

4шт.

Выбрано товаров: 25