Запчасти Komatsu GD28AC-1 ГИДРОЦИЛИНДР ПОДЪЕМА (ВНУТР. ЧАСТИ) ОПЦИОННЫЕ КОМПОНЕНТЫ

Схема запчастей Komatsu GD28AC-1 - ГИДРОЦИЛИНДР ПОДЪЕМА (ВНУТР. ЧАСТИ) ОПЦИОННЫЕ КОМПОНЕНТЫ
FIT
1:1
100%

Артикул

Название

Примечание

Количество

|$0

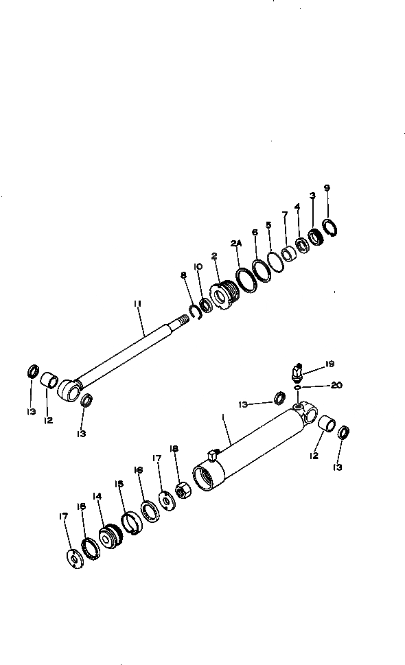
237-63-32101

CYLINDER ASS'Y

SN: 1364-UP

1шт.

|$1

0

CYLINDER ASS'Y

SN: 1002-1363

1шт.

1

237-63-32140

CYLINDER

SN: 1002-UP

1шт.

2

237-63-32130

HEAD,CYLINDER

SN: 1364-UP

1шт.

2

10E-63-56132

HEAD,CYLINDER

SN: 1002-1363

1шт.

2A

707-45-80010

LOCK

SN: 1364-UP

1шт.

3

707-57-40011

RETAINER

SN: 1364-UP

1шт.

3

10E-63-56270

RETAINER

SN: 1002-1363

1шт.

4

236-63-11173

PACKING,ROD

SN: 1002-UP

1шт.

5

07000-12085

O-RING

SN: 1002-UP

1шт.

6

07001-02085

RING,BACK-UP

SN: 1002-UP

1шт.

7

07177-04025

BUSHING

SN: 1002-UP

1шт.

8

07179-00059

RING,SNAP

SN: 1002-UP

1шт.

9

04065-06020

RING,SNAP

SN: 1002-UP

1шт.

10

07016-00407

SEAL,DUST

SN: 1002-UP

1шт.

11

236-63-32120

ROD,PISTON

SN: 1002-UP

1шт.

12

07143-10404

BUSHING

SN: 1002-UP

2шт.

13

07145-00040

SEAL,DUST

SN: 1002-UP

4шт.

14

07150-00827

PISTON

SN: 1002-UP

1шт.

15

07155-00820

RING,WEAR

SN: 1002-UP

1шт.

16

20R-63-56280

U-PACKING,ROD

SN: 1002-UP

2шт.

17

233-63-32170

RETAINER

SN: 1002-UP

2шт.

18

07165-12729

NUT,NYLON

SN: 1002-UP

1шт.

19

07236-10315

ELBOW

SN: 1002-UP

1шт.

20

07002-12034

O-RING

SN: 1002-UP

1шт.

Выбрано товаров: 25