Запчасти Komatsu GD28AC-1 ANGLING SNOW PLOOW ОПЦИОННЫЕ КОМПОНЕНТЫ

Схема запчастей Komatsu GD28AC-1 - ANGLING SNOW PLOOW ОПЦИОННЫЕ КОМПОНЕНТЫ
FIT
1:1
100%

Артикул

Название

Примечание

Количество

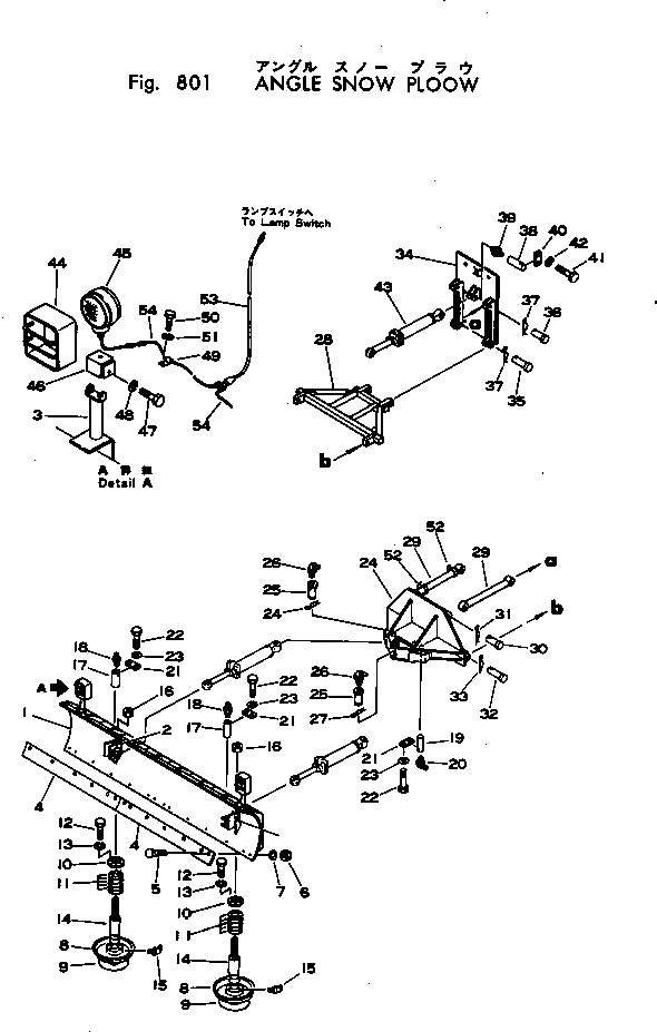
|1

237-979-0010

PLOW ASS'Y

SN: 1002-UP

1шт.

|$$2

THIS ASSEMBLY CONSISTS OF ALL PARTS SHOWN IN FIGS.801 TO 803.

-1шт.

|1

237-979-0020

PLOW ASS'Y

SN: 1002-UP

1шт.

1

237-979-1110

PLOW

SN: 1002-UP

1шт.

2

236-970-2320

BOSS,(WELDED)

SN: 1002-UP

2шт.

3

237-979-1190

BRACKET,(WELDED)

SN: 1002-UP

2шт.

4

237-70-12120

EDGE

SN: 1002-UP

2шт.

5

232-70-12450

BOLT

SN: 1002-UP

14шт.

6

02290-11016

NUT

SN: 1002-UP

14шт.

7

01602-21648

WASHER,SPRING

SN: 1002-UP

14шт.

|8

236-970-0021

SLED ASS'Y

SN: 1002-UP

2шт.

8

236-970-2431

SLED

SN: 1002-UP

1шт.

9

236-970-2560

PLATE (WELDED)

SN: 1002-UP

1шт.

10

236-970-2451

COVER

SN: 1002-UP

1шт.

11

236-970-2460

SHIM

SN: 1002-UP

5шт.

12

01010-51025

BOLT

SN: 1002-UP

4шт.

13

01602-21030

WASHER,SPRING

SN: 1002-UP

4шт.

14

236-970-2471

SHAFT

SN: 1002-UP

1шт.

15

07020-00675

FITTING,GREASE

SN: 1002-UP

1шт.

16

01580-13024

NUT

SN: 1002-UP

1шт.

17

236-979-2130

PIN

SN: 1002-UP

2шт.

18

07020-00000

FITTING,GREASE

SN: 1002-UP

2шт.

19

236-979-2140

PIN

SN: 1002-UP

2шт.

20

07020-00900

FITTING,GREASE

SN: 1002-UP

2шт.

21

04082-00209

LOCK

SN: 1002-UP

4шт.

22

01010-51218

BOLT

SN: 1002-UP

8шт.

23

01602-21236

WASHER,SPRING

SN: 1002-UP

8шт.

|24

237-979-0030

LINK ASS'Y

SN: 1002-UP

1шт.

24

237-979-1210

BRACKET

SN: 1002-UP

1шт.

25

236-979-1170

PIN

SN: 1002-UP

2шт.

26

07020-00675

FITTING,GREASE

SN: 1002-UP

2шт.

27

232-979-3161

PIN

SN: 1002-UP

2шт.

28

237-979-1220

SUPPORT

SN: 1002-UP

1шт.

29

237-979-1230

ARM

SN: 1002-UP

2шт.

30

237-71-11250

PIN

SN: 1002-UP

2шт.

31

232-979-3161

PIN

SN: 1002-UP

2шт.

32

237-71-11240

PIN

SN: 1002-UP

2шт.

33

232-979-3161

PIN

SN: 1002-UP

2шт.

34

237-979-1410

BRACKET

SN: 1002-UP

1шт.

35

237-71-11240

PIN

SN: 1002-UP

2шт.

36

237-71-11250

PIN

SN: 1002-UP

2шт.

37

232-979-3161

PIN

SN: 1002-UP

4шт.

38

236-70-23150

PIN

SN: 1002-UP

2шт.

39

07020-00000

FITTING,GREASE

SN: 1002-UP

2шт.

40

04082-00206

LOCK

SN: 1002-UP

2шт.

41

01010-51225

BOLT

SN: 1002-UP

4шт.

42

01602-21236

WASHER,SPRING

SN: 1002-UP

4шт.

43

237-63-32101

CYLINDER ASS'Y,LIFT

SN: 1364-UP

1шт.

|43

237-63-32100

CYLINDER ASS'Y,LIFT

SN: 1002-1363

1шт.

44

232-979-1380

PROTECTOR

SN: 1002-UP

2шт.

45

232-806-9340

LAMP

SN: 1002-UP

2шт.

46

232-806-9240

BRACKET

SN: 1002-UP

2шт.

47

01010-50818

BOLT

SN: 1002-UP

4шт.

48

01602-20825

WASHER,SPRING

SN: 1002-UP

4шт.

49

03036-10610

CLIP

SN: 1002-UP

2шт.

50

01010-50816

BOLT

SN: 1002-UP

2шт.

51

01602-20825

WASHER,SPRING

SN: 1002-UP

2шт.

52

08034-00519

BAND

SN: 1002-UP

4шт.

53

237-979-1510

CABLE

SN: 1002-UP

1шт.

54

237-979-1520

CABLE

SN: 1002-UP

2шт.

Выбрано товаров: 60