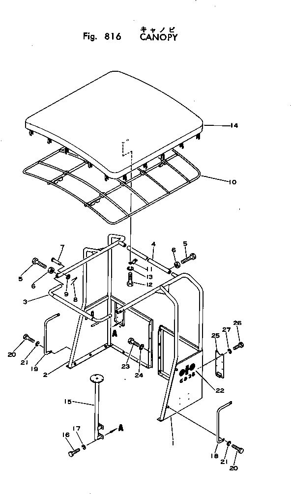
Запчасти Komatsu GD28AC-1 CANVAS НАВЕС ОПЦИОННЫЕ КОМПОНЕНТЫ

Схема запчастей Komatsu GD28AC-1 - CANVAS НАВЕС ОПЦИОННЫЕ КОМПОНЕНТЫ
FIT
1:1
100%

Артикул

Название

Примечание

Количество

|1

237-855-0100

CANOPY ASS'Y

SN: 1002-UP

1шт.

1

237-855-7110

GUARD

SN: 1002-UP

1шт.

2

237-855-7120

GUARD

SN: 1002-UP

1шт.

3

237-855-7130

BAR

SN: 1002-UP

1шт.

4

237-855-7140

BAR

SN: 1002-UP

1шт.

5

01016-51235

BOLT

SN: 1002-UP

4шт.

6

01580-11210

NUT

SN: 1002-UP

4шт.

7

234-820-1210

PIN

SN: 1002-UP

2шт.

8

04050-12012

PIN,COTTER

SN: 1002-UP

2шт.

9

01641-20812

WASHER

SN: 1002-UP

2шт.

10

232-55-13112

ROOF

SN: 1002-UP

1шт.

11

131-906-1150

CLIP

SN: 1002-UP

4шт.

12

01010-51430

BOLT

SN: 1002-UP

8шт.

13

01602-21442

WASHER,SPRING

SN: 1002-UP

8шт.

14

232-55-13160

SHEET

SN: 1002-UP

1шт.

15

237-06-14250

BRACKET

SN: 1002-UP

1шт.

16

01010-51020

BOLT

SN: 1002-UP

4шт.

17

01602-21030

WASHER,SPRING

SN: 1002-UP

4шт.

18

234-54-11361

HAND RAIL

SN: 1002-UP

1шт.

19

234-54-11371

HAND RAIL

SN: 1002-UP

1шт.

20

01010-51020

BOLT

SN: 1002-UP

4шт.

21

01602-21030

WASHER,SPRING

SN: 1002-UP

4шт.

22

09691-02287

PLATE¤ MARK

SN: 1002-UP

2шт.

23

01010-51225

BOLT

SN: 1002-UP

16шт.

24

01602-21236

WASHER,SPRING

SN: 1002-UP

16шт.

25

237-54-11230

PLATE

SN: 1002-UP

1шт.

26

01010-50610

BOLT

SN: 1002-UP

8шт.

27

01602-20619

WASHER,SPRING

SN: 1002-UP

8шт.

Выбрано товаров: 28