Запчасти Komatsu 4D105-3G МАСЛ. ФИЛЬТР(№-8) СИСТЕМА СМАЗКИ МАСЛ. СИСТЕМА

Схема запчастей Komatsu 4D105-3G - МАСЛ. ФИЛЬТР(№-8) СИСТЕМА СМАЗКИ МАСЛ. СИСТЕМА
FIT
1:1
100%

Артикул

Название

Примечание

Количество

|$0

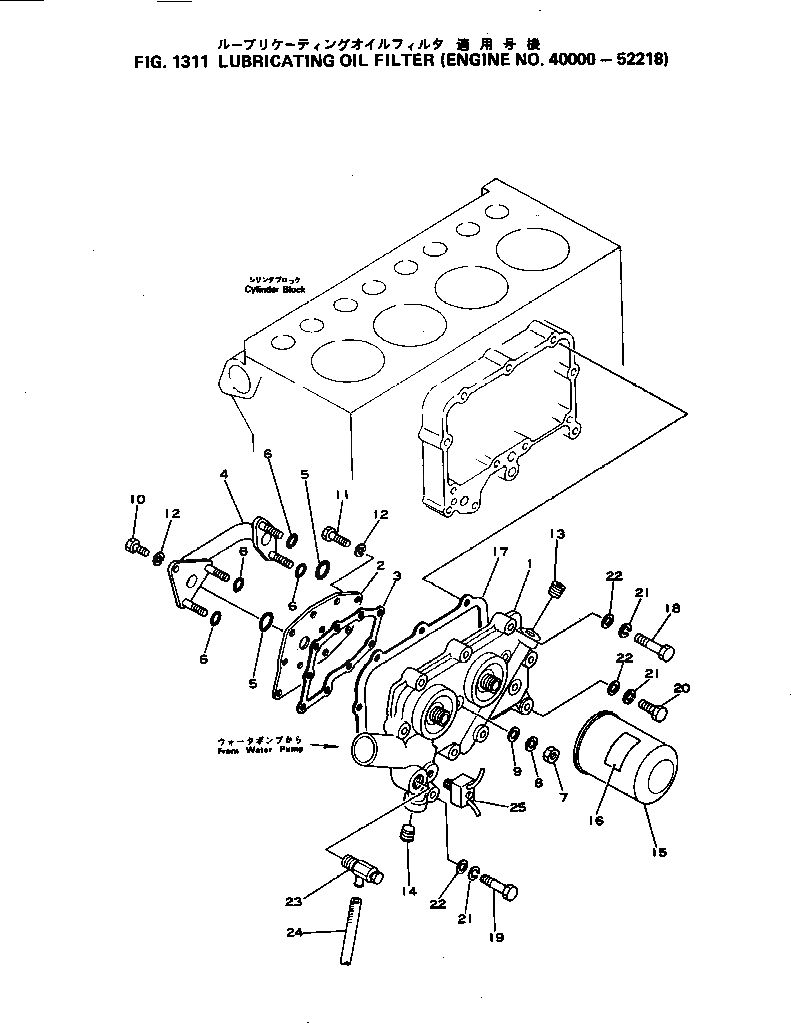
6130-52-5102

OIL FILTER ASS'Y

SN: 40000-@

1шт.

|$1

0

OIL FILTER ASS'Y

SN: 42801-52218

1шт.

|$2

0

OIL FILTER ASS'Y

SN: 40000-42800

1шт.

1

6130-52-5111

COVER

SN: 42801-52218

1шт.

1

6130-52-5110

COVER

SN: 40000-42800

1шт.

2

6130-52-5171

COVER

SN: 42801-52218

1шт.

2

6130-52-5170

COVER

SN: 40000-42800

1шт.

3

6130-52-5180

GASKET (K2)

SN: 40000-@

1шт.

4

6130-52-5120

PIPE

SN: 40000-52218

1шт.

5

07000-63028

O-RING (K2)

SN: 42801-52218

2шт.

5

07000-63025

O-RING (K2)

SN: 40000-42800

2шт.

6

6127-61-2971

O-RING (K2)

SN: 45397-52218

4шт.

6

0

O-RING (K2)

SN: 40000-45396

4шт.

7

01580-00806

NUT

SN: 40000-52218

4шт.

8

01602-00825

WASHER,SPRING

SN: 40000-52218

4шт.

9

01640-20816

WASHER

SN: 40000-52218

4шт.

10

01010-30825

BOLT

SN: 40000-52218

1шт.

11

01010-30816

BOLT

SN: 40000-52218

8шт.

12

01602-00825

WASHER,SPRING

SN: 40000-52218

9шт.

13

07043-00415

PLUG

SN: 40000-@

1шт.

14

6130-22-3920

PLUG

SN: .-52218

1шт.

14

0

PLUG

SN: 42801-.

1шт.

14

07043-00415

PLUG

SN: 40000-42800

1шт.

15

600-211-6230

CARTRIDGE

SN: 40000-@

2шт.

16

600-211-5330

PLATE, CAUTION,(CHINESE)

SN: 40000-@

2шт.

16

600-211-5380

PLATE, CAUTION,(ENGLISH-GERMAN)

SN: 40000-@

2шт.

16

600-211-5391

PLATE, CAUTION,(ENGLISH-FRENCH)

SN: 40000-@

2шт.

16

600-211-5270

PLATE, CAUTION,(ENGLISH-SPANISH)

SN: 40000-@

2шт.

16

600-211-5280

PLATE, CAUTION,(ENGLISH-PORTUGUESE)

SN: 40000-@

2шт.

17

6130-52-5810

GASKET (K2)

SN: 40000-@

1шт.

18

01010-31050

BOLT

SN: 40000-@

8шт.

19

01010-31045

BOLT

SN: 40000-@

1шт.

20

01010-31035

BOLT

SN: 40000-@

1шт.

21

01602-01030

WASHER,SPRING

SN: 40000-@

10шт.

22

01640-21016

WASHER

SN: 40000-@

10шт.

23

6140-61-6512

VALVE,DRAIN

SN: 40000-@

1шт.

|$0

6130-52-5102

OIL FILTER ASS'Y

SN: 40000-@

1шт.

|$1

0

OIL FILTER ASS'Y

SN: 42801-52218

1шт.

|$2

0

OIL FILTER ASS'Y

SN: 40000-42800

1шт.

1

6130-52-5111

COVER

SN: 42801-52218

1шт.

1

6130-52-5110

COVER

SN: 40000-42800

1шт.

2

6130-52-5171

COVER

SN: 42801-52218

1шт.

2

6130-52-5170

COVER

SN: 40000-42800

1шт.

3

6130-52-5180

GASKET (K2)

SN: 40000-@

1шт.

4

6130-52-5120

PIPE

SN: 40000-52218

1шт.

5

07000-63028

O-RING (K2)

SN: 42801-52218

2шт.

5

07000-63025

O-RING (K2)

SN: 40000-42800

2шт.

6

6127-61-2971

O-RING (K2)

SN: 45397-52218

4шт.

6

0

O-RING (K2)

SN: 40000-45396

4шт.

7

01580-00806

NUT

SN: 40000-52218

4шт.

8

01602-00825

WASHER,SPRING

SN: 40000-52218

4шт.

9

01640-20816

WASHER

SN: 40000-52218

4шт.

10

01010-30825

BOLT

SN: 40000-52218

1шт.

11

01010-30816

BOLT

SN: 40000-52218

8шт.

12

01602-00825

WASHER,SPRING

SN: 40000-52218

9шт.

13

07043-00415

PLUG

SN: 40000-@

1шт.

14

6130-22-3920

PLUG

SN: .-52218

1шт.

14

0

PLUG

SN: 42801-.

1шт.

14

07043-00415

PLUG

SN: 40000-42800

1шт.

15

600-211-6230

CARTRIDGE

SN: 40000-@

2шт.

16

600-211-5330

PLATE, CAUTION,(CHINESE)

SN: 40000-@

2шт.

16

600-211-5380

PLATE, CAUTION,(ENGLISH-GERMAN)

SN: 40000-@

2шт.

16

600-211-5391

PLATE, CAUTION,(ENGLISH-FRENCH)

SN: 40000-@

2шт.

16

600-211-5270

PLATE, CAUTION,(ENGLISH-SPANISH)

SN: 40000-@

2шт.

16

600-211-5280

PLATE, CAUTION,(ENGLISH-PORTUGUESE)

SN: 40000-@

2шт.

17

6130-52-5810

GASKET (K2)

SN: 40000-@

1шт.

18

01010-31050

BOLT

SN: 40000-@

8шт.

19

01010-31045

BOLT

SN: 40000-@

1шт.

20

01010-31035

BOLT

SN: 40000-@

1шт.

21

01602-01030

WASHER,SPRING

SN: 40000-@

10шт.

22

01640-21016

WASHER

SN: 40000-@

10шт.

23

6140-61-6512

VALVE,DRAIN

SN: 40000-@

1шт.

Выбрано товаров: 72