Запчасти Komatsu GD30-4 КОЛЕСН. ТОРМОЗ ПЕДАЛЬ КОЛЕСА¤ РУЛЕВ. УПРАВЛЕНИЕ И СИСТЕМА УПРАВЛЕНИЯS

Схема запчастей Komatsu GD30-4 - КОЛЕСН. ТОРМОЗ ПЕДАЛЬ КОЛЕСА¤ РУЛЕВ. УПРАВЛЕНИЕ И СИСТЕМА УПРАВЛЕНИЯS
FIT
1:1
100%

Артикул

Название

Примечание

Количество

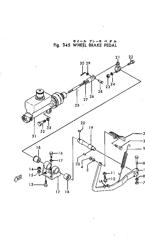
1

230-43-13117

LEVER

SN: 1545-UP

1шт.

|1

230-43-13116

LEVER

SN: 1509-1544

1шт.

|1

0

LEVER

SN: 928-1508

1шт.

|$$4

(230-43-13116{232-43-13551)}

-1шт.

|1

230-43-13114

LEVER

SN: 909-927

1шт.

|1

230-43-13115

LEVER

SN: 880-908

1шт.

|1

230-43-13114

LEVER

SN: 801-879

1шт.

|1

230-43-13113

LEVER

SN: 185-800

1шт.

1A

232-43-13551

CUSHION

SN: 1545-UP

1шт.

|1A

232-43-13550

CUSHION

SN: 928-1544

1шт.

|1A

232-43-13550

CUSHION

SN: 880-908

1шт.

2

232-43-13130

PEDAL

SN: 801-UP

1шт.

|2

230-43-14131

PEDAL

SN: 185-800

1шт.

3

01010-31040

BOLT

SN: 1252-UP

1шт.

|3

01000-31040

BOLT

SN: 801-1251

1шт.

|3

01000-31035

BOLT

SN: 185-800

1шт.

4

01580-01008

NUT

SN: 1252-UP

1шт.

|4

01500-01008

NUT

SN: 185-1251

1шт.

5

01602-01030

WASHER

SN: 185-UP

1шт.

6

01010-31075

BOLT

SN: 1252-UP

1шт.

|6

01000-31075

BOLT

SN: 185-1251

1шт.

7

01580-01008

NUT

SN: 1252-UP

1шт.

|7

01500-01008

NUT

SN: 185-1251

1шт.

8

01602-01030

WASHER

SN: 185-UP

1шт.

9

230-43-13120

SPRING

SN: 185-UP

1шт.

10

230-43-14142

BOLT

SN: 1252-UP

1шт.

|10

230-43-14141

BOLT

SN: 928-1251

1шт.

|10

230-43-14140

BOLT

SN: 909-927

1шт.

|10

230-43-14141

BOLT

SN: 880-908

1шт.

|10

230-43-14140

BOLT

SN: 185-879

1шт.

11

01580-01210

NUT

SN: 1252-UP

1шт.

|11

01500-01210

NUT

SN: 185-1251

1шт.

12

230-43-13132

BRACKET

SN: 185-UP

1шт.

13

01010-31230

BOLT

SN: 1252-UP

2шт.

|13

01000-31230

BOLT

SN: 185-1251

2шт.

14

01580-01210

NUT

SN: 1252-UP

2шт.

|14

01500-01210

NUT

SN: 185-1251

2шт.

15

01602-01236

WASHER

SN: 185-UP

2шт.

16

01010-31240

BOLT

SN: 1252-UP

2шт.

|16

01000-31240

BOLT

SN: 185-1251

2шт.

17

01602-01236

WASHER

SN: 185-UP

2шт.

18

232-43-13121

BUSHING

SN: 185-UP

2шт.

19

230-43-13152

SHAFT

SN: 185-UP

1шт.

20

04000-00728

KEY

SN: 185-UP

2шт.

21

230-43-13164

LEVER

SN: 801-UP

1шт.

|21

230-43-13163

LEVER

SN: 185-800

1шт.

22

01010-31055

BOLT

SN: 1252-UP

1шт.

|22

01000-31055

BOLT

SN: 185-1251

1шт.

23

01580-01008

NUT

SN: 1252-UP

1шт.

|23

01500-01008

NUT

SN: 185-1251

1шт.

24

01602-01030

WASHER

SN: 185-UP

1шт.

25

230-43-13171

ROD

SN: 1545-UP

1шт.

|25

230-43-13172

ROD

SN: 1252-1544

1шт.

|25

230-43-13171

ROD

SN: 801-1251

1шт.

|25

230-43-13170

ROD

SN: 185-800

1шт.

26

04210-01456

YOKE

SN: 801-UP

1шт.

|26

230-43-13180

YOKE

SN: 185-800

1шт.

27

01583-01408

NUT

SN: 1252-UP

2шт.

|27

01501-01408

NUT

SN: 1003-1251

2шт.

|27

01501-01408

NUT

SN: 801-1002

1шт.

|27

01501-01608

NUT

SN: 185-800

1шт.

28

04205-01438

PIN

SN: 801-UP

1шт.

|28

04205-01442

PIN

SN: 185-800

1шт.

29

01641-01426

WASHER

SN: 185-800

1шт.

30

04050-04022

PIN

SN: 185-UP

1шт.

31

232-43-13102

MASTER CYLINDER A.,(SEE FIG.347C)

SN: 1545-UP

1шт.

|31

232-43-13101

MASTER CYLINDER A.,(SEE FIG.347B)

SN: 1252-1544

1шт.

|31

232-43-13100

MASTER CYLINDER A.,(SEE FIG.347B)

SN: 801-1251

1шт.

|31

230-43-13191

MASTER CYLINDER A.,(SEE FIG.347A)

SN: 245-800

1шт.

|31

230-43-13190

MASTER CYLINDER A.,(SEE FIG.347)

SN: 185-244

1шт.

32

01010-31095

BOLT

SN: 1252-UP

3шт.

|32

01000-31095

BOLT

SN: 801-1251

3шт.

|32

01000-31030

BOLT

SN: 185-800

3шт.

33

01602-01030

WASHER

SN: 185-UP

3шт.

Выбрано товаров: 74