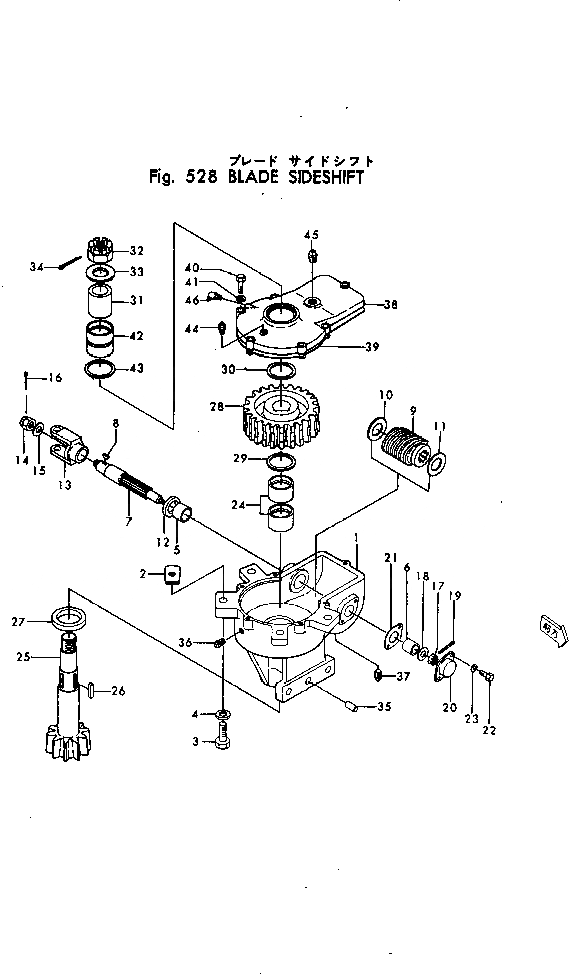
Запчасти Komatsu GD30-4 СДВИГ. ОТВАЛА РАБОЧЕЕ ОБОРУДОВАНИЕ И ITS СИСТЕМА УПРАВЛЕНИЯ

Схема запчастей Komatsu GD30-4 - СДВИГ. ОТВАЛА РАБОЧЕЕ ОБОРУДОВАНИЕ И ITS СИСТЕМА УПРАВЛЕНИЯ
FIT
1:1
100%

Артикул

Название

Примечание

Количество

|1

230-71-00282

SHIFT ASS'Y

SN: 801-UP

1шт.

|1

230-71-00281

SHIFT ASS'Y

SN: 185-800

1шт.

1

230-71-12114

CASE

SN: 1252-UP

1шт.

|1

230-71-12113

CASE

SN: 801-1251

1шт.

|1

230-71-12112

CASE

SN: 185-800

1шт.

2

230-71-12380

SHIM¤ 0.5MM

SN: 185-UP

8шт.

3

01010-31655

BOLT

SN: 1252-UP

4шт.

|3

01000-31665

BOLT

SN: 185-1251

4шт.

4

01602-01648

WASHER

SN: 185-UP

4шт.

5

232-71-13130

BUSHING

SN: 185-UP

1шт.

6

232-71-13140

BUSHING

SN: 185-UP

1шт.

7

232-71-13411

SHAFT

SN: 1252-UP

1шт.

|7

232-71-13410

SHAFT

SN: 185-1251

1шт.

8

04010-00725

KEY

SN: 185-UP

1шт.

9

230-71-12152

GEAR

SN: 185-UP

1шт.

10

232-71-13431

WASHER

SN: 1569-UP

1шт.

|10

0

WASHER

SN: 185-1568

1шт.

11

232-71-13441

WASHER

SN: 1569-UP

1шт.

|11

0

WASHER

SN: 185-1568

1шт.

12

07011-00028

SEAL

SN: 185-UP

1шт.

13

230-65-12480

YOKE

SN: 185-UP

1шт.

14

01593-01613

NUT

SN: 1252-UP

1шт.

|14

01511-31612

NUT

SN: 185-1251

1шт.

15

01640-21629

WASHER

SN: 185-UP

1шт.

16

04050-04035

PIN

SN: 185-UP

1шт.

17

01593-01613

NUT

SN: 1252-UP

1шт.

|17

01511-31612

NUT

SN: 185-1251

1шт.

18

01640-21629

WASHER

SN: 185-UP

1шт.

19

04050-04035

PIN

SN: 185-UP

1шт.

20

232-71-13220

CAP

SN: 185-UP

1шт.

21

232-71-13230

GASKET (KIT)

SN: 185-UP

1шт.

22

01010-30820

BOLT

SN: 1252-UP

2шт.

|22

01000-30820

BOLT

SN: 185-1251

2шт.

23

01602-00825

WASHER

SN: 185-UP

2шт.

24

230-71-12120

BUSHING

SN: 185-UP

2шт.

25

230-71-12163

GEAR

SN: 185-UP

1шт.

26

04000-01045

KEY

SN: 182-UP

2шт.

27

07011-00050

SEAL

SN: 185-UP

1шт.

28

230-71-12173

GEAR

SN: 185-UP

1шт.

29

230-71-12350

WASHER

SN: 185-UP

1шт.

30

230-71-12360

WASHER

SN: 185-UP

1шт.

31

230-71-12340

BUSHING

SN: 185-UP

1шт.

32

01593-03320

NUT

SN: 185-UP

1шт.

33

230-71-12320

WASHER

SN: 185-UP

1шт.

34

04050-06060

PIN

SN: 185-UP

1шт.

35

04020-01638

PIN

SN: 185-800

1шт.

36

07042-00211

PLUG

SN: 185-UP

1шт.

37

07042-00415

PLUG

SN: 185-UP

1шт.

38

230-71-12132

COVER

SN: 185-UP

1шт.

39

230-71-12141

GASKET (KIT)

SN: 185-UP

1шт.

40

01010-31030

BOLT

SN: 1252-UP

6шт.

|40

01000-41030

BOLT

SN: 185-1251

6шт.

41

01602-01030

WASHER

SN: 185-UP

6шт.

42

230-71-12310

BUSHING

SN: 185-UP

1шт.

43

07000-13060

O-RING

SN: 801-UP

1шт.

|43

230-71-12330

GASKET

SN: 185-800

1шт.

44

07030-01030

BREATHER

SN: 185-UP

1шт.

45

07042-00415

PLUG

SN: 185-UP

1шт.

46

07020-00675

FITTING

SN: 185-UP

1шт.

Выбрано товаров: 59