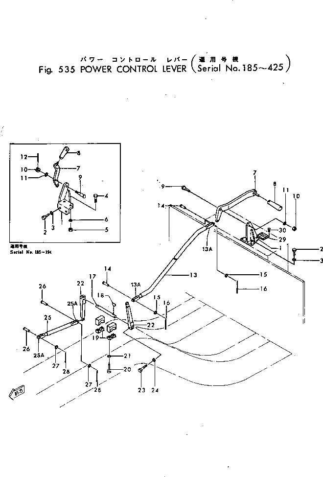
Запчасти Komatsu GD30-4 POWER РЫЧАГ УПРАВЛ-Я(№8-) РАБОЧЕЕ ОБОРУДОВАНИЕ И ITS СИСТЕМА УПРАВЛЕНИЯ

Схема запчастей Komatsu GD30-4 - POWER РЫЧАГ УПРАВЛ-Я(№8-) РАБОЧЕЕ ОБОРУДОВАНИЕ И ITS СИСТЕМА УПРАВЛЕНИЯ
FIT
1:1
100%

Артикул

Название

Примечание

Количество

1

230-71-19391

BRACKET

SN: 205-425

1шт.

|1

230-71-19390

BRACKET

SN: 195-204

1шт.

|1

GD30WB911

BRACKET

SN: 185-194

1шт.

2

01000-30825

BOLT

SN: 195-425

1шт.

|2

01000-01230

BOLT

SN: 185-194

2шт.

3

01602-00825

WASHER

SN: 195-425

1шт.

|3

01602-01236

WASHER

SN: 185-194

2шт.

4

01000-31030

BOLT

SN: 185-194

2шт.

5

01500-01008

NUT

SN: 185-194

2шт.

6

01602-01030

WASHER

SN: 185-194

2шт.

7

230-71-19421

LEVER

SN: 205-425

1шт.

|7

230-71-19420

LEVER

SN: 195-204

1шт.

|7

GD30WB912

LEVER

SN: 185-194

1шт.

8

GD371E712

KNOB

SN: 185-425

1шт.

9

230-71-19380

SHAFT

SN: 195-425

1шт.

|9

GD372WC612

PIN

SN: 185-194

1шт.

10

01500-01210

NUT

SN: 195-425

1шт.

|10

01510-01012

NUT

SN: 185-194

1шт.

11

01602-01236

WASHER

SN: 195-425

1шт.

|11

01640-01020

WASHER

SN: 185-194

1шт.

12

04050-02022

PIN

SN: 185-194

1шт.

|13

230-71-00471

ROD ASS'Y

SN: 205-425

1шт.

|13

230-71-00470

ROD ASS'Y

SN: 185-204

1шт.

13

GD30T961A

ROD

SN: 205-425

1шт.

|13

GD30T961

ROD

SN: 185-204

1шт.

13A

GD30T962

YOKE

SN: 185-425

2шт.

14

04205-00822

PIN

SN: 185-425

2шт.

15

01641-00810

WASHER

SN: 185-425

2шт.

16

04050-02012

PIN

SN: 185-425

2шт.

17

230-71-19330

SHAFT

SN: 205-425

1шт.

18

04010-00516

KEY

SN: 205-425

2шт.

19

230-71-19360

BEARING

SN: 205-425

2шт.

|19

230-71-19350

BEARING

SN: 205-425

2шт.

20

01000-30825

BOLT

SN: 205-425

4шт.

21

01602-00825

WASHER

SN: 205-425

4шт.

22

230-71-19340

LEVER

SN: 205-425

2шт.

23

01000-30830

BOLT

SN: 205-425

2шт.

24

01602-00825

WASHER

SN: 205-425

2шт.

|25

230-71-00480

ROD ASS'Y

SN: 205-425

1шт.

25

GD30T966

ROD

SN: 205-425

1шт.

25A

GD30T962

YOKE

SN: 205-425

2шт.

26

04205-00822

PIN

SN: 205-425

2шт.

27

01641-00810

WASHER

SN: 205-425

2шт.

28

04050-02012

PIN

SN: 205-425

2шт.

29

230-71-19370

PLATE

SN: 215-425

1шт.

30

04418-03060

SCREW

SN: 215-425

4шт.

Выбрано товаров: 46