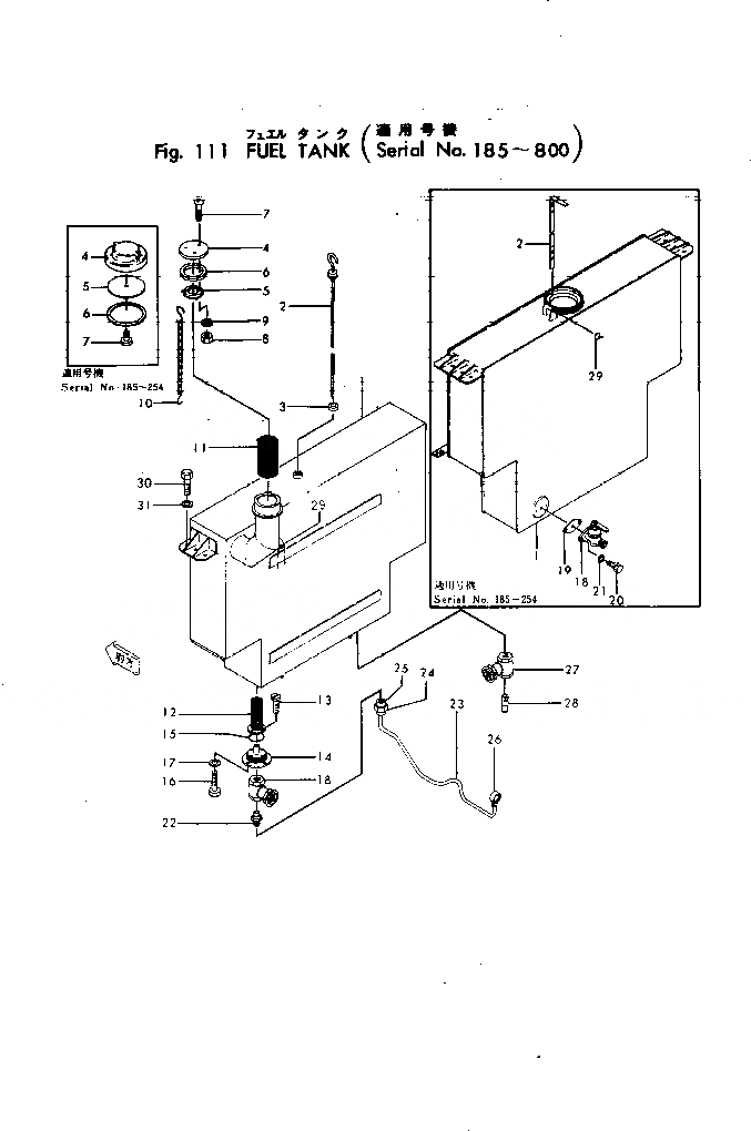
Запчасти Komatsu GD30-5M ТОПЛИВН. БАК.(№8-8) КОМПОНЕНТЫ ДВИГАТЕЛЯ И ЭЛЕКТРИКА

Схема запчастей Komatsu GD30-5M - ТОПЛИВН. БАК.(№8-8) КОМПОНЕНТЫ ДВИГАТЕЛЯ И ЭЛЕКТРИКА
FIT
1:1
100%

Артикул

Название

Примечание

Количество

|$0

230-04-00014

FUEL TANK ASS'Y

SN: 340-800

1шт.

|$1

230-04-00013

FUEL TANK ASS'Y

SN: 255-339

1шт.

|$2

230-04-00012

FUEL TANK ASS'Y

SN: 185-254

1шт.

1

230-04-11114

TANK

SN: 340-800

1шт.

1

230-04-11113

TANK

SN: 255-339

1шт.

1

230-04-11112

TANK

SN: 185-254

1шт.

2

230-04-11122

GAUGE

SN: 255-800

1шт.

2

230-04-11121

GAUGE

SN: 185-254

1шт.

3

232-04-11230

GASKET

SN: 255-800

1шт.

4

232-04-11210

FILLER

SN: 255-800

1шт.

4

GD371B107

CAP

SN: 185-254

1шт.

4

FG30T506

WOOL

SN: 185-254

1шт.

5

232-04-11220

LOCK

SN: 255-800

1шт.

5

GD371B109

PLATE

SN: 185-254

1шт.

6

232-04-11230

GASKET

SN: 255-800

1шт.

6

GD371B106

GASKET

SN: 185-254

1шт.

7

01210-20612

SCREW

SN: 255-800

3шт.

7

GD371B110

BOLT

SN: 185-254

1шт.

8

01500-30605

NUT

SN: 255-800

3шт.

9

01602-00619

WASHER

SN: 255-800

3шт.

10

232-04-11150

CHAIN

SN: 255-800

1шт.

11

232-04-11140

STRAINER

SN: 255-800

1шт.

11

GD371B115

STRAINER

SN: 185-254

1шт.

12

232-04-11321

STRAINER

SN: 255-800

1шт.

13

01212-20612

SCREW

SN: 255-800

4шт.

14

232-04-11310

COVER

SN: 255-800

1шт.

15

07000-05075

O-RING (KIT)

SN: 255-800

1шт.

16

01000-31022

BOLT

SN: 255-800

4шт.

17

01602-01030

WASHER

SN: 255-800

4шт.

18

232-04-12121

VALVE

SN: 255-800

1шт.

18

GD372B141

VALVE

SN: 185-254

1шт.

19

GD371B119

GASKET (KIT)

SN: 185-254

1шт.

20

01000-30820

BOLT

SN: 185-254

2шт.

21

01602-00825

WASHER

SN: 185-254

2шт.

22

232-04-12130

NIPPLE

SN: 255-800

1шт.

23

230-04-11137

TUBE

SN: 340-800

1шт.

23

230-04-11135

TUBE

SN: 271-339

1шт.

23

230-04-11136

TUBE

SN: 261-270

1шт.

23

230-04-11135

TUBE

SN: 255-260

1шт.

23

230-04-11134

TUBE

SN: 185-254

1шт.

24

07200-01022

SLEEVE

SN: 185-800

1шт.

25

07201-01020

NUT

SN: 185-800

1шт.

26

07205-01033

JOINT

SN: 185-800

1шт.

27

232-04-11331

VALVE

SN: 185-800

1шт.

28

232-04-11341

TUBE

SN: 185-800

1шт.

29

4D115A7354

CLIP

SN: 185-800

2шт.

30

01000-31025

BOLT

SN: 185-800

6шт.

31

01602-01030

WASHER

SN: 185-800

6шт.

Выбрано товаров: 48