Запчасти Komatsu GD30-5M ПОДЪЕМ. ОТВАЛА РУКОЯТЬ РАБОЧЕЕ ОБОРУДОВАНИЕ И ITS СИСТЕМА УПРАВЛЕНИЯ

Схема запчастей Komatsu GD30-5M - ПОДЪЕМ. ОТВАЛА РУКОЯТЬ РАБОЧЕЕ ОБОРУДОВАНИЕ И ITS СИСТЕМА УПРАВЛЕНИЯ
FIT
1:1
100%

Артикул

Название

Примечание

Количество

|$0

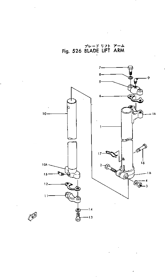
230-70-00541

ARM ASS'Y

SN: 1252-UP

2шт.

|$1

230-70-00540

ARM ASS'Y

SN: 185-1251

2шт.

1

230-71-11652

SHAFT ASS'Y

SN: 1252-UP

1шт.

1

230-71-11651

SHAFT ASS'Y

SN: 185-1251

1шт.

1A

230-71-11662

SEAT (WELDED)

SN: 1252-UP

1шт.

1A

230-71-11661

SEAT (WELDED)

SN: 185-1251

1шт.

1B

230-71-11671

CLAMP (WELDED)

SN: 185-UP

1шт.

2

01010-31675

BOLT

SN: 1252-UP

1шт.

2

01000-41675

BOLT

SN: 185-1251

1шт.

3

01580-01613

NUT

SN: 1252-UP

1шт.

3

01500-01613

NUT

SN: 185-1251

1шт.

4

01602-01648

WASHER

SN: 185-UP

1шт.

5

230-71-11680

CAP

SN: 185-UP

1шт.

6

230-71-11690

SHIM, 0.2MM

SN: 185-UP

7шт.

7

01010-31440

BOLT

SN: 1252-UP

2шт.

7

01000-41440

BOLT

SN: 185-1251

2шт.

8

01602-01442

WASHER

SN: 185-UP

2шт.

9

07020-00675

FITTING

SN: 185-UP

1шт.

10

230-71-11711

ROD

SN: 1252-UP

1шт.

10

230-71-11710

ROD

SN: 185-1251

1шт.

10A

230-71-11721

JOINT (WELDED)

SN: 1252-UP

1шт.

10A

230-71-11720

JOINT (WELDED)

SN: 185-1251

1шт.

11

230-71-11730

CAP

SN: 185-UP

1шт.

12

230-71-11740

SHIM, 0.2MM

SN: 185-UP

7шт.

13

01010-31440

BOLT

SN: 1252-UP

2шт.

13

01000-41440

BOLT

SN: 185-1251

2шт.

14

01602-01442

WASHER

SN: 185-UP

2шт.

15

07020-00675

FITTING

SN: 185-UP

1шт.

16

230-71-11751

PIN

SN: 185-UP

1шт.

17

230-71-11760

CLIP

SN: 185-UP

1шт.

Выбрано товаров: 30