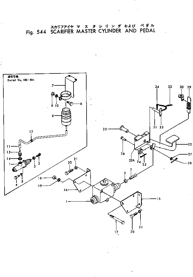
Запчасти Komatsu GD30-5M SCARIFIER ГЛАВН. ЦИЛИНДР ПЕДАЛЬ РАБОЧЕЕ ОБОРУДОВАНИЕ И ITS СИСТЕМА УПРАВЛЕНИЯ

Схема запчастей Komatsu GD30-5M - SCARIFIER ГЛАВН. ЦИЛИНДР ПЕДАЛЬ РАБОЧЕЕ ОБОРУДОВАНИЕ И ITS СИСТЕМА УПРАВЛЕНИЯ
FIT
1:1
100%

Артикул

Название

Примечание

Количество

1

230-70-17301

MASTER CYLINDER A.,(SEE FIG.547B)

SN: 1569-UP

1шт.

1

0

MASTER CYLINDER A.,(SEE FIG.547B)

SN: .-1568

1шт.

1

0

MASTER CYLINDER A.,(SEE FIG.547A)

SN: 205-.

1шт.

1

FG10J205A

MASTER CYLINDER A.,(SEE FIG.547)

SN: 185-204

1шт.

2

230-70-17150

JOINT

SN: 205-UP

1шт.

2

FG10J241A

JOINT

SN: 185-204

1шт.

3

230-70-17511

NUT

SN: 1569-UP

1шт.

3

0

NUT

SN: 1252-1568

1шт.

3

475-44-14290

NUT

SN: 205-1251

1шт.

3

306-43-13130

NUT

SN: 185-204

2шт.

4

01000-30618

BOLT

SN: 185-204

2шт.

5

01602-00619

WASHER

SN: 185-204

1шт.

6

FG10J243A

TANK

SN: 185-204

1шт.

7

230-70-17110

BRACKET

SN: 185-204

1шт.

8

01000-30620

BOLT

SN: 185-204

1шт.

9

01500-30605

NUT

SN: 185-204

1шт.

10

01602-00619

WASHER

SN: 185-204

1шт.

11

230-70-17120

HOSE

SN: 185-204

1шт.

12

230-06-11950

GROMMET

SN: 185-204

1шт.

13

FG10J245

NIPPLE

SN: 185-204

1шт.

14

07003-01621

GASKET (KIT)

SN: 185-204

1шт.

15

230-70-17130

BRACKET

SN: 205-UP

1шт.

16

230-70-17140

BRACKET

SN: 205-UP

1шт.

17

01010-31080

BOLT

SN: 1252-UP

3шт.

17

01000-31080

BOLT

SN: 205-1251

3шт.

18

01580-01008

NUT

SN: 1252-UP

3шт.

18

01500-31008

NUT

SN: 205-1251

3шт.

19

01602-01030

WASHER

SN: 205-UP

3шт.

20

01010-30820

BOLT

SN: 1252-UP

4шт.

20

01000-30820

BOLT

SN: 205-1251

4шт.

21

01602-00825

WASHER

SN: 205-UP

4шт.

22

230-70-17161

PEDAL

SN: 195-UP

1шт.

22

230-70-17160

PEDAL

SN: 185-194

1шт.

22A

230-70-17171

BRACKET (WELDED)

SN: 195-UP

1шт.

22A

230-70-17170

BRACKET (WELDED)

SN: 185-194

1шт.

23

04205-01428

PIN

SN: 185-UP

1шт.

24

01641-21426

WASHER

SN: 185-UP

1шт.

25

04050-04022

PIN

SN: 185-UP

1шт.

26

04205-00820

PIN

SN: 185-UP

1шт.

27

01641-20810

WASHER

SN: 185-UP

1шт.

28

04050-02012

PIN

SN: 185-UP

1шт.

29

230-43-12351

SPRING

SN: 185-UP

1шт.

30

232-43-16280

WASHER

SN: 185-UP

1шт.

31

230-70-17190

PIN

SN: 195-UP

1шт.

32

230-70-17210

CHAIN

SN: 195-UP

1шт.

33

364-61-13690

RING

SN: 195-UP

1шт.

34

04050-03020

PIN

SN: 195-UP

1шт.

Выбрано товаров: 47