Запчасти Komatsu GD30-5M НАВЕС(№8-) ОПЦИОННЫЕ КОМПОНЕНТЫ

Схема запчастей Komatsu GD30-5M - НАВЕС(№8-) ОПЦИОННЫЕ КОМПОНЕНТЫ
FIT
1:1
100%

Артикул

Название

Примечание

Количество

|1

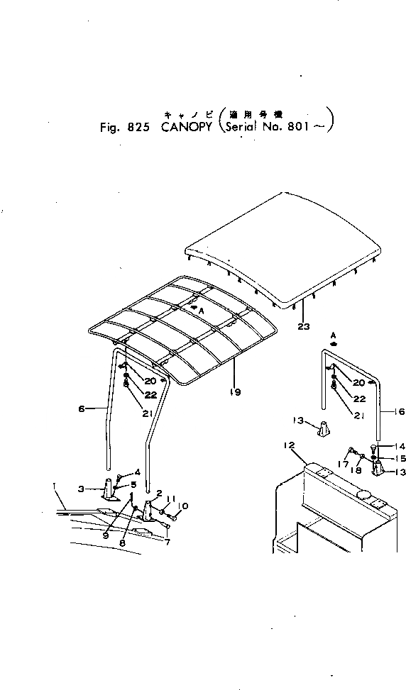
230-55-00033

CANOPY ASS'Y

SN: 1252-UP

1шт.

|1

230-55-00032

CANOPY ASS'Y

SN: 801-1251

1шт.

1

230-55-13111

FRAME

SN: 1252-UP

1шт.

|1

230-55-13110

FRAME

SN: 801-1251

1шт.

2

232-55-13180

BRACKET

SN: 801-UP

1шт.

|2

01580-01210

NUT (WELDED)

SN: 1252-UP

2шт.

|2

01503-31210

NUT (WELDED)

SN: 801-1251

2шт.

3

232-55-13190

BRACKET

SN: 801-UP

1шт.

|3

01580-01210

NUT (WELDED)

SN: 1252-UP

2шт.

|3

01503-31210

NUT (WELDED)

SN: 801-1251

2шт.

4

01010-31225

BOLT

SN: 1252-UP

6шт.

|4

01000-31225

BOLT

SN: 801-1251

6шт.

5

01602-01236

WASHER

SN: 801-UP

6шт.

6

230-55-13120

POLE

SN: 801-UP

1шт.

7

232-55-13170

PIN

SN: 801-UP

2шт.

8

01641-21223

WASHER

SN: 801-UP

2шт.

9

04050-03020

PIN

SN: 801-UP

2шт.

10

01016-31235

BOLT

SN: 801-UP

4шт.

11

01580-01210

NUT

SN: 801-UP

4шт.

12

230-55-13150

FRAME,(MODIFIED PART)

SN: 801-UP

1шт.

13

09470-04411

BRACKET

SN: 801-UP

2шт.

14

01010-31020

BOLT

SN: 1252-UP

8шт.

|14

01000-31020

BOLT

SN: 801-1251

8шт.

15

01602-01030

WASHER

SN: 801-UP

8шт.

16

230-55-13130

POLE

SN: 801-UP

1шт.

17

01016-31235

BOLT

SN: 801-UP

4шт.

18

01580-01210

NUT

SN: 801-UP

4шт.

19

232-55-13112

ROOF

SN: 801-UP

1шт.

20

131-906-1150

CLIP

SN: 801-UP

4шт.

21

01010-31430

BOLT

SN: 1252-UP

8шт.

|21

01040-31430

BOLT

SN: 801-1251

8шт.

22

01602-01442

WASHER

SN: 801-UP

8шт.

23

232-55-13160

SHEET

SN: 801-UP

1шт.

Выбрано товаров: 33