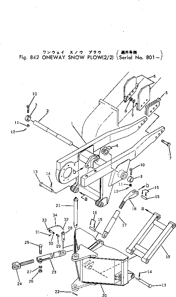
Запчасти Komatsu GD30-5M OНОВ.AY SNOW PНИЗ. (/)(№8-) ОПЦИОННЫЕ КОМПОНЕНТЫ

Схема запчастей Komatsu GD30-5M - OНОВ.AY SNOW PНИЗ. (/)(№8-) ОПЦИОННЫЕ КОМПОНЕНТЫ
FIT
1:1
100%

Артикул

Название

Примечание

Количество

|1

230-970-0131

SUPPORT ASS'Y

SN: 1252-UP

1шт.

|1

230-970-0130

SUPPORT ASS'Y

SN: 801-1251

1шт.

1

230-970-1410

SUPPORT

SN: 801-UP

1шт.

2

233-70-13190

SHAFT

SN: ..-UP

1шт.

|2

230-970-1421

SHAFT

SN: .-..

1шт.

|2

230-970-1420

SHAFT

SN: 801-.

1шт.

3

230-970-1480

COLLAR

SN: 801-UP

2шт.

4

230-970-1490

SHIM¤ 1.6MM

SN: 801-UP

6шт.

5

230-970-1430

SHIM¤ 1.6MM

SN: 801-UP

6шт.

6

230-970-1450

PLATE

SN: 801-UP

2шт.

7

01010-52090

BOLT

SN: 1252-UP

6шт.

|7

01000-32090

BOLT

SN: 801-1251

6шт.

8

01580-12016

NUT

SN: 1252-UP

6шт.

|8

01500-02016

NUT

SN: 801-1251

6шт.

9

01602-22060

WASHER

SN: 801-UP

6шт.

10

01012-51290

BOLT

SN: 1252-UP

2шт.

|10

01002-31290

BOLT

SN: 801-1251

2шт.

11

01590-11215

NUT

SN: 1252-UP

2шт.

|11

01510-01215

NUT

SN: 801-1251

2шт.

12

04050-13025

PIN

SN: 801-UP

2шт.

13

232-970-1520

PIN

SN: 801-UP

4шт.

14

04050-16060

PIN

SN: 801-UP

4шт.

15

232-970-1840

SHAFT

SN: 801-UP

2шт.

16

04050-15040

PIN

SN: 801-UP

4шт.

17

230-970-5110

ROD

SN: 801-UP

1шт.

18

230-970-5120

JOINT

SN: 801-UP

1шт.

19

230-970-5130

BEAM

SN: 801-UP

1шт.

20

230-970-5140

SUPPORT

SN: 801-UP

1шт.

21

233-970-5320

SHAFT

SN: 801-UP

1шт.

22

04050-16060

PIN

SN: 801-UP

1шт.

23

233-970-5330

SUPPORT

SN: 801-UP

1шт.

24

233-970-5340

YOKE

SN: 801-UP

1шт.

25

01010-31680

BOLT

SN: 1252-UP

1шт.

|25

01000-31680

BOLT

SN: 801-1251

1шт.

26

01580-11613

NUT

SN: 1252-UP

1шт.

|26

01500-01613

NUT

SN: 801-1251

1шт.

27

01602-21648

WASHER

SN: 801-UP

1шт.

28

233-970-5350

PIN

SN: 801-UP

2шт.

29

233-970-5360

PIN

SN: 801-UP

2шт.

30

233-970-5370

PIN

SN: 801-UP

2шт.

31

04402-00414

RIVET

SN: 801-UP

2шт.

32

232-64-11260

RING

SN: 801-UP

2шт.

33

232-64-11270

RING

SN: 801-UP

2шт.

34

232-64-11280

CHAIN

SN: 801-UP

2шт.

Выбрано товаров: 0