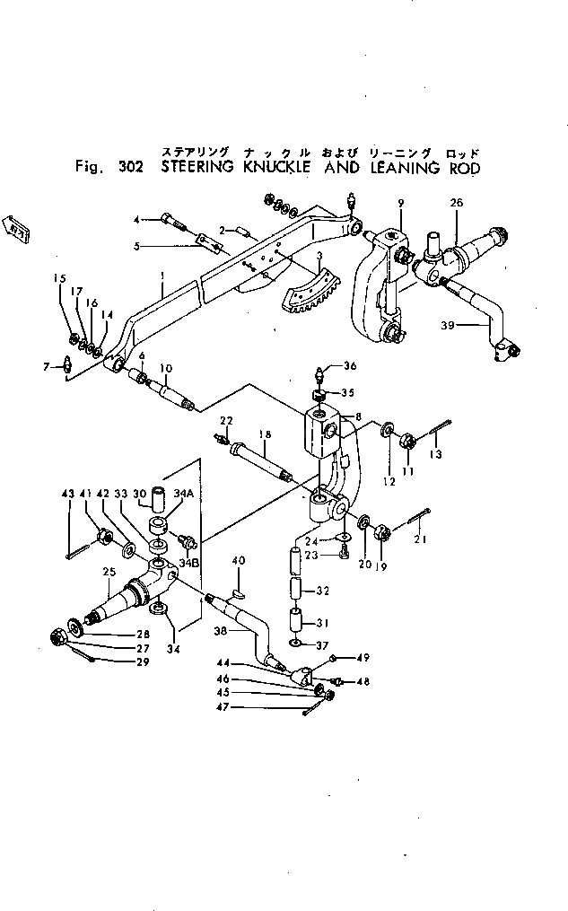
Запчасти Komatsu GD30-5M РУЛЕВ. УПРАВЛЕНИЕ КУЛАК И УКЛОН. ROD КОЛЕСА¤ РУЛЕВ. УПРАВЛЕНИЕ И СИСТЕМА УПРАВЛЕНИЯS

Схема запчастей Komatsu GD30-5M - РУЛЕВ. УПРАВЛЕНИЕ КУЛАК И УКЛОН. ROD КОЛЕСА¤ РУЛЕВ. УПРАВЛЕНИЕ И СИСТЕМА УПРАВЛЕНИЯS
FIT
1:1
100%

Артикул

Название

Примечание

Количество

|1

230-27-00004

FRONT AXLE ASS'Y

SN: 1252-UP

1шт.

|1

230-27-00003

FRONT AXLE ASS'Y

SN: 1036-1251

1шт.

|1

230-27-00002

FRONT AXLE ASS'Y

SN: 801-1035

1шт.

|1

230-27-00001

FRONT AXLE ASS'Y

SN: 185-800

1шт.

1

230-27-11143

ROD

SN: 185-UP

1шт.

2

04020-01638

PIN

SN: 185-UP

2шт.

3

230-27-11311

GEAR

SN: 1252-UP

1шт.

|3

230-27-11310

GEAR

SN: 185-1251

1шт.

4

01010-51445

BOLT

SN: 1252-UP

5шт.

|4

01000-31445

BOLT

SN: 185-1251

5шт.

5

230-27-11320

WASHER

SN: 185-UP

3шт.

6

232-27-11830

BUSHING

SN: 185-UP

2шт.

7

07020-00675

FITTING

SN: 185-UP

2шт.

8

230-27-11331

KNUCKLE

SN: 1252-UP

1шт.

|8

230-27-11330

KNUCKLE

SN: 185-1251

1шт.

9

232-27-11222

BRACKET

SN: 1252-UP

1шт.

|9

232-27-11221

BRACKET

SN: 801-1251

1шт.

|9

232-27-11220

BRACKET

SN: 185-800

1шт.

10

230-27-11261

SHAFT

SN: 1252-UP

2шт.

|10

230-27-11260

SHAFT

SN: 185-1251

2шт.

11

01593-03320

NUT

SN: 1252-UP

2шт.

|11

01511-03320

NUT

SN: 185-1251

2шт.

12

01640-03345

WASHER

SN: 185-UP

2шт.

13

04050-06060

PIN

SN: 185-UP

2шт.

14

232-27-11730

WASHER

SN: 185-UP

2шт.

15

01530-02410

NUT

SN: 185-UP

2шт.

16

01640-02440

WASHER

SN: 185-UP

2шт.

17

01658-02416

WASHER

SN: 185-UP

2шт.

18

232-27-11251

SHAFT

SN: 1252-UP

2шт.

|18

232-27-11250

SHAFT

SN: 185-1251

2шт.

19

01590-03345

NUT

SN: 1252-UP

2шт.

|19

01511-03320

NUT

SN: 185-1251

2шт.

20

01640-03345

WASHER

SN: 185-UP

2шт.

21

04050-06060

PIN

SN: 185-UP

2шт.

22

07020-00000

FITTING

SN: 185-UP

2шт.

23

232-27-11261

BOLT

SN: 1252-UP

2шт.

|23

232-27-11260

BOLT

SN: 185-1251

2шт.

24

01650-01616

WASHER

SN: 185-UP

2шт.

25

230-27-11153

ARM

SN: 1252-UP

1шт.

|25

230-27-11152

ARM

SN: 185-1251

1шт.

26

230-27-11213

ARM

SN: 1252-UP

1шт.

|26

230-27-11212

ARM

SN: 185-1251

1шт.

27

01593-03923

NUT

SN: 1252-UP

2шт.

|27

01511-03922

NUT

SN: 185-1251

2шт.

28

230-27-11161

WASHER

SN: 185-UP

2шт.

29

04050-06060

PIN

SN: 185-UP

2шт.

30

232-27-11230

BUSHING

SN: 185-UP

2шт.

31

232-27-11240

BUSHING

SN: 185-UP

2шт.

32

232-27-11511

PIN

SN: 801-UP

2шт.

|32

230-27-11172

PIN

SN: 185-800

2шт.

33

06000-51207

BEARING

SN: 801-UP

2шт.

|33

230-27-11180

BEARING

SN: 185-800

2шт.

34

232-27-11520

PLATE

SN: 801-UP

2шт.

|34

230-27-11190

WASHER

SN: 185-800

2шт.

34A

232-27-11531

COVER

SN: 801-UP

2шт.

34B

07020-00000

FITTING

SN: 801-UP

2шт.

35

232-27-11271

PLUG

SN: 1252-UP

2шт.

|35

232-27-11270

PLUG

SN: 185-1251

2шт.

36

07020-00000

FITTING

SN: 185-UP

2шт.

37

07046-04520

PLUG

SN: 185-UP

2шт.

38

230-27-11272

SHAFT

SN: 1252-UP

1шт.

|38

230-27-11271

SHAFT

SN: 1036-1251

1шт.

|38

230-27-11270

SHAFT

SN: 185-1035

1шт.

39

230-27-11282

SHAFT

SN: 1252-UP

1шт.

|39

230-27-11281

SHAFT

SN: 1036-1251

1шт.

|39

230-27-11280

SHAFT

SN: 185-1035

1шт.

40

04010-01055

KEY

SN: 185-UP

2шт.

41

01593-02716

NUT

SN: 1252-UP

2шт.

|41

01511-32717

NUT

SN: 185-1251

2шт.

42

01640-22740

WASHER

SN: 185-UP

2шт.

43

04050-04040

PIN

SN: 185-UP

2шт.

44

232-40-15193

JOINT

SN: 1036-UP

2шт.

|44

0

JOINT

SN: (1036-1568)

2шт.

|44

232-40-15191

JOINT

SN: 185-1035

2шт.

45

01593-02013

NUT

SN: 1252-UP

2шт.

|45

01511-32013

NUT

SN: 185-1251

2шт.

46

01640-22035

WASHER

SN: 185-UP

2шт.

47

04050-04040

PIN

SN: 185-UP

2шт.

48

07020-00900

FITTING

SN: .-UP

2шт.

|48

07020-00000

FITTING

SN: 185-.

2шт.

49

07043-30108

PLUG

SN: 185-.

2шт.

Выбрано товаров: 0