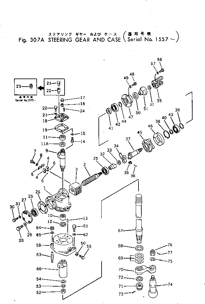
Запчасти Komatsu GD30-5M РУЛЕВ. УПРАВЛЕНИЕ ПРИВОД И КОРПУС(№7-) КОЛЕСА¤ РУЛЕВ. УПРАВЛЕНИЕ И СИСТЕМА УПРАВЛЕНИЯS

Схема запчастей Komatsu GD30-5M - РУЛЕВ. УПРАВЛЕНИЕ ПРИВОД И КОРПУС(№7-) КОЛЕСА¤ РУЛЕВ. УПРАВЛЕНИЕ И СИСТЕМА УПРАВЛЕНИЯS
FIT
1:1
100%

Артикул

Название

Примечание

Количество

|1

232-40-00301

STEERING GEAR ASS'Y

SN: 1575-UP

1шт.

|1

0

STEERING GEAR ASS'Y

SN: 1557-1574

1шт.

1

234-40-13510

BOX

SN: 1557-UP

1шт.

|2

234-40-13610

BALL NUT ASS'Y

SN: 1557-UP

1шт.

2

0

GEAR

SN: 1557-UP

1шт.

3

0

NUT

SN: 1557-UP

1шт.

4

0

TUBE

SN: 1557-UP

4шт.

5

0

CLAMP

SN: 1557-UP

1шт.

6

0

BALL

SN: 1557-UP

112шт.

7

0

SCREW

SN: 1557-UP

3шт.

8

0

WASHER

SN: 1557-UP

3шт.

9

234-40-13650

SHAFT

SN: 1557-UP

1шт.

10

234-40-13660

BEARING

SN: 1557-UP

1шт.

11

234-40-13670

BEARING

SN: 1557-UP

1шт.

11A

234-40-13890

SEAL

SN: 1557-UP

1шт.

12

234-40-13760

SEAL (KIT)

SN: 1557-UP

1шт.

13

234-40-13770

PIN

SN: 1557-UP

2шт.

14

234-40-13680

SCREW

SN: 1557-UP

1шт.

15

234-40-13710

SHIM (KIT)

SN: 1557-UP

1шт.

16

01583-11408

NUT

SN: 1557-UP

1шт.

17

232-880-7880

NUT

SN: 1575-UP

1шт.

|17

234-40-13750

NUT

SN: 1557-1574

1шт.

18

234-40-13551

COVER

SN: 1575-UP

1шт.

|18

234-40-13550

COVER

SN: 1557-1574

1шт.

19

234-40-13720

PACKING (KIT)

SN: 1557-UP

1шт.

20

234-40-13790

BOLT

SN: 1557-UP

4шт.

21

01602-21236

WASHER

SN: 1557-UP

4шт.

22

234-40-13560

FILLER

SN: 1557-1574

1шт.

23

07042-20312

PLUG

SN: 1575-UP

1шт.

|23

234-40-13570

PLUG

SN: 1557-1574

1шт.

24

01220-20408

SCREW

SN: 1557-UP

1шт.

25

234-40-13640

BEARING

SN: 1557-UP

2шт.

26

234-40-13580

SHIM (KIT)

SN: 1557-UP

1шт.

27

234-40-13530

COVER

SN: 1557-UP

1шт.

28

01050-61435

BOLT

SN: 1557-UP

8шт.

29

01602-21442

WASHER

SN: 1557-UP

8шт.

30

07040-11409

PLUG

SN: 1557-UP

1шт.

31

234-40-13590

PACKING (KIT)

SN: 1557-UP

1шт.

32

232-40-33220

COUPLING

SN: 1557-UP

1шт.

33

234-40-13730

NUT

SN: 1557-UP

2шт.

34

232-40-33160

ROLLER

SN: 1557-UP

2шт.

35

232-40-33170

WEDGE

SN: 1557-UP

1шт.

36

232-40-13320

SPRING

SN: 1557-UP

1шт.

37

232-40-33150

SHAFT

SN: 1557-UP

1шт.

38

04065-05520

RING

SN: 1557-UP

1шт.

39

232-40-33180

SHIM (KIT)

SN: 1557-UP

1шт.

40

232-40-33190

SHIM (KIT)

SN: 1557-UP

1шт.

41

232-40-33210

SEAT

SN: 1557-UP

1шт.

42

06004-06006

BEARING

SN: 1557-UP

1шт.

43

06000-06006

BEARING

SN: 1557-UP

1шт.

44

04064-03015

RING

SN: 1557-UP

1шт.

45

232-40-33110

CASE

SN: 1557-UP

1шт.

46

232-40-33120

RING

SN: 1557-UP

1шт.

47

232-40-33130

COVER

SN: 1557-UP

1шт.

48

01050-61445

BOLT

SN: 1557-UP

4шт.

49

01602-21442

WASHER

SN: 1557-UP

4шт.

50

232-40-33230

SEAL (KIT)

SN: 1557-UP

1шт.

51

232-40-33140

FLANGE

SN: 1557-UP

1шт.

52

01582-02722

NUT

SN: 1557-UP

1шт.

53

01602-02783

WASHER

SN: 1557-UP

1шт.

54

01640-22740

WASHER

SN: 1557-UP

1шт.

55

232-40-12290

JOINT

SN: 1557-UP

1шт.

56

01010-51025

BOLT

SN: 1557-UP

4шт.

57

01602-21030

WASHER

SN: 1557-UP

4шт.

58

233-40-13740

SEAT

SN: 1557-UP

1шт.

59

01016-51880

BOLT

SN: 1557-UP

2шт.

60

01580-01815

NUT

SN: 1557-UP

2шт.

61

01010-51650

BOLT

SN: 1557-UP

2шт.

62

01602-21648

WASHER

SN: 1557-UP

2шт.

63

01124-51645

STUD

SN: 1557-UP

2шт.

64

01580-11613

NUT

SN: 1557-UP

2шт.

65

01602-01648

WASHER

SN: 1557-UP

2шт.

66

232-40-13712

JOINT

SN: 1557-UP

1шт.

67

233-40-13723

SHAFT

SN: 1557-UP

1шт.

68

232-40-13730

WASHER

SN: 1557-UP

1шт.

69

232-40-05080

SHIM ASS'Y

SN: 1557-UP

1шт.

|69

232-40-13760

SHIM¤ 0.5MM

SN: 1557-UP

2шт.

|69

232-40-13750

SHIM¤ 1.0MM

SN: 1557-UP

1шт.

|69

232-40-13740

SHIM¤ 4.0MM

SN: 1557-UP

1шт.

70

230-40-13127

ARM

SN: 1557-UP

1шт.

71

01593-02716

NUT

SN: 1557-UP

1шт.

72

01640-02740

WASHER

SN: 1557-UP

1шт.

73

04050-05045

PIN

SN: 1557-UP

1шт.

74

233-40-13781

JOINT

SN: 1557-UP

1шт.

75

01640-22440

WASHER

SN: 1557-UP

1шт.

76

01590-12427

NUT

SN: 1557-UP

1шт.

77

04050-15045

PIN

SN: 1557-UP

1шт.

Выбрано товаров: 87