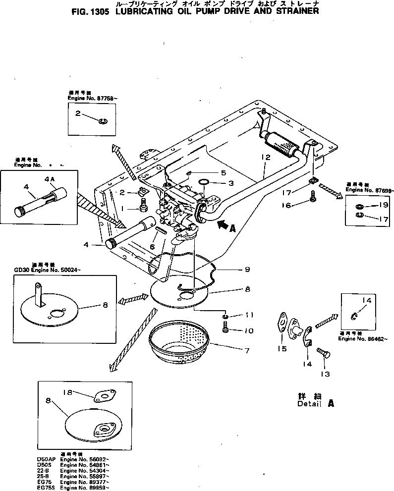
Запчасти Komatsu 4D120-11G СМАЗЫВ. НАСОС ПРИВОД И ФИЛЬТР СИСТЕМА СМАЗКИ МАСЛ. СИСТЕМА

Схема запчастей Komatsu 4D120-11G - СМАЗЫВ. НАСОС ПРИВОД И ФИЛЬТР СИСТЕМА СМАЗКИ МАСЛ. СИСТЕМА
FIT
1:1
100%

Артикул

Название

Примечание

Количество

1

01010-31230

BOLT

SN: 50024-UP

4шт.

2

01602-01236

WASHER

SN: 87758-UP

4шт.

|2

0

PLATE (KIT)

SN: 50024-87757

4шт.

3

07000-03025

O-RING (KIT)

SN: 50024-UP

1шт.

4

6110-53-2122

SHAFT

SN: .-UP

1шт.

|4

6110-53-2121

SHAFT

SN: 75830-.

1шт.

|4

6110-53-2120

SHAFT

SN: 50024-75829

1шт.

4A

6114-51-2120

COUPLING

SN: .-UP

1шт.

5

6110-53-2160

KEY

SN: 75830-.

1шт.

|5

0

KEY

SN: 50024-75829

1шт.

6

04025-00532

PIN

SN: .-UP

1шт.

|6

6110-53-2170

PIN

SN: 76052-.

1шт.

|6

0

PIN

SN: 50024-76051

1шт.

7

6110-53-6310

STRAINER

SN: 54800-UP

1шт.

|7

6110-51-6311

STRAINER

SN: 50024-54799

1шт.

8

6112-51-6321

PLATE

SN: 56969-UP

1шт.

|8

6112-51-6320

PLATE

SN: 50024-56968

1шт.

9

6110-51-6340

RING

SN: 50024-UP

1шт.

10

01010-31020

BOLT

SN: 56969-UP

2шт.

|10

01010-31016

BOLT

SN: 50024-56968

2шт.

11

01602-01030

WASHER

SN: 87698-UP

2шт.

|11

6110-53-6730

PLATE (K2)

SN: 56969-87697

2шт.

|11

01602-01030

WASHER

SN: 50024-56968

2шт.

12

6112-53-6201

PIPE

SN: .-UP

1шт.

|12

0

PIPE

SN: 50024-.

1шт.

13

01010-31025

BOLT

SN: 50024-UP

2шт.

14

01602-01030

WASHER

SN: 86462-UP

2шт.

|14

0

PLATE (K2)

SN: 50024-86461

1шт.

15

6110-51-6810

GASKET (K2)

SN: 50024-UP

1шт.

16

01010-30816

BOLT

SN: 87698-UP

2шт.

|16

01010-30812

BOLT

SN: 69225-87697

2шт.

|16

01010-30812

BOLT

SN: 50024-69224

1шт.

17

01602-00825

WASHER

SN: 87698-UP

2шт.

|17

0

WASHER (K2)

SN: 50024-87697

2шт.

18

6110-53-6820

GASKET (K2)

SN: 56969-UP

1шт.

19

01640-20816

WASHER

SN: 87698-UP

2шт.

1

01010-31230

BOLT

SN: 50024-UP

4шт.

2

01602-01236

WASHER

SN: 87758-UP

4шт.

|2

0

PLATE (KIT)

SN: 50024-87757

4шт.

3

07000-03025

O-RING (KIT)

SN: 50024-UP

1шт.

4

6110-53-2122

SHAFT

SN: .-UP

1шт.

|4

6110-53-2121

SHAFT

SN: 75830-.

1шт.

|4

6110-53-2120

SHAFT

SN: 50024-75829

1шт.

4A

6114-51-2120

COUPLING

SN: .-UP

1шт.

5

6110-53-2160

KEY

SN: 75830-.

1шт.

|5

0

KEY

SN: 50024-75829

1шт.

6

04025-00532

PIN

SN: .-UP

1шт.

|6

6110-53-2170

PIN

SN: 76052-.

1шт.

|6

0

PIN

SN: 50024-76051

1шт.

7

6110-53-6310

STRAINER

SN: 54800-UP

1шт.

|7

6110-51-6311

STRAINER

SN: 50024-54799

1шт.

8

6112-51-6321

PLATE

SN: 56969-UP

1шт.

|8

6112-51-6320

PLATE

SN: 50024-56968

1шт.

9

6110-51-6340

RING

SN: 50024-UP

1шт.

10

01010-31020

BOLT

SN: 56969-UP

2шт.

|10

01010-31016

BOLT

SN: 50024-56968

2шт.

11

01602-01030

WASHER

SN: 87698-UP

2шт.

|11

6110-53-6730

PLATE (K2)

SN: 56969-87697

2шт.

|11

01602-01030

WASHER

SN: 50024-56968

2шт.

12

6112-53-6201

PIPE

SN: .-UP

1шт.

|12

0

PIPE

SN: 50024-.

1шт.

13

01010-31025

BOLT

SN: 50024-UP

2шт.

14

01602-01030

WASHER

SN: 86462-UP

2шт.

|14

0

PLATE (K2)

SN: 50024-86461

1шт.

15

6110-51-6810

GASKET (K2)

SN: 50024-UP

1шт.

16

01010-30816

BOLT

SN: 87698-UP

2шт.

|16

01010-30812

BOLT

SN: 69225-87697

2шт.

|16

01010-30812

BOLT

SN: 50024-69224

1шт.

17

01602-00825

WASHER

SN: 87698-UP

2шт.

|17

0

WASHER (K2)

SN: 50024-87697

2шт.

18

6110-53-6820

GASKET (K2)

SN: 56969-UP

1шт.

19

01640-20816

WASHER

SN: 87698-UP

2шт.

Выбрано товаров: 72