Запчасти Komatsu GD300A-1 РЕГУЛИР. ОТВАЛ(№-) ОПЦИОННЫЕ КОМПОНЕНТЫ

Схема запчастей Komatsu GD300A-1 - РЕГУЛИР. ОТВАЛ(№-) ОПЦИОННЫЕ КОМПОНЕНТЫ
FIT
1:1
100%

Артикул

Название

Примечание

Количество

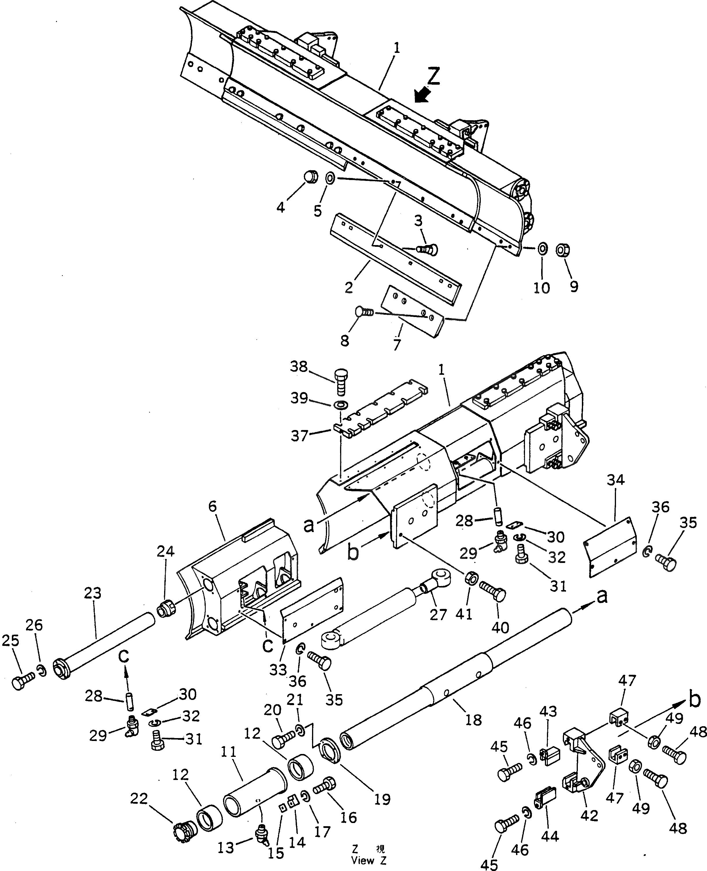
1

237-870-5110

BLADE

SN: 2001-2164

1шт.

2

237-870-5190

EDGE,CUTTING

SN: 2001-2164

2шт.

3

238-870-1330

BOLT

SN: 2001-2164

12шт.

4

238-870-1340

NUT

SN: 2001-2164

12шт.

5

01643-31645

WASHER

SN: 2001-@

12шт.

6

237-870-5120

BLADE,L.H.

SN: 2001-2164

1шт.

6

237-870-5130

BLADE,R.H.

SN: 2001-2164

1шт.

7

237-870-5180

EDGE,CUTTING

SN: 2001-2164

2шт.

8

238-870-1330

BOLT

SN: 2001-2164

8шт.

9

232-70-12480

NUT

SN: 2001-2164

8шт.

10

01643-31645

WASHER

SN: 2001-2164

8шт.

11

238-870-1270

BUSHING

SN: 2001-2164

4шт.

12

238-870-1320

BUSHING

SN: 2001-2164

8шт.

13

07020-00675

FITTING,GREASE

SN: 2001-2164

4шт.

14

238-870-1230

CLAMP

SN: 2001-2164

4шт.

15

238-870-1350

SHIM, 0.2MM

SN: 2001-2164

12шт.

16

01010-51240

BOLT

SN: 2001-2164

4шт.

17

01602-21236

WASHER,SPRING

SN: 2001-2164

4шт.

18

237-870-5140

ROD

SN: 2001-2164

2шт.

19

238-870-1210

FLANGE

SN: 2001-2164

4шт.

20

01010-51240

BOLT

SN: 2001-2164

14шт.

21

01602-21236

WASHER,SPRING

SN: 2001-2164

14шт.

22

238-870-1260

CAP

SN: 2001-2164

4шт.

23

237-870-5150

ROD

SN: 2001-2164

4шт.

24

238-870-1250

CAP

SN: 2001-2164

4шт.

25

01010-51235

BOLT

SN: 2001-2164

16шт.

26

01602-21236

WASHER,SPRING

SN: 2001-2164

16шт.

27

237-870-5230

SPACER

SN: 2001-2164

2шт.

28

237-70-15130

PIN

SN: 2001-@

4шт.

29

07020-00900

FITTING,GREASE

SN: 2001-2164

4шт.

30

04082-00206

LOCK

SN: 2001-@

4шт.

31

01010-51220

BOLT

SN: 2001-@

8шт.

32

01602-21236

WASHER,SPRING

SN: 2001-@

8шт.

33

237-870-5170

COVER,L.H.

SN: 2001-2164

1шт.

33

237-870-5240

COVER,R.H.

SN: 2001-2164

1шт.

34

233-870-6610

COVER,CENTER

SN: 2001-2164

1шт.

35

01010-51016

BOLT

SN: 2001-2164

15шт.

36

01602-21030

WASHER,SPRING

SN: 2001-2164

15шт.

37

237-870-5160

GUIDE

SN: 2001-2164

2шт.

38

01010-51045

BOLT

SN: 2001-2164

24шт.

39

01643-31032

WASHER

SN: 2001-2164

24шт.

40

233-870-6170

BOLT

SN: 2001-2164

2шт.

41

01580-12419

NUT

SN: 2001-2164

2шт.

42

237-870-5210

ADJUSTER,L.H.

SN: 2001-2164

1шт.

42

237-870-5220

ADJUSTER,R.H.

SN: 2001-2164

1шт.

43

232-70-12420

GUIDE,UPPER

SN: 2001-@

2шт.

44

232-70-12430

GUIDE,LOWER

SN: 2001-@

2шт.

45

01010-51435

BOLT

SN: 2001-@

4шт.

46

01602-21442

WASHER,SPRING

SN: 2001-@

4шт.

47

238-870-1290

CLAMP

SN: 2001-2164

4шт.

48

01010-51640

BOLT

SN: 2001-2164

8шт.

49

01580-11613

NUT

SN: 2001-2164

8шт.

Выбрано товаров: 0