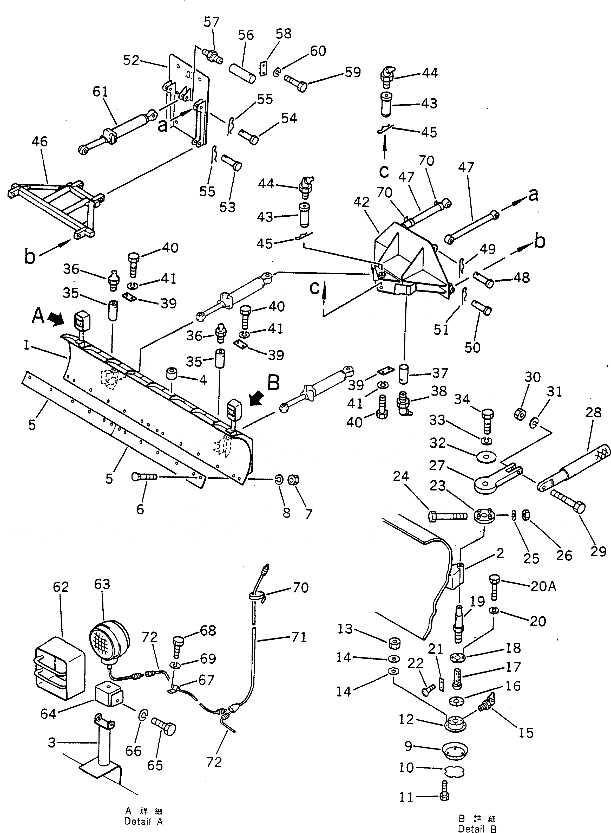
Запчасти Komatsu GD300A-1 ПОВОРОТН. ОТВАЛ Д/СНЕГА ОПЦИОННЫЕ КОМПОНЕНТЫ

Схема запчастей Komatsu GD300A-1 - ПОВОРОТН. ОТВАЛ Д/СНЕГА ОПЦИОННЫЕ КОМПОНЕНТЫ
FIT
1:1
100%

Артикул

Название

Примечание

Количество

|$0

237-979-0111

SNOW PLOW ASS'Y

SN: 2001-UP

1шт.

|$$2

THIS ASSEMBLY CONSISTS OF ALL PARTS SHOWN IN FIGS.876 TO 878.

-1шт.

|$2

237-979-0021

PLOW ASS'Y

SN: 2001-UP

1шт.

1

237-979-1111

PLOW

SN: 2001-UP

1шт.

2

232-970-2890

GUIDE

SN: 2001-UP

2шт.

2A

232-970-2790

PLATE (WELDED)

SN: 2001-UP

2шт.

3

237-979-1190

BRACKET

SN: 2001-UP

2шт.

4

01571-00814

SEAT

SN: 2001-UP

1шт.

5

237-70-12120

EDGE

SN: 2001-UP

2шт.

6

232-70-12450

BOLT

SN: 2001-UP

14шт.

7

02290-11016

NUT

SN: 2001-UP

14шт.

8

01602-21648

WASHER,SPRING

SN: 2001-UP

14шт.

|$12

236-879-0200

SLED ASS'Y

SN: 2001-UP

2шт.

9

233-979-1360

SLED

SN: 2001-UP

1шт.

10

233-979-1370

PLATE (WELDED)

SN: 2001-UP

1шт.

11

232-70-12450

BOLT

SN: 2001-UP

4шт.

12

233-970-5221

PLATE

SN: 2001-UP

1шт.

13

232-70-12480

NUT

SN: 2001-UP

4шт.

14

01643-31645

WASHER

SN: 2001-UP

8шт.

15

07020-00675

FITTING,GREASE

SN: 2001-UP

1шт.

16

233-970-5230

SHIM, 0.2MM

SN: 2001-UP

4шт.

17

232-979-2140

SHAFT

SN: 2001-UP

1шт.

18

233-970-5250

CAP

SN: 2001-UP

1шт.

19

232-970-2740

BOLT

SN: 2001-UP

1шт.

20

01602-21038

WASHER,SPRING

SN: 2001-UP

4шт.

20A

01010-51035

BOLT

SN: 2001-UP

4шт.

21

232-970-2810

KEY

SN: 2001-UP

2шт.

22

01220-40310

SCREW

SN: 2001-UP

4шт.

23

232-970-2770

PLATE

SN: 2001-UP

1шт.

24

01011-51215

BOLT

SN: 2001-UP

1шт.

25

01602-01236

WASHER,SPRING

SN: 2001-UP

1шт.

26

01580-01210

NUT

SN: 2001-UP

1шт.

27

232-970-2750

LEVER

SN: 2001-UP

1шт.

28

232-970-2760

HANDLE

SN: 2001-UP

1шт.

29

01010-50835

BOLT

SN: 2001-UP

1шт.

30

01602-00825

WASHER,SPRING

SN: 2001-UP

1шт.

31

01580-00806

NUT

SN: 2001-UP

1шт.

32

232-970-2730

PLATE

SN: 2001-UP

1шт.

33

01602-00825

WASHER,SPRING

SN: 2001-UP

1шт.

34

01010-50816

BOLT

SN: 2001-UP

1шт.

35

236-979-2130

PIN

SN: 2001-UP

2шт.

36

07020-00000

FITTING,GREASE

SN: 2001-UP

2шт.

37

236-979-2140

PIN

SN: 2001-UP

2шт.

38

07020-00900

FITTING,GREASE

SN: 2001-UP

2шт.

39

04082-00206

LOCK

SN: 2001-UP

4шт.

40

01010-51220

BOLT

SN: 2001-UP

8шт.

41

01602-21236

WASHER,SPRING

SN: 2001-UP

8шт.

|$47

237-979-0150

LINK ASS'Y

SN: 2001-UP

1шт.

42

237-979-1210

BRACKET

SN: 2001-UP

1шт.

43

236-979-1170

PIN

SN: 2001-UP

2шт.

44

07020-00675

FITTING,GREASE

SN: 2001-UP

2шт.

45

232-979-3161

PIN

SN: 2001-UP

2шт.

46

237-979-1220

SUPPORT

SN: 2001-UP

1шт.

47

237-979-1230

ARM

SN: 2001-UP

2шт.

48

237-71-11250

PIN

SN: 2001-UP

2шт.

49

236-70-23180

PIN

SN: 2001-UP

2шт.

50

237-71-11240

PIN

SN: 2001-UP

2шт.

51

236-70-23180

PIN

SN: 2001-UP

2шт.

52

237-979-1410

BRACKET

SN: 2001-UP

1шт.

53

237-71-11240

PIN

SN: 2001-UP

2шт.

54

237-71-11250

PIN

SN: 2001-UP

2шт.

55

236-70-23180

PIN

SN: 2001-UP

8шт.

56

236-70-23150

PIN

SN: 2001-UP

2шт.

57

07020-00000

FITTING,GREASE

SN: 2001-UP

2шт.

58

04082-00206

LOCK

SN: 2001-UP

2шт.

59

01010-51225

BOLT

SN: 2001-UP

4шт.

60

01602-21236

WASHER,SPRING

SN: 2001-UP

4шт.

61

237-63-32100

CYLINDER ASS'Y,LIFT

SN: 2001-UP

1шт.

62

232-976-1380

PROTECTOR

SN: 2001-.

2шт.

63

232-806-9340

LAMP

SN: 2001-.

2шт.

64

232-806-9240

BRACKET

SN: 2001-.

2шт.

65

01010-50818

BOLT

SN: 2001-UP

4шт.

66

01602-20825

WASHER,SPRING

SN: 2001-UP

4шт.

67

08036-18010

CLIP

SN: 2001-.

2шт.

68

01010-50816

BOLT

SN: 2001-UP

2шт.

69

01602-20825

WASHER,SPRING

SN: 2001-UP

2шт.

70

08034-00519

BAND

SN: 2001-.

4шт.

71

237-979-1510

CABLE

SN: 2001-UP

1шт.

72

237-979-1520

CABLE

SN: 2001-UP

2шт.

Выбрано товаров: 79