Запчасти Komatsu GD300A-1 ТОПЛИВН. БАК. КОМПОНЕНТЫ ДВИГАТЕЛЯ И ЭЛЕКТРИКА

Схема запчастей Komatsu GD300A-1 - ТОПЛИВН. БАК. КОМПОНЕНТЫ ДВИГАТЕЛЯ И ЭЛЕКТРИКА
FIT
1:1
100%

Артикул

Название

Примечание

Количество

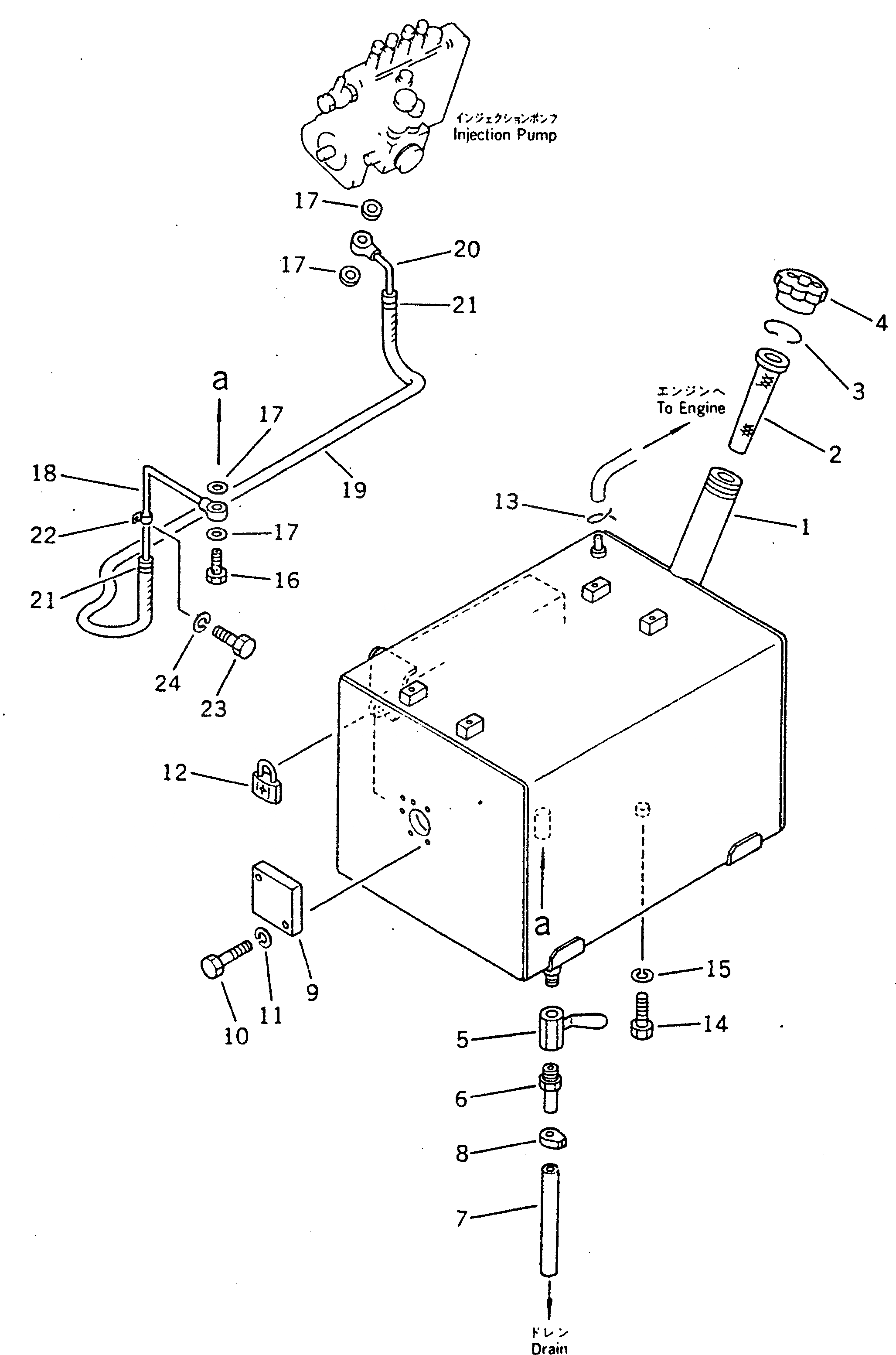
1

237-04-11111

TANK

SN: 2001-UP

1шт.

2

07056-18416

STRAINER

SN: 2001-UP

1шт.

3

07057-04087

RING,FILLER

SN: 2001-UP

1шт.

4

07050-21200

CAP

SN: 2001-UP

1шт.

4

07091-01200

CAP,(LOCK TYPE)

SN: 2001-UP

1шт.

4

07050-21202

GASKET

SN: 2001-UP

1шт.

5

07700-40460

VALVE,DRAIN

SN: 2001-UP

1шт.

6

141-04-31170

NIPPLE

SN: 2001-UP

1шт.

7

07270-01220

TUBE

SN: 2001-UP

1шт.

8

236-04-21190

CLIP

SN: 2001-UP

1шт.

9

237-04-11210

COVER

SN: 2001-UP

1шт.

10

01010-30610

BOLT

SN: 2001-UP

2шт.

11

01602-00619

WASHER,SPRING

SN: 2001-UP

2шт.

12

232-46-13310

PADLOCK

SN: 2001-UP

1шт.

13

04059-01010

WIRE (KIT)

SN: 2001-UP

1шт.

14

01010-31220

BOLT

SN: 2001-UP

4шт.

15

01602-01236

WASHER,SPRING

SN: 2001-UP

4шт.

16

07206-11014

BOLT,JOINT

SN: 2001-UP

1шт.

17

07005-01412

GASKET (KIT)

SN: 2001-UP

2шт.

18

237-04-12140

TUBE

SN: 2001-UP

1шт.

19

07261-20914

HOSE

SN: 2050-UP

1шт.

19

0

HOSE

SN: 2001-2049

1шт.

20

237-04-12150

TUBE

SN: 2001-UP

1шт.

21

07281-00197

CLAMP

SN: 2001-UP

2шт.

22

08036-11214

CLIP

SN: 2001-UP

1шт.

23

01010-31016

BOLT

SN: 2001-UP

1шт.

24

01602-01030

WASHER,SPRING

SN: 2001-UP

1шт.

Выбрано товаров: 27