Запчасти Komatsu GD300A-1 ОТВАЛ¤ .M РАБОЧЕЕ ОБОРУДОВАНИЕ

Схема запчастей Komatsu GD300A-1 - ОТВАЛ¤ .M РАБОЧЕЕ ОБОРУДОВАНИЕ
FIT
1:1
100%

Артикул

Название

Примечание

Количество

|$0

237-870-0041

BLADE ASS'Y

SN: 2001-UP

1шт.

|$1

237-870-0020

BLADE ASS'Y

SN: 2001-UP

1шт.

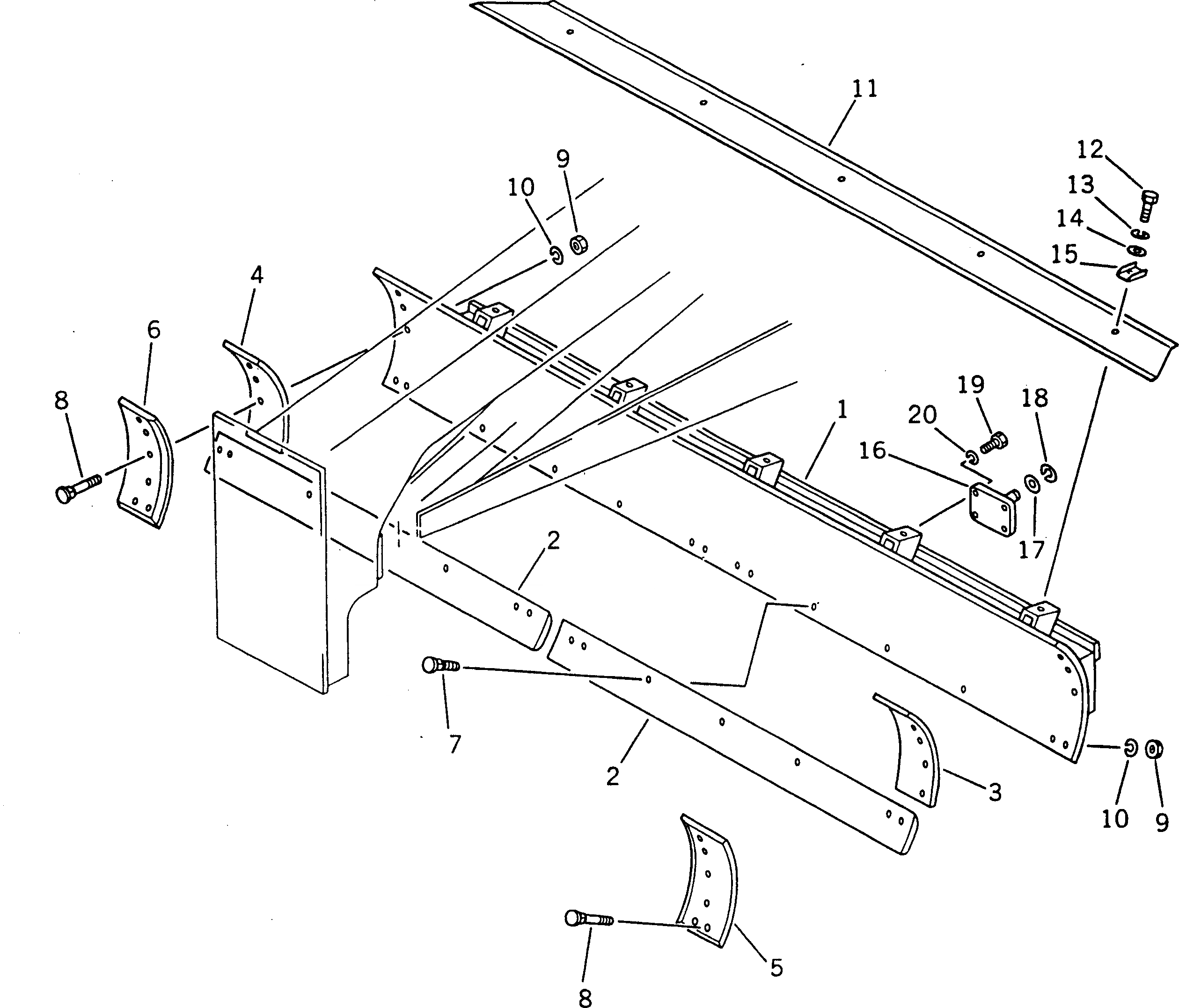
1

237-870-1110

BLADE

SN: 2001-UP

1шт.

1

237-70-12350

RAIL (WELDED)

SN: 2001-UP

2шт.

2

233-70-12141

EDGE

SN: 2001-UP

2шт.

3

237-870-1120

BIT,END

SN: 2001-UP

1шт.

4

237-870-1130

BIT,END

SN: 2001-UP

1шт.

5

232-70-12150

BIT,END

SN: 2001-UP

1шт.

6

232-70-12160

BIT,END

SN: 2001-UP

1шт.

7

232-70-12450

BOLT

SN: 2001-UP

12шт.

8

232-70-12460

BOLT

SN: 2001-UP

10шт.

9

232-70-12480

NUT

SN: 2001-UP

22шт.

10

01643-31645

WASHER

SN: 2001-UP

22шт.

11

237-70-12130

COVER

SN: 2001-UP

1шт.

12

01010-51025

BOLT

SN: 2001-UP

5шт.

13

01602-21030

WASHER,SPRING

SN: 2001-UP

5шт.

14

01643-31032

WASHER

SN: 2001-UP

5шт.

15

234-70-12331

PLATE

SN: 2001-UP

5шт.

16

237-70-15110

BRACKET

SN: 2001-UP

1шт.

17

01640-23045

WASHER

SN: 2001-UP

1шт.

18

04064-03015

RING,SNAP

SN: 2001-UP

1шт.

19

01010-51230

BOLT

SN: 2001-UP

4шт.

20

01602-21236

WASHER,SPRING

SN: 2001-UP

4шт.

Выбрано товаров: 23