Запчасти Komatsu GD300A-1 ТОПЛИВН. БАК. (ДЛЯ КАБИНА ROPS) КОМПОНЕНТЫ ДВИГАТЕЛЯ И ЭЛЕКТРИКА

Схема запчастей Komatsu GD300A-1 - ТОПЛИВН. БАК. (ДЛЯ КАБИНА ROPS) КОМПОНЕНТЫ ДВИГАТЕЛЯ И ЭЛЕКТРИКА
FIT
1:1
100%

Артикул

Название

Примечание

Количество

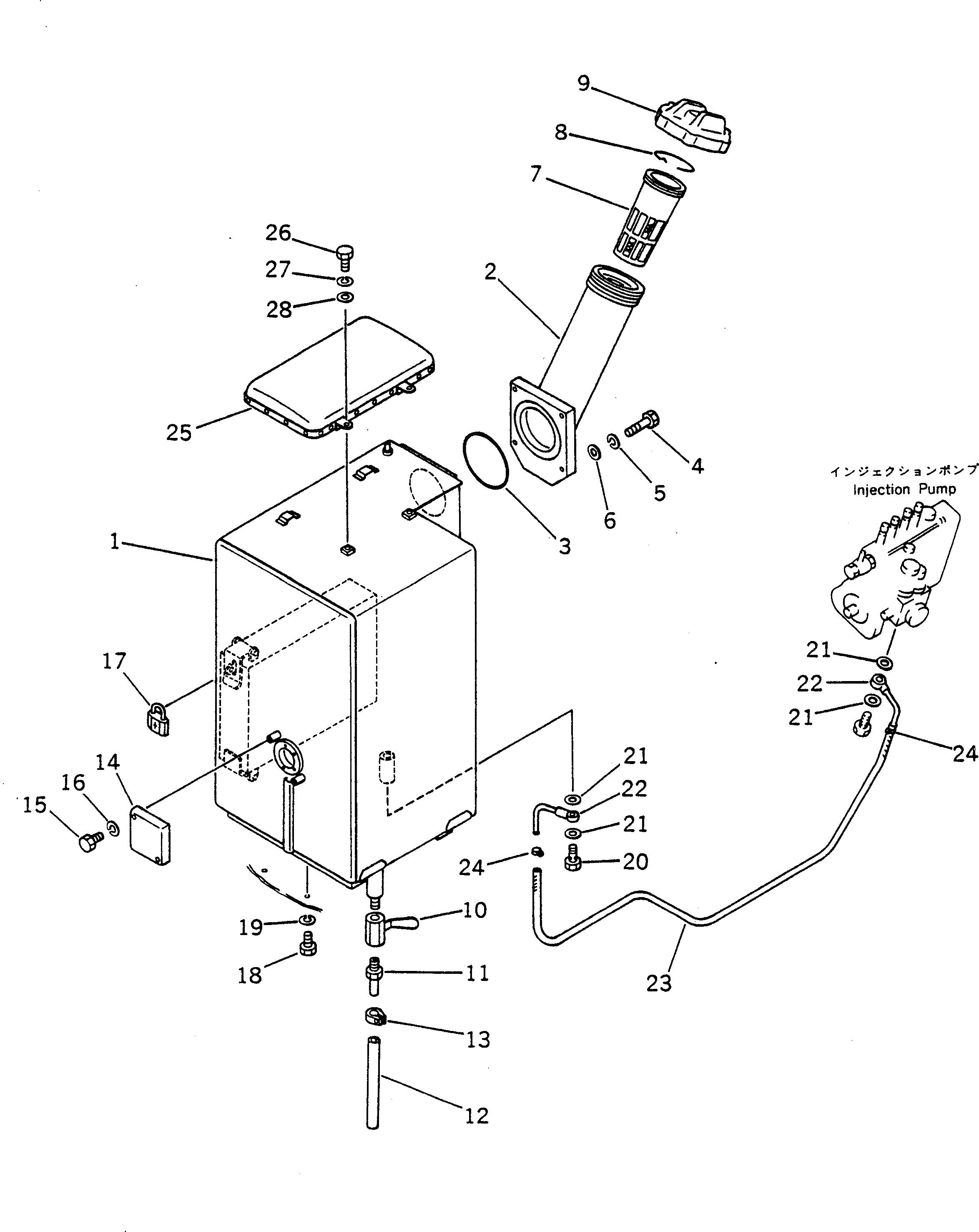
1

237-04-12250

TANK

SN: 2001-UP

1шт.

2

237-04-12260

BRACKET

SN: 2001-UP

1шт.

3

07000-42120

O-RING

SN: 2001-UP

1шт.

4

01010-51035

BOLT

SN: 2001-UP

1шт.

5

01602-21030

WASHER,SPRING

SN: 2001-UP

4шт.

6

01640-21016

WASHER

SN: 2001-UP

4шт.

7

07056-18416

STRAINER

SN: 2001-UP

1шт.

8

07057-04087

RING,FILLER

SN: 2001-UP

1шт.

9

07050-21200

CAP

SN: 2001-UP

1шт.

9

07050-21202

GASKET

SN: 2001-UP

1шт.

10

07700-40460

VALVE,DRAIN

SN: 2001-UP

1шт.

11

232-04-52340

NIPPLE

SN: 2001-UP

1шт.

12

07270-01220

TUBE

SN: 2001-UP

1шт.

13

236-04-21190

CLIP

SN: 2001-UP

1шт.

14

237-04-11210

COVER

SN: 2001-UP

1шт.

15

01010-50610

BOLT

SN: 2001-UP

2шт.

16

01602-20619

WASHER,SPRING

SN: 2001-UP

2шт.

17

232-46-13310

PADLOCK

SN: 2001-UP

1шт.

18

01010-51220

BOLT

SN: 2001-UP

6шт.

19

01602-21236

WASHER,SPRING

SN: 2001-UP

6шт.

20

07206-11014

BOLT,JOINT

SN: 2001-UP

1шт.

21

07005-01412

GASKET (KIT)

SN: 2001-UP

4шт.

22

237-04-12150

TUBE

SN: 2001-UP

2шт.

23

07261-20914

HOSE

SN: 2001-UP

1шт.

24

07281-00197

CLAMP

SN: 2001-UP

2шт.

25

237-04-12290

SEAT,AUXILIARY

SN: 2001-UP

1шт.

26

01010-51020

BOLT

SN: 2001-UP

2шт.

27

01602-21030

WASHER,SPRING

SN: 2001-UP

2шт.

28

01640-21016

WASHER

SN: 2001-UP

2шт.

Выбрано товаров: 29