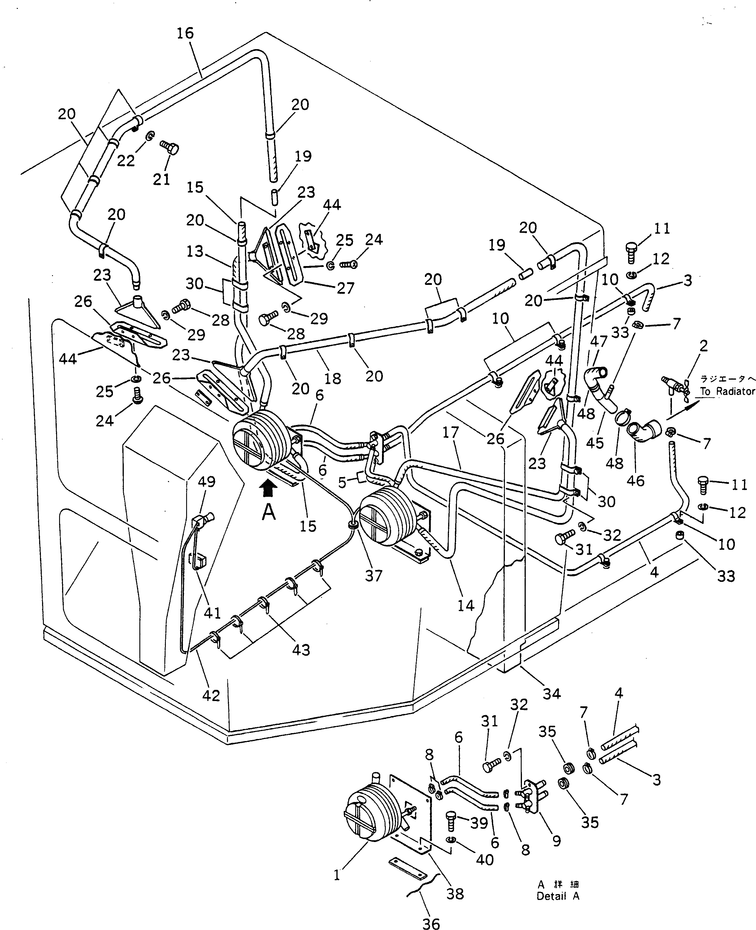
Запчасти Komatsu GD300A-1 ОБОГРЕВАТЕЛЬ.(№-) ОПЦИОННЫЕ КОМПОНЕНТЫ

Схема запчастей Komatsu GD300A-1 - ОБОГРЕВАТЕЛЬ.(№-) ОПЦИОННЫЕ КОМПОНЕНТЫ
FIT
1:1
100%

Артикул

Название

Примечание

Количество

|1

237-807-0031

CAR HEATER ASS'Y

SN: 2042-UP

1шт.

1

09480-02400

HEATER

SN: 2001-UP

2шт.

2

09482-10000

VALVE

SN: 2001-UP

1шт.

3

09483-00524

HOSE

SN: 2042-UP

1шт.

4

09483-00518

HOSE

SN: 2042-UP

1шт.

5

09483-00404

HOSE

SN: 2001-UP

2шт.

6

09483-00405

HOSE

SN: 2001-UP

2шт.

7

07281-00259

CLAMP

SN: 2001-UP

4шт.

8

07281-00229

CLAMP

SN: 2001-UP

8шт.

9

237-807-1110

TEE

SN: 2001-UP

1шт.

10

232-807-1570

CLIP

SN: 2042-UP

4шт.

11

01010-51016

BOLT

SN: 2042-UP

4шт.

12

01602-21030

WASHER,SPRING

SN: 2042-UP

4шт.

13

09485-03708

HOSE

SN: 2001-UP

1шт.

14

09485-03714

HOSE

SN: 2001-UP

1шт.

15

09485-03716

HOSE

SN: 2001-UP

1шт.

16

09485-03724

HOSE

SN: 2001-UP

1шт.

17

09485-03722

HOSE

SN: 2001-UP

1шт.

18

09485-03718

HOSE

SN: 2001-UP

1шт.

19

232-807-1361

JOINT

SN: 2001-UP

2шт.

20

232-807-1551

CLIP

SN: 2001-UP

14шт.

21

01010-51220

BOLT

SN: 2001-UP

14шт.

22

01602-21236

WASHER,SPRING

SN: 2001-UP

14шт.

23

09486-10000

NOZZLE

SN: 2001-UP

4шт.

24

01220-40512

SCREW

SN: 2001-UP

8шт.

25

01601-20513

WASHER,SPRING

SN: 2001-UP

8шт.

26

238-807-1230

BRACKET

SN: 2001-UP

3шт.

27

237-807-1160

BRACKET

SN: 2001-UP

1шт.

28

01010-50816

BOLT

SN: 2001-UP

8шт.

29

01602-20825

WASHER,SPRING

SN: 2001-UP

8шт.

30

230-807-1680

CLIP

SN: 2001-UP

4шт.

31

01010-50816

BOLT

SN: 2001-UP

4шт.

32

01602-20825

WASHER,SPRING

SN: 2001-UP

4шт.

33

01571-01016

SEAT (WELDED)

SN: 2042-UP

4шт.

34

237-807-1391

PANEL,(MODIFIED PART)

SN: 2001-UP

1шт.

|34

565-44-13250

CLIP (WELDED)

SN: 2001-UP

2шт.

35

08037-02512

GROMMET

SN: 2001-UP

2шт.

|36

237-807-1381

FRAME,(MODIFIED PART)

SN: 2001-UP

1шт.

36

237-807-1120

PLATE (WELDED)

SN: 2001-UP

2шт.

37

08037-01008

GROMMET

SN: 2001-UP

1шт.

38

232-807-1781

PLATE

SN: 2001-UP

2шт.

39

01010-51016

BOLT

SN: 2001-UP

4шт.

40

01602-21030

WASHER,SPRING

SN: 2001-UP

4шт.

41

237-807-1330

CABLE

SN: 2001-UP

1шт.

42

237-807-1340

HARNESS

SN: 2001-UP

1шт.

43

08034-00519

BAND

SN: 2042-UP

5шт.

|44

237-807-1360

CABIN,(MODIFIED PART)

SN: 2001-UP

1шт.

44

01573-28207

SEAT (WELDED)

SN: 2001-UP

6шт.

45

237-807-1250

TUBE

SN: 2001-UP

1шт.

46

237-807-1260

HOSE

SN: 2001-UP

1шт.

47

237-807-1270

HOSE

SN: 2001-UP

1шт.

48

07281-00609

CLAMP

SN: 2001-UP

2шт.

49

09481-02400

SWITCH

SN: 2001-UP

1шт.

Выбрано товаров: 53