Запчасти Komatsu GD300A-1 РЕГУЛИР. ОТВАЛ ТРУБЫ(№-) ОПЦИОННЫЕ КОМПОНЕНТЫ

Схема запчастей Komatsu GD300A-1 - РЕГУЛИР. ОТВАЛ ТРУБЫ(№-) ОПЦИОННЫЕ КОМПОНЕНТЫ
FIT
1:1
100%

Артикул

Название

Примечание

Количество

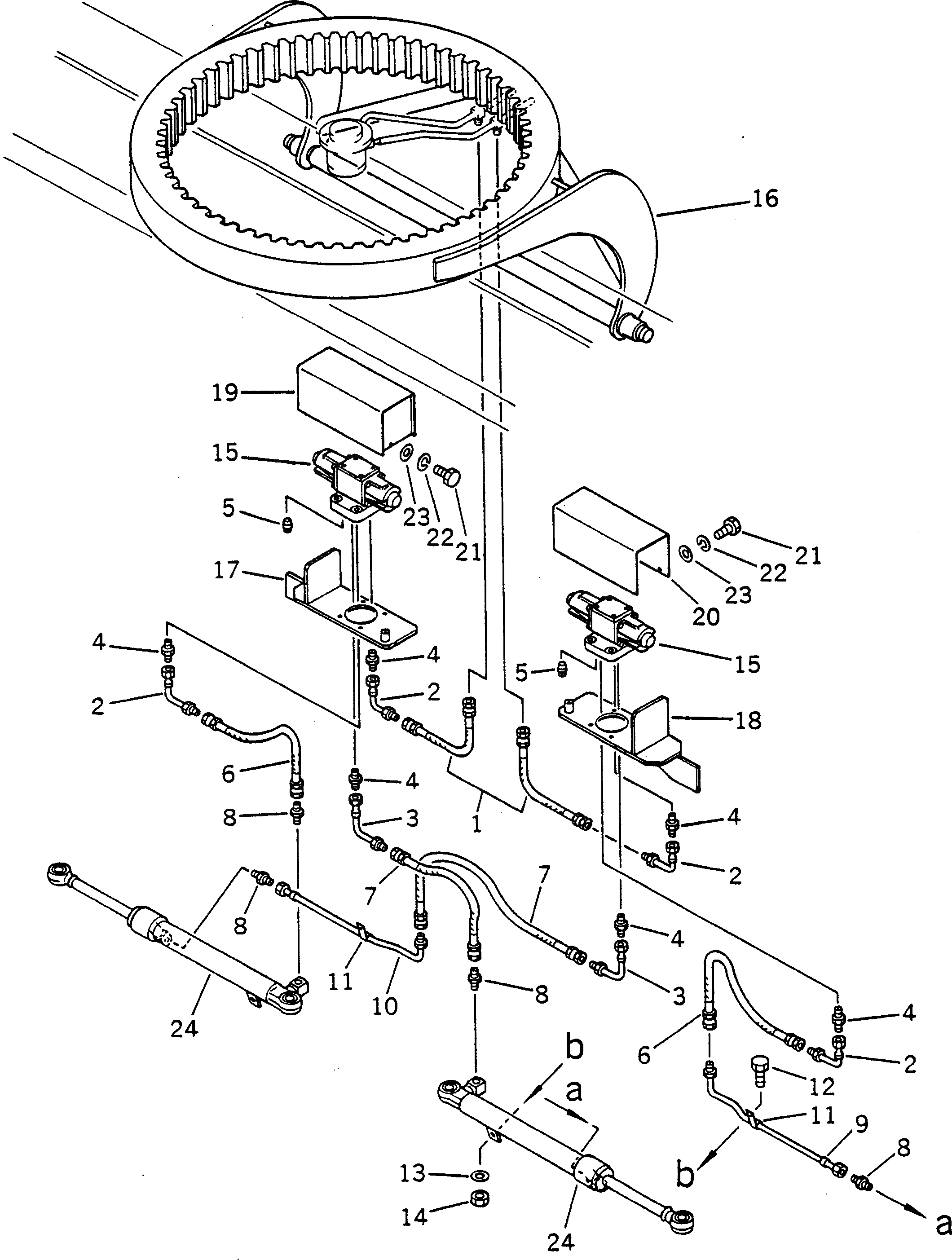
1

07108-20304

HOSE

SN: 2165-UP

2шт.

2

233-60-29780

TUBE

SN: 2165-UP

4шт.

3

233-60-29790

TUBE

SN: 2165-UP

2шт.

4

07238-00422

CONNECTOR

SN: 2165-UP

6шт.

5

07042-20312

PLUG

SN: 2165-UP

2шт.

6

07108-20305

HOSE

SN: 2165-UP

2шт.

7

07108-20307

HOSE

SN: 2165-UP

2шт.

8

07230-10315

UNION

SN: 2165-UP

4шт.

9

237-60-18260

TUBE

SN: 2165-UP

1шт.

10

237-60-18270

TUBE

SN: 2165-UP

1шт.

11

233-60-29850

CLIP

SN: 2165-UP

2шт.

12

01010-50820

BOLT

SN: 2165-UP

2шт.

13

01643-50823

WASHER

SN: 2001-UP

2шт.

14

01598-00809

NUT

SN: 2001-UP

2шт.

15

237-61-11100

SOLENOID VALVE ASS'Y

SN: 2001-UP

2шт.

16

237-60-18210

SUPPORT,(MODIFIED PART)

SN: 2165-UP

1шт.

17

237-60-18220

BRACKET,L.H. (WELDED)

SN: 2165-UP

1шт.

18

237-60-18230

BRACKET,R.H. (WELDED)

SN: 2165-UP

1шт.

19

237-60-18240

COVER,L.H.

SN: 2165-UP

1шт.

20

237-60-18250

COVER,R.H.

SN: 2165-UP

1шт.

21

01010-50610

BOLT

SN: 2001-UP

6шт.

22

01602-20619

WASHER,SPRING

SN: 2001-UP

6шт.

23

01643-30623

WASHER

SN: 2165-UP

6шт.

24

237-63-43100

CYLINDER ASS'Y,L.H.

SN: 2165-UP

1шт.

|24

237-63-43200

CYLINDER ASS'Y,R.H.

SN: 2165-UP

1шт.

Выбрано товаров: 25