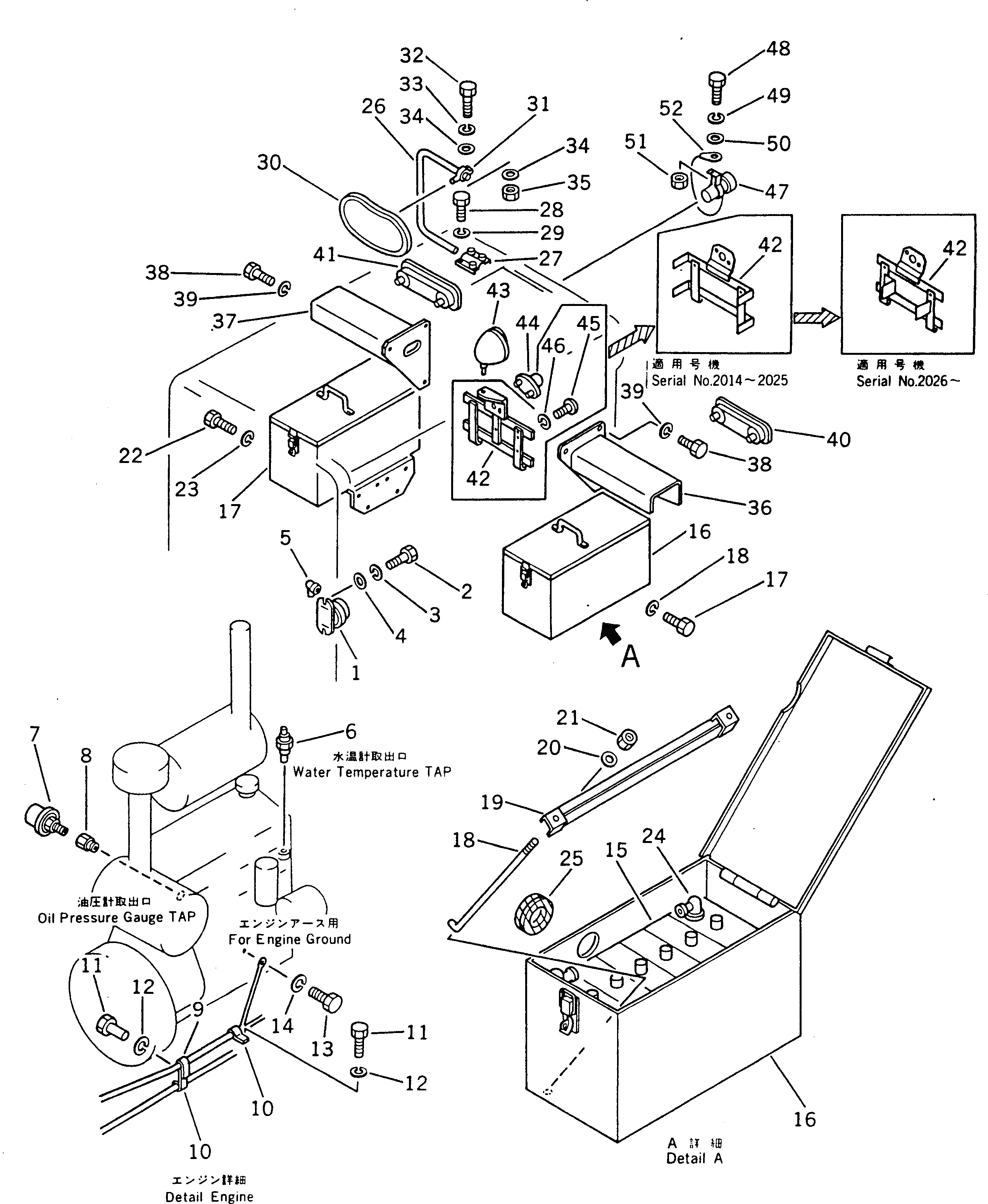
Запчасти Komatsu GD300A-1 ЭЛЕКТРИКА (ЗАДН.) КОМПОНЕНТЫ ДВИГАТЕЛЯ И ЭЛЕКТРИКА

Схема запчастей Komatsu GD300A-1 - ЭЛЕКТРИКА (ЗАДН.) КОМПОНЕНТЫ ДВИГАТЕЛЯ И ЭЛЕКТРИКА
FIT
1:1
100%

Артикул

Название

Примечание

Количество

1

237-06-15250

RELAY,BATTERY RELAY

SN: 2001-UP

1шт.

2

01010-50830

BOLT

SN: 2001-UP

2шт.

3

01602-20825

WASHER,SPRING

SN: 2001-UP

2шт.

4

01640-20816

WASHER

SN: 2001-UP

2шт.

5

08038-06031

CAP

SN: 2001-UP

2шт.

6

237-06-15120

SENSOR,WATER TEMPERATURE

SN: 2001-UP

1шт.

7

232-06-52461

SENSOR,OIL PRESSURE

SN: 2165-UP

1шт.

|7

0

SENSOR,OIL PRESSURE

SN: 2001-2164

1шт.

8

238-06-14310

NIPPLE

SN: 2001-UP

1шт.

9

08036-02514

CLIP

SN: 2001-UP

4шт.

10

08036-11214

CLIP

SN: 2001-UP

11шт.

11

01010-31016

BOLT

SN: 2001-UP

16шт.

12

01602-01030

WASHER,SPRING

SN: 2001-UP

16шт.

13

01010-31016

BOLT

SN: 2001-UP

1шт.

14

01602-01030

WASHER,SPRING

SN: 2001-UP

1шт.

15

08000-32212

BATTERY (115E41R),(FOR JAPAN)

SN: 2001-UP

2шт.

|15

08000-41212

BATTERY (115E41R),(EXCEPT JAPAN)

SN: 2001-UP

2шт.

|15

203-09-21120

BATTERY,(COLD TERRAIN SPEC.)

SN: 2001-UP

2шт.

16

237-06-12112

BOX,L.H.

SN: 2001-UP

1шт.

|16

237-806-4110

BOX,L.H. (COLD TERRAIN SPEC.)

SN: 2001-UP

1шт.

17

237-06-12212

BOX,R.H.

SN: 2001-UP

1шт.

|17

237-806-4120

BOX,R.H. (COLD TERRAIN SPEC.)

SN: 2001-UP

1шт.

18

236-06-22150

ROD

SN: 2001-UP

4шт.

|18

237-806-4140

ROD,(COLD TERRAIN SPEC.)

SN: 2001-UP

4шт.

19

237-06-12120

SUPPORT

SN: 2001-UP

2шт.

|19

237-806-4130

SUPPORT,(COLD TERRAIN SPEC.)

SN: 2001-UP

2шт.

20

01640-21016

WASHER

SN: 2001-UP

4шт.

21

01580-01008

NUT

SN: 2001-UP

8шт.

22

01010-31020

BOLT

SN: 2001-UP

12шт.

23

01602-01030

WASHER,SPRING

SN: 2001-UP

12шт.

24

232-06-11970

CAP

SN: 2001-UP

4шт.

25

08037-03614

GROMMET

SN: 2001-UP

2шт.

26

237-06-14230

STAY

SN: 2001-UP

1шт.

27

232-06-15131

BRACKET

SN: 2001-UP

1шт.

28

01010-51040

BOLT

SN: 2001-UP

4шт.

29

01602-21030

WASHER,SPRING

SN: 2001-UP

4шт.

30

08174-10001

MIRROR

SN: 2001-UP

1шт.

31

232-06-15151

PIVOT

SN: 2001-UP

1шт.

32

01010-30825

BOLT

SN: 2001-UP

1шт.

33

01602-00825

WASHER,SPRING

SN: 2001-UP

1шт.

34

01643-30823

WASHER

SN: 2001-UP

2шт.

35

01580-00806

NUT

SN: 2001-UP

1шт.

36

233-06-14260

BRACKET,L.H.

SN: 2001-UP

1шт.

37

233-06-14250

BRACKET,R.H.

SN: 2001-UP

1шт.

38

01010-30816

BOLT

SN: 2001-UP

6шт.

39

01602-00825

WASHER,SPRING

SN: 2001-UP

6шт.

40

237-06-13350

COMBINATION LAMP A.,L.H.

SN: 2001-UP

1шт.

|40

237-06-13360

LENS

SN: 2001-UP

1шт.

|40

08104-02420

BULB¤ 25/10W

SN: 2001-UP

1шт.

|40

08105-02420

BULB¤ 25W

SN: 2001-UP

1шт.

|40

08111-02430

BULB¤ 3W

SN: 2001-UP

1шт.

41

237-06-13340

COMBINATION LAMP A.,R.H.

SN: 2001-UP

1шт.

|41

237-06-13360

LENS

SN: 2001-UP

1шт.

|41

08104-02420

BULB¤ 25/10W

SN: 2001-UP

1шт.

|41

08105-02420

BULB¤ 25W

SN: 2001-UP

1шт.

|41

08111-02430

BULB¤ 3W

SN: 2001-UP

1шт.

42

232-06-15240

BRACKET

SN: 2026-UP

1шт.

|42

232-06-15216

BRACKET

SN: 2014-2025

1шт.

|42

232-06-15215

BRACKET

SN: 2001-2013

1шт.

43

08138-02400

LAMP ASS'Y,BACK-UP

SN: 2001-UP

1шт.

|43

08138-00006

LENS

SN: 2001-UP

1шт.

|43

08105-02420

BULB¤ 25W

SN: 2001-UP

1шт.

44

08137-12400

LAMP,LICENSE PLATE

SN: 2001-UP

1шт.

|44

08110-12410

BULB¤ 12W

SN: 2001-UP

1шт.

45

01220-30616

SCREW

SN: 2001-2013

3шт.

46

01602-00619

WASHER,SPRING

SN: 2001-2013

3шт.

47

08165-22400

BUZZER,BACK

SN: 2001-UP

1шт.

48

01010-31025

BOLT

SN: 2001-UP

1шт.

49

01602-01030

WASHER,SPRING

SN: 2001-UP

1шт.

50

01640-21016

WASHER

SN: 2001-UP

1шт.

51

01580-01008

NUT

SN: 2001-UP

1шт.

52

234-806-6520

WIRE

SN: 2001-UP

1шт.

Выбрано товаров: 72