Запчасти Komatsu GD300A-1 ПРЯМ.IONAL ТРАНСМИССИЯ (/) СИЛОВАЯ ПЕРЕДАЧА

Схема запчастей Komatsu GD300A-1 - ПРЯМ.IONAL ТРАНСМИССИЯ (/) СИЛОВАЯ ПЕРЕДАЧА
FIT
1:1
100%

Артикул

Название

Примечание

Количество

|1

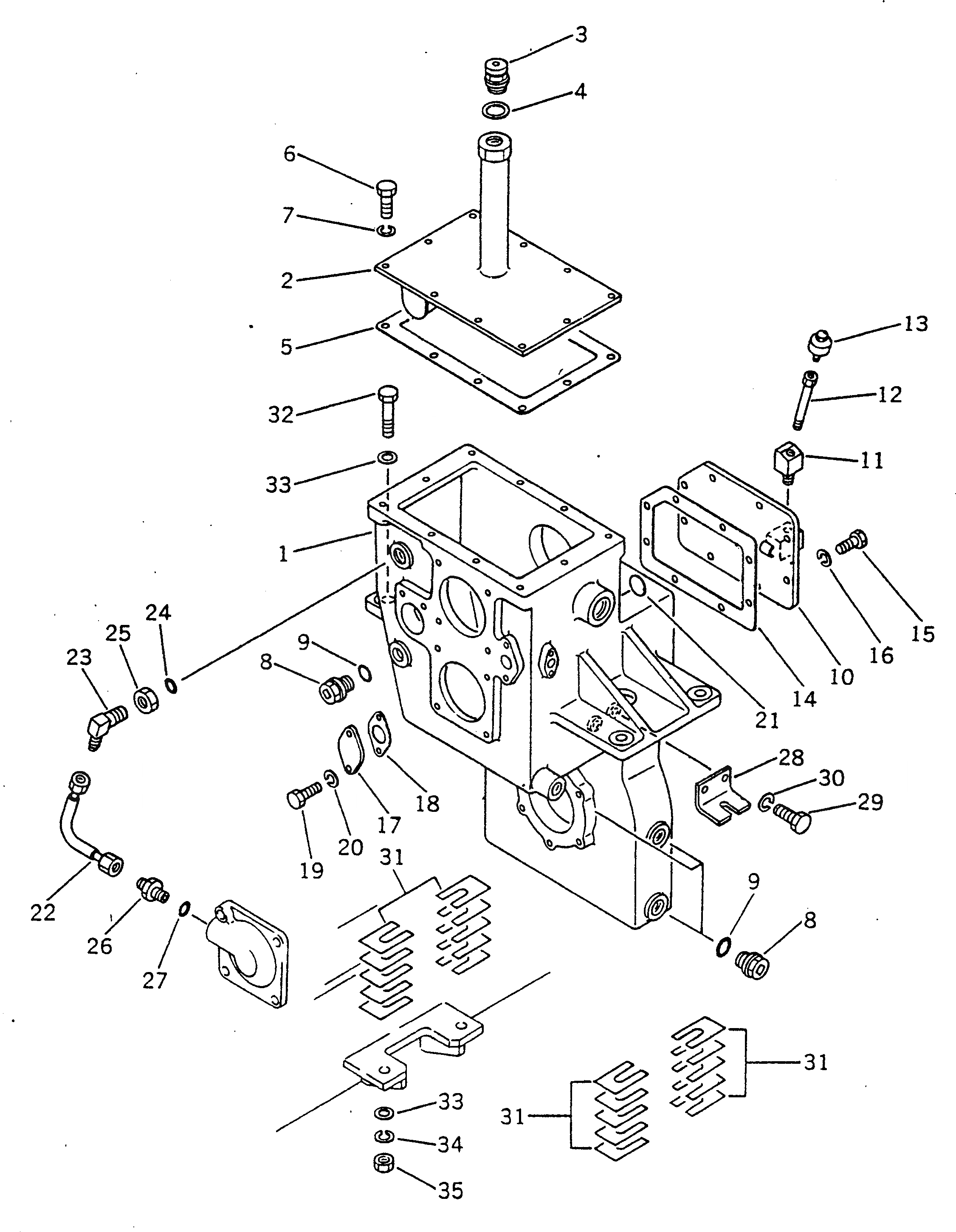
237-14-00120

TRANSMISSION ASS'Y

SN: 2001-UP

1шт.

|$$2

THIS ASSEMBLY CONSISTS OF ALL PARTS SHOWN IN FIGS.241 TO 244.

-1шт.

1

237-14-13111

CASE

SN: 2001-UP

1шт.

2

237-14-12121

COVER

SN: 2001-UP

1шт.

3

232-23-11220

BREATHER

SN: 2001-UP

1шт.

4

07003-13036

GASKET (KIT)

SN: .-UP

1шт.

|4

0

GASKET (KIT)

SN: 2001-.

1шт.

5

237-14-12131

GASKET (KIT)

SN: 2001-UP

1шт.

6

01010-31025

BOLT

SN: 2001-UP

10шт.

7

01602-01030

WASHER,SPRING

SN: 2001-UP

10шт.

8

07044-12412

PLUG

SN: 2001-UP

4шт.

9

07002-12434

O-RING (KIT)

SN: 2001-UP

4шт.

10

237-14-12140

COVER

SN: 2001-UP

1шт.

11

237-14-12960

NIPPLE

SN: 2001-UP

1шт.

12

237-14-12950

NIPPLE

SN: 2001-UP

1шт.

13

07030-00252

BREATHER

SN: 2001-UP

1шт.

14

237-14-12150

GASKET (KIT)

SN: 2001-UP

1шт.

15

01010-31230

BOLT

SN: 2001-UP

8шт.

16

01602-01236

WASHER,SPRING

SN: 2001-UP

8шт.

17

237-14-12770

PLATE

SN: 2001-UP

1шт.

18

234-14-22460

GASKET (KIT)

SN: 2001-UP

1шт.

19

01010-31025

BOLT

SN: 2001-UP

2шт.

20

01602-01030

WASHER,SPRING

SN: 2001-UP

2шт.

21

07046-13020

PLUG

SN: 2001-UP

1шт.

22

237-14-13220

TUBE

SN: 2001-UP

1шт.

23

237-14-13210

ELBOW

SN: 2001-UP

1шт.

24

07002-12434

O-RING (KIT)

SN: 2001-UP

1шт.

25

07239-12410

NUT

SN: 2001-UP

1шт.

26

07230-10315

UNION

SN: 2001-UP

1шт.

27

07002-12034

O-RING (KIT)

SN: 2001-UP

1шт.

28

237-14-13120

PLATE

SN: 2001-UP

1шт.

29

01010-31025

BOLT

SN: 2001-UP

2шт.

30

01602-01030

WASHER,SPRING

SN: 2001-UP

2шт.

31

237-14-00140

SHIM ASS'Y

SN: 2001-UP

2шт.

|31

0

SHIM¤ 0.1MM

SN: 2001-UP

2шт.

|31

0

SHIM¤ 0.1MM

SN: 2001-UP

4шт.

|31

0

SHIM¤ 0.2MM

SN: 2001-UP

6шт.

|31

0

SHIM¤ 0.4MM

SN: 2001-UP

2шт.

32

01010-31660

BOLT

SN: 2001-UP

4шт.

33

01643-31645

WASHER

SN: 2001-UP

8шт.

34

01602-01648

WASHER,SPRING

SN: 2001-UP

4шт.

35

01580-01613

NUT

SN: 2001-UP

4шт.

Выбрано товаров: 42