Запчасти Komatsu GD300A-1 ТОРМОЗ. ГЛАВН. ЦИЛИНДР СДВОЕНН. ПРИВОД И КОЛЕСА

Схема запчастей Komatsu GD300A-1 - ТОРМОЗ. ГЛАВН. ЦИЛИНДР СДВОЕНН. ПРИВОД И КОЛЕСА
FIT
1:1
100%

Артикул

Название

Примечание

Количество

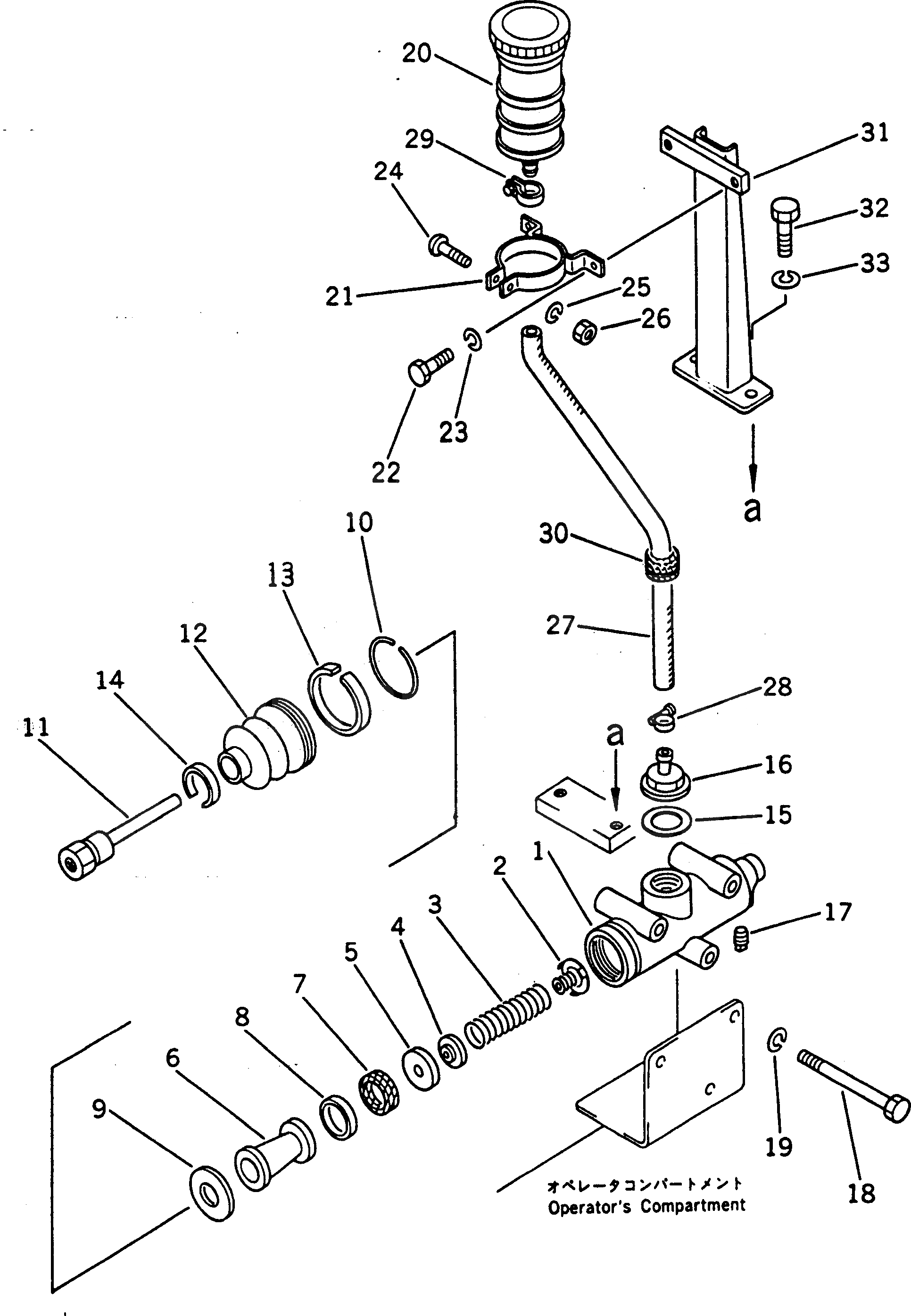
|1

232-43-13102

MASTER CYLINDER A.

SN: 2001-UP

1шт.

1

232-43-13211

CYLINDER

SN: 2001-UP

1шт.

2

232-43-13230

VALVE (KIT)

SN: 2001-UP

1шт.

3

232-43-13240

SPRING

SN: 2001-UP

1шт.

4

232-43-13250

RETAINER

SN: 2001-UP

1шт.

5

232-43-13260

CUP

SN: 2001-UP

1шт.

|6

232-43-00111

PISTON ASS'Y (KIT)

SN: 2001-UP

1шт.

6

0

PISTON

SN: 2001-UP

1шт.

7

0

CUP

SN: 2001-UP

1шт.

8

0

RING,PISTON

SN: 2001-UP

1шт.

9

232-43-13310

STOPPER

SN: 2001-UP

1шт.

10

232-43-13320

WIRE,STOP

SN: 2001-UP

1шт.

11

232-43-13332

ROD,PUSH

SN: 2001-UP

1шт.

12

232-43-13340

BOOT (KIT)

SN: 2001-UP

1шт.

13

232-43-13360

CLAMP

SN: 2001-UP

1шт.

14

232-43-13350

CLAMP

SN: 2001-UP

1шт.

15

232-43-13390

GASKET (KIT)

SN: 2001-UP

1шт.

16

232-43-13381

CONNECTOR

SN: 2001-UP

1шт.

17

07042-00108

PLUG

SN: 2001-UP

1шт.

18

01010-31095

BOLT

SN: 2001-UP

3шт.

19

01602-01030

WASHER,SPRING

SN: 2001-UP

3шт.

20

232-43-13600

RESERVOIR ASS'Y

SN: 2001-UP

1шт.

21

232-43-13440

BRACKET

SN: 2001-UP

1шт.

22

01010-30812

BOLT

SN: 2001-UP

2шт.

23

01602-00825

WASHER,SPRING

SN: 2001-UP

2шт.

24

01220-40530

SCREW

SN: 2001-UP

1шт.

25

01601-00513

WASHER,SPRING

SN: 2001-UP

1шт.

26

01580-00504

NUT

SN: 2001-UP

1шт.

27

237-43-13160

TUBE

SN: 2001-UP

1шт.

28

232-43-13450

CLAMP

SN: 2001-UP

1шт.

29

236-04-21190

CLIP

SN: 2001-UP

1шт.

30

08037-01610

GROMMET

SN: 2001-UP

1шт.

31

237-43-13150

BRACKET

SN: 2001-UP

1шт.

32

01010-31020

BOLT

SN: 2001-UP

2шт.

33

01602-01030

WASHER,SPRING

SN: 2001-UP

2шт.

Выбрано товаров: 35