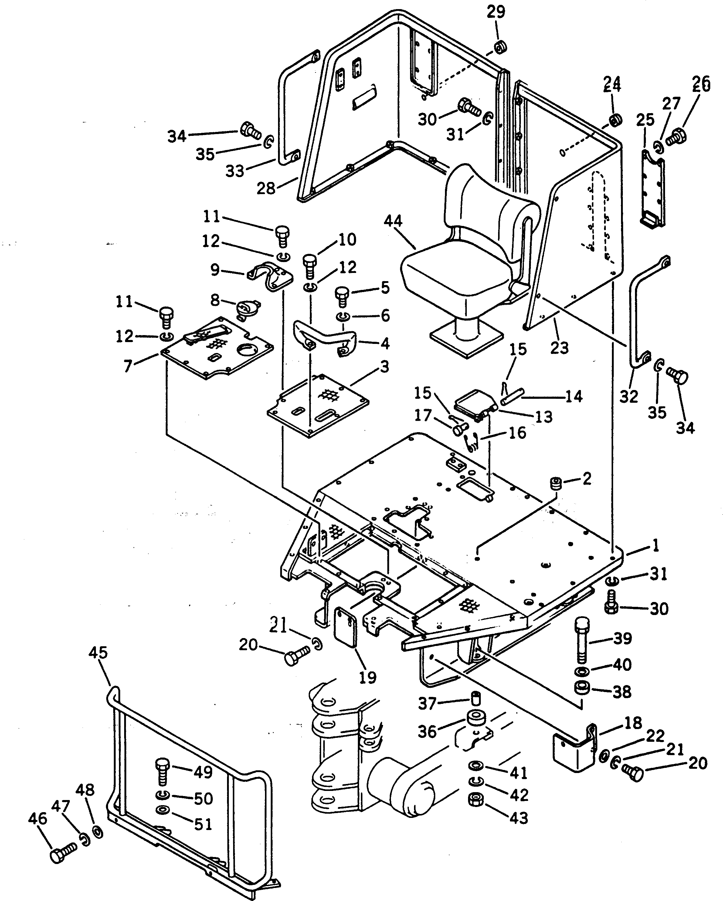
Запчасти Komatsu GD300A-1 КАБИНА ОПЕРАТОРА РАМА И ЧАСТИ КОРПУСА

Схема запчастей Komatsu GD300A-1 - КАБИНА ОПЕРАТОРА РАМА И ЧАСТИ КОРПУСА
FIT
1:1
100%

Артикул

Название

Примечание

Количество

1

237-54-11111

FRAME,FLOOR

SN: 2001-UP

1шт.

2

08037-03614

GROMMET

SN: 2062-UP

1шт.

|2

0

GROMMET

SN: 2001-2061

1шт.

3

237-54-11121

PLATE

SN: 2001-UP

1шт.

4

237-54-11240

STEP

SN: 2001-UP

1шт.

5

01010-31020

BOLT

SN: 2001-UP

1шт.

6

01602-01030

WASHER,SPRING

SN: 2001-UP

1шт.

7

237-54-11131

PLATE

SN: 2001-UP

1шт.

|7

236-54-21171

PEDAL,ACCELERATOR

SN: 2001-UP

1шт.

8

237-54-11250

COVER

SN: 2001-UP

1шт.

9

237-54-11171

COVER

SN: 2062-UP

1шт.

|9

0

COVER

SN: 2001-2061

1шт.

10

01010-31025

BOLT

SN: 2001-UP

1шт.

11

01010-31020

BOLT

SN: 2001-UP

13шт.

12

01602-01030

WASHER,SPRING

SN: 2001-UP

14шт.

13

237-54-11151

COVER

SN: 2001-UP

1шт.

14

237-54-11160

PIN

SN: 2001-UP

1шт.

15

04050-11610

PIN,COTTER

SN: 2001-UP

4шт.

16

131-54-11150

SPRING

SN: 2001-UP

1шт.

17

04205-10616

PIN

SN: 2001-UP

2шт.

18

237-54-11180

COVER

SN: 2001-UP

1шт.

19

237-54-11190

COVER

SN: 2001-UP

1шт.

20

01010-31020

BOLT

SN: 2001-UP

4шт.

21

01602-01030

WASHER,SPRING

SN: 2001-UP

4шт.

22

01640-21016

WASHER

SN: 2001-UP

2шт.

23

237-54-11211

GUARD,L.H.

SN: 2001-UP

1шт.

24

08037-01610

GROMMET

SN: 2001-UP

1шт.

25

237-54-11231

PLATE

SN: 2001-UP

1шт.

26

01010-30616

BOLT

SN: 2001-UP

6шт.

27

01602-00619

WASHER,SPRING

SN: 2001-UP

6шт.

28

237-54-11220

GUARD,R.H.

SN: 2001-UP

1шт.

29

08037-01008

GROMMET

SN: 2001-UP

1шт.

30

01010-31225

BOLT

SN: 2001-UP

16шт.

31

01602-01236

WASHER,SPRING

SN: 2001-UP

16шт.

32

234-54-11361

HAND RAIL,L.H.

SN: 2001-UP

1шт.

33

234-54-11371

HAND RAIL,R.H.

SN: 2001-UP

1шт.

34

01010-31020

BOLT

SN: 2001-UP

4шт.

35

01602-01030

WASHER,SPRING

SN: 2001-UP

4шт.

36

237-54-11280

CUSHION

SN: 2001-UP

4шт.

37

234-54-11470

COLLAR

SN: 2001-UP

4шт.

38

237-54-11270

CUSHION

SN: 2001-UP

4шт.

39

01010-31695

BOLT

SN: 2001-UP

4шт.

40

234-54-11480

PLATE

SN: 2001-UP

4шт.

41

01640-21626

WASHER

SN: 2001-UP

4шт.

42

01602-01648

WASHER,SPRING

SN: 2001-UP

4шт.

43

01580-01613

NUT

SN: 2001-UP

4шт.

44

232-57-00012

SEAT ASS'Y

SN: 2001-UP

1шт.

45

237-54-11330

GUARD,(EXCEPT JAPAN)

SN: 2001-UP

1шт.

46

01010-31025

BOLT,(EXCEPT JAPAN)

SN: 2001-UP

6шт.

47

01602-01030

WASHER,SPRING¤ (EXCEPT JAPAN)

SN: 2001-UP

6шт.

48

01640-21016

WASHER,(EXCEPT JAPAN)

SN: 2001-UP

6шт.

49

01010-31230

BOLT,(EXCEPT JAPAN)

SN: 2001-UP

2шт.

50

01602-01236

WASHER,SPRING¤ (EXCEPT JAPAN)

SN: 2001-UP

2шт.

51

01640-21223

WASHER,(EXCEPT JAPAN)

SN: 2001-UP

2шт.

Выбрано товаров: 54