Запчасти Komatsu 6D95L-1DD-M БЛОК ЦИЛИНДРОВ(№8-) БЛОК ЦИЛИНДРОВ

Схема запчастей Komatsu 6D95L-1DD-M - БЛОК ЦИЛИНДРОВ(№8-) БЛОК ЦИЛИНДРОВ
FIT
1:1
100%

Артикул

Название

Примечание

Количество

|1

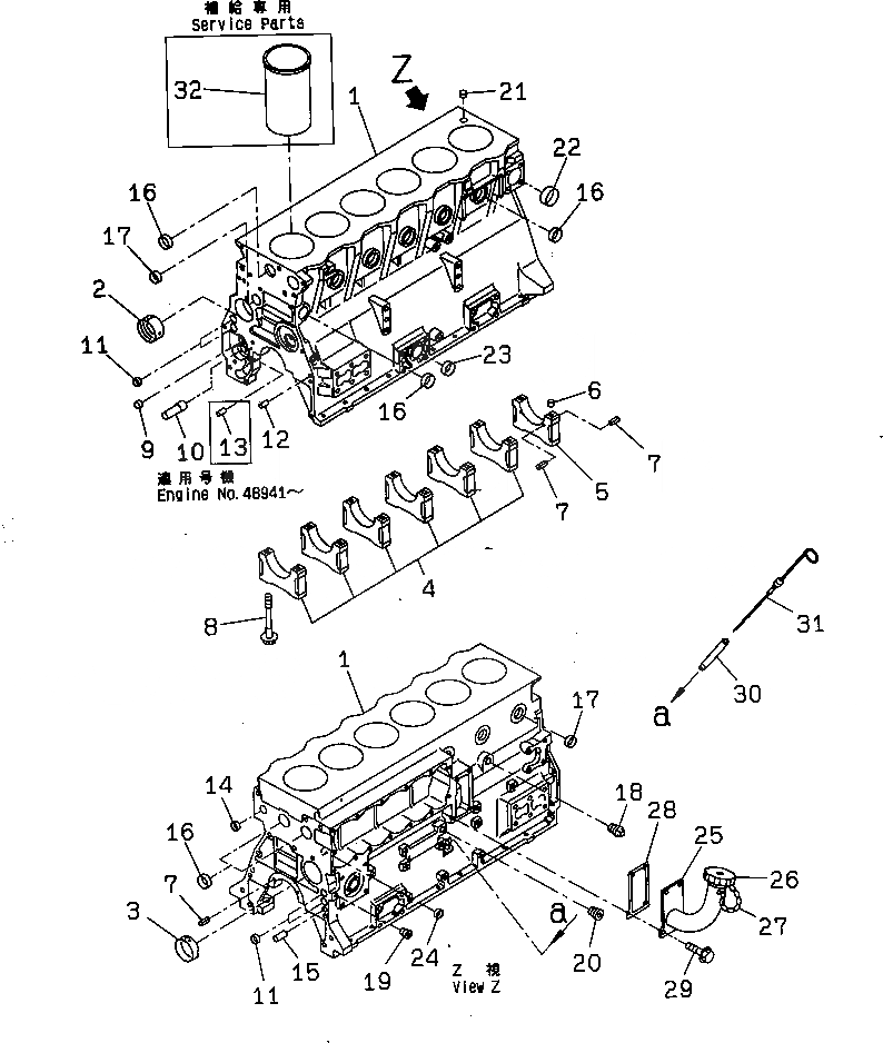
6206-21-1102

CYLINDER BLOCK ASS'Y

SN: 48941-UP

1шт.

|1

0

CYLINDER BLOCK ASS'Y

SN: 35281-48940

1шт.

|$$3

(6206-21-1102{6206-51-1201)}

-1шт.

1

0

BLOCK,CYLINDER

SN: 48941-UP

1шт.

|1

0

BLOCK,CYLINDER

SN: 35281-48940

1шт.

2

6204-21-1410

BUSHING,CAMSHAFT

SN: 35281-UP

1шт.

3

6206-21-1420

BUSHING,CAMSHAFT

SN: 35281-UP

3шт.

4

0

CAP,MAIN METAL¤ NO.1¤2¤3¤4¤5¤6

SN: 35281-UP

6шт.

5

0

CAP,MAIN METAL¤ NO.7

SN: 35281-UP

1шт.

6

6141-21-1530

RING,DOWEL

SN: 35281-UP

2шт.

7

04025-00408

PIN,SPRING

SN: 35281-UP

6шт.

8

6204-21-1610

BOLT,MAIN CAP

SN: 35281-UP

14шт.

9

6204-51-1711

BUSHING,OIL PUMP

SN: 48941-UP

1шт.

|9

0

BUSHING,OIL PUMP

SN: 35281-48940

1шт.

10

6204-51-1620

SHAFT,OIL PUMP

SN: 35281-UP

1шт.

11

07046-41810

PLUG

SN: 48941-UP

4шт.

|11

07046-21810

PLUG

SN: 35281-48940

4шт.

12

04020-00820

PIN,DOWEL

SN: 35281-UP

2шт.

13

6136-52-1620

PIN,DOWEL¤ OIL PUMP

SN: 48941-UP

1шт.

14

07046-42216

PLUG

SN: 48941-UP

1шт.

|14

07046-42010

PLUG

SN: 35281-48940

1шт.

15

04020-01228

PIN,DOWEL

SN: 35281-UP

2шт.

16

07046-43016

PLUG

SN: 48941-UP

9шт.

|16

07046-43016

PLUG

SN: 35281-48940

7шт.

17

07046-42516

PLUG

SN: 48941-UP

7шт.

|17

07046-42516

PLUG

SN: 35281-48940

6шт.

18

07042-10312

PLUG

SN: 48941-UP

1шт.

|18

0

PLUG

SN: 35281-48940

1шт.

19

07043-50108

PLUG

SN: 35281-UP

5шт.

20

07043-50211

PLUG

SN: 35281-UP

1шт.

21

6140-21-1130

BUSHING,DOWEL

SN: 35281-UP

2шт.

22

07046-44016

PLUG

SN: 35281-UP

1шт.

23

07046-23016

PLUG

SN: 35281-UP

1шт.

24

07046-41810

PLUG,(WITHOUT OIL COOLER)

SN: 35281-UP

2шт.

25

6206-21-7310

FILLER,OIL

SN: 35281-UP

1шт.

26

6136-21-7120

CAP ASS'Y

SN: 35281-UP

1шт.

|26

6136-21-7180

GASKET

SN: 35281-UP

1шт.

27

6136-21-7190

CHAIN

SN: 35281-UP

1шт.

28

6206-21-6810

GASKET (K2)

SN: 35281-UP

1шт.

29

01435-20816

BOLT

SN: 35281-UP

4шт.

30

6204-21-5410

GUIDE,OIL GAUGE

SN: 35281-UP

1шт.

31

6206-21-5340

GAUGE,OIL

SN: 35281-UP

1шт.

32

6207-21-2110

LINER (MARK A),CYLINDER

SN: 35281-UP

-2шт.

|32

6207-21-2120

LINER (MARK B),CYLINDER

SN: 35281-UP

-2шт.

|1

6206-21-1102

CYLINDER BLOCK ASS'Y

SN: 48941-UP

1шт.

|1

0

CYLINDER BLOCK ASS'Y

SN: 35281-48940

1шт.

|$$3

(6206-21-1102{6206-51-1201)}

-1шт.

1

0

BLOCK,CYLINDER

SN: 48941-UP

1шт.

|1

0

BLOCK,CYLINDER

SN: 35281-48940

1шт.

2

6204-21-1410

BUSHING,CAMSHAFT

SN: 35281-UP

1шт.

3

6206-21-1420

BUSHING,CAMSHAFT

SN: 35281-UP

3шт.

4

0

CAP,MAIN METAL¤ NO.1¤2¤3¤4¤5¤6

SN: 35281-UP

6шт.

5

0

CAP,MAIN METAL¤ NO.7

SN: 35281-UP

1шт.

6

6141-21-1530

RING,DOWEL

SN: 35281-UP

2шт.

7

04025-00408

PIN,SPRING

SN: 35281-UP

6шт.

8

6204-21-1610

BOLT,MAIN CAP

SN: 35281-UP

14шт.

9

6204-51-1711

BUSHING,OIL PUMP

SN: 48941-UP

1шт.

|9

0

BUSHING,OIL PUMP

SN: 35281-48940

1шт.

10

6204-51-1620

SHAFT,OIL PUMP

SN: 35281-UP

1шт.

11

07046-41810

PLUG

SN: 48941-UP

4шт.

|11

07046-21810

PLUG

SN: 35281-48940

4шт.

12

04020-00820

PIN,DOWEL

SN: 35281-UP

2шт.

13

6136-52-1620

PIN,DOWEL¤ OIL PUMP

SN: 48941-UP

1шт.

14

07046-42216

PLUG

SN: 48941-UP

1шт.

|14

07046-42010

PLUG

SN: 35281-48940

1шт.

15

04020-01228

PIN,DOWEL

SN: 35281-UP

2шт.

16

07046-43016

PLUG

SN: 48941-UP

9шт.

|16

07046-43016

PLUG

SN: 35281-48940

7шт.

17

07046-42516

PLUG

SN: 48941-UP

7шт.

|17

07046-42516

PLUG

SN: 35281-48940

6шт.

18

07042-10312

PLUG

SN: 48941-UP

1шт.

|18

0

PLUG

SN: 35281-48940

1шт.

19

07043-50108

PLUG

SN: 35281-UP

5шт.

20

07043-50211

PLUG

SN: 35281-UP

1шт.

21

6140-21-1130

BUSHING,DOWEL

SN: 35281-UP

2шт.

22

07046-44016

PLUG

SN: 35281-UP

1шт.

23

07046-23016

PLUG

SN: 35281-UP

1шт.

24

07046-41810

PLUG,(WITHOUT OIL COOLER)

SN: 35281-UP

2шт.

25

6206-21-7310

FILLER,OIL

SN: 35281-UP

1шт.

26

6136-21-7120

CAP ASS'Y

SN: 35281-UP

1шт.

|26

6136-21-7180

GASKET

SN: 35281-UP

1шт.

27

6136-21-7190

CHAIN

SN: 35281-UP

1шт.

28

6206-21-6810

GASKET (K2)

SN: 35281-UP

1шт.

29

01435-20816

BOLT

SN: 35281-UP

4шт.

30

6204-21-5410

GUIDE,OIL GAUGE

SN: 35281-UP

1шт.

31

6206-21-5340

GAUGE,OIL

SN: 35281-UP

1шт.

32

6207-21-2110

LINER (MARK A),CYLINDER

SN: 35281-UP

-2шт.

|32

6207-21-2120

LINER (MARK B),CYLINDER

SN: 35281-UP

-2шт.

Выбрано товаров: 88