Запчасти Komatsu GD305A-1 SCARIFIER РАБОЧЕЕ ОБОРУДОВАНИЕ

Схема запчастей Komatsu GD305A-1 - SCARIFIER РАБОЧЕЕ ОБОРУДОВАНИЕ
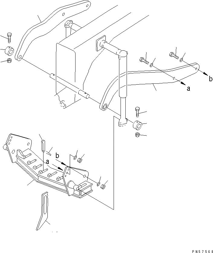
1
2
3
4
5
6
7
8
9
10
10
11
12
12
13
13
14
14
15
16
17
FIT
1:1
100%

Артикул

Название

Примечание

Количество

1

23E-71-11510

BODY

SN: 6734-UP

1шт.

2

23E-71-11140

DRAWBAR,L.H.

SN: 6734-UP

1шт.

3

23E-71-11130

DRAWBAR,R.H.

SN: 6734-UP

1шт.

4

232-70-13220

BOLT

SN: 6734-UP

2шт.

5

01643-33080

WASHER

SN: 6734-UP

2шт.

6

01580-12722

NUT

SN: 6734-UP

2шт.

7

01643-32780

WASHER

SN: 6734-UP

2шт.

8

01010-82490

BOLT

SN: 6734-UP

2шт.

9

01580-12419

NUT

SN: 6734-UP

2шт.

10

01643-32460

WASHER

SN: 6734-UP

4шт.

11

23E-71-11110

SHAFT

SN: 6734-UP

1шт.

12

232-70-13210

COLLAR

SN: 6734-UP

2шт.

13

01011-51400

BOLT

SN: 6734-UP

2шт.

14

01598-11415

NUT

SN: 6734-UP

2шт.

15

09271-00045

TOOTH

SN: 6734-UP

7шт.

16

232-70-13142

WEDGE

SN: 6734-UP

7шт.

17

04050-18050

PIN,COTTER

SN: 6734-UP

7шт.

Выбрано товаров: 17