Запчасти Komatsu GD305A-1A КОНСОЛЬН. БЛОК (/) СИСТЕМА УПРАВЛЕНИЯ

Схема запчастей Komatsu GD305A-1A - КОНСОЛЬН. БЛОК (/) СИСТЕМА УПРАВЛЕНИЯ
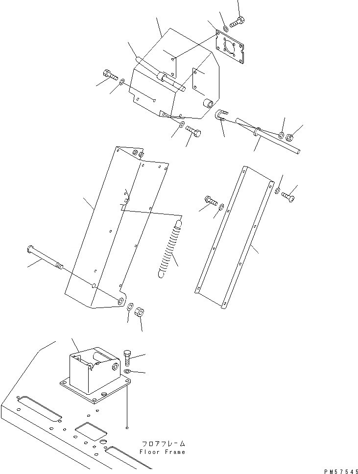
1
2
3
4
5
6
7
8
9
10
11
12
12
13
14
15
16
16
17
18
19
20
20
21
22
23
FIT
1:1
100%

Артикул

Название

Примечание

Количество

1

23D-43-21151

BRACKET

SN: 6734-UP

1шт.

2

01010-51225

BOLT

SN: 6734-UP

4шт.

3

01643-31232

WASHER

SN: 6734-UP

4шт.

4

23D-43-21163

BOX

SN: 6734-UP

1шт.

5

23D-43-21960

PIN

SN: 6734-UP

1шт.

6

233-43-27860

NUT

SN: 6734-UP

1шт.

7

01643-31845

WASHER

SN: 6734-UP

1шт.

8

130-43-12144

SPRING

SN: 6734-UP

1шт.

9

23D-43-21321

COVER

SN: 6734-UP

1шт.

10

01220-40816

SCREW

SN: 6734-UP

7шт.

11

01220-40814

SCREW

SN: 6734-UP

1шт.

12

01643-30823

WASHER

SN: 6734-UP

8шт.

13

23E-43-18770

BOX,CONSOLE

SN: 6734-UP

1шт.

14

01010-51020

BOLT

SN: 6734-UP

3шт.

15

01010-51016

BOLT

SN: 6734-UP

1шт.

16

01643-31032

WASHER

SN: 6734-UP

4шт.

17

23D-43-18550

PLATE

SN: 6734-UP

1шт.

18

01010-51025

BOLT

SN: 6734-UP

4шт.

19

01643-31032

WASHER

SN: 6734-UP

4шт.

20

23D-43-21522

SHAFT

SN: 6734-UP

2шт.

21

07283-22236

CLIP

SN: 6734-UP

2шт.

22

01580-11008

NUT

SN: 6734-UP

4шт.

23

01643-31032

WASHER

SN: 6734-UP

4шт.

Выбрано товаров: 23